TOP
|
特許
|
意匠
|
商標
特許ウォッチ
Twitter
他の特許を見る
10個以上の画像は省略されています。
公開番号
2025164518
公報種別
公開特許公報(A)
公開日
2025-10-30
出願番号
2024068537
出願日
2024-04-19
発明の名称
スイッチシステム
出願人
個人
代理人
個人
主分類
H04B
1/38 20150101AFI20251023BHJP(電気通信技術)
要約
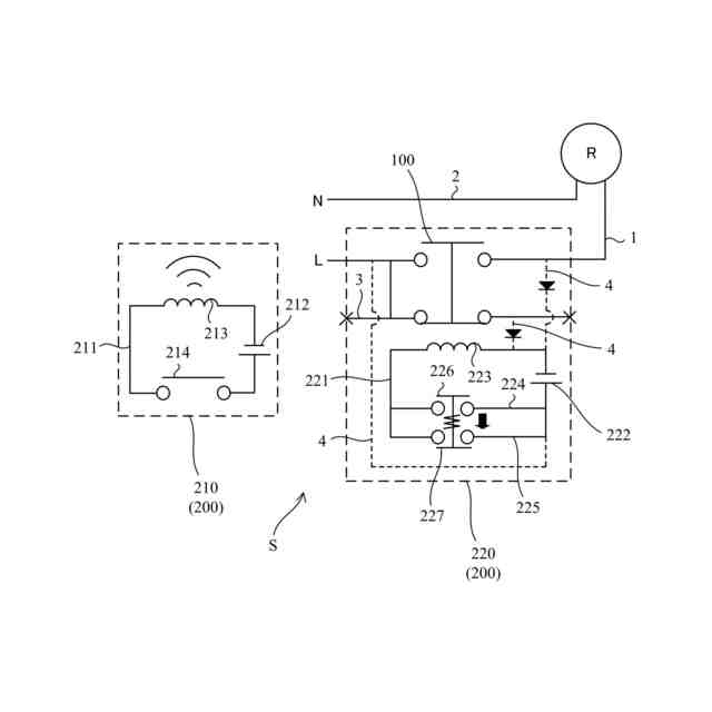
【課題】配線の通電状態を複数の場所から容易に切り替えることができるスイッチシステム及びこれに用いられる送受信装置を提供する。
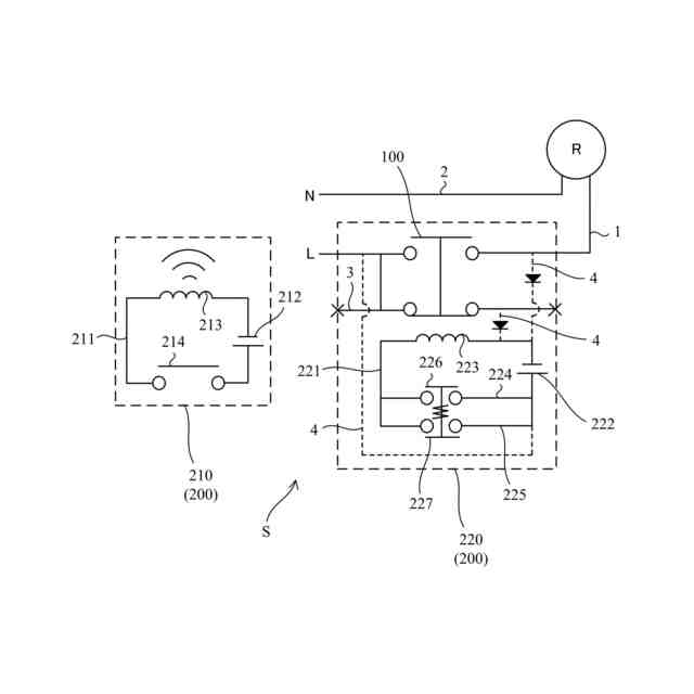
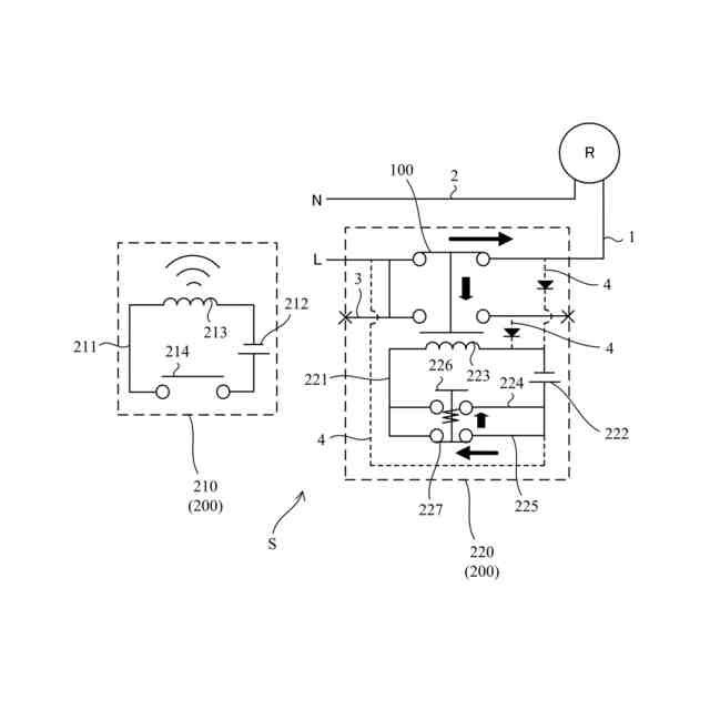
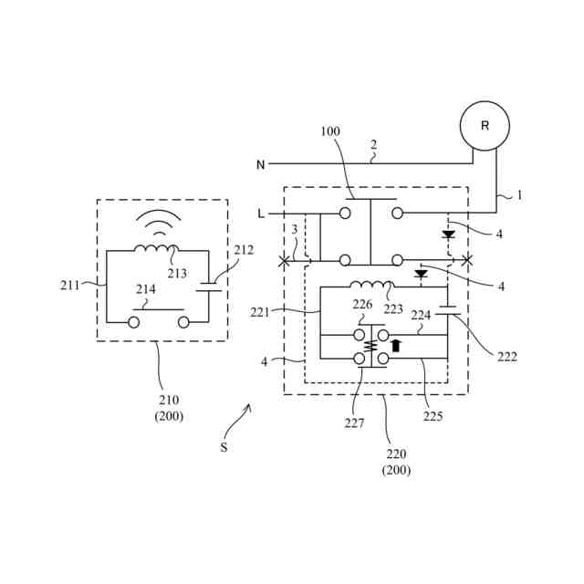
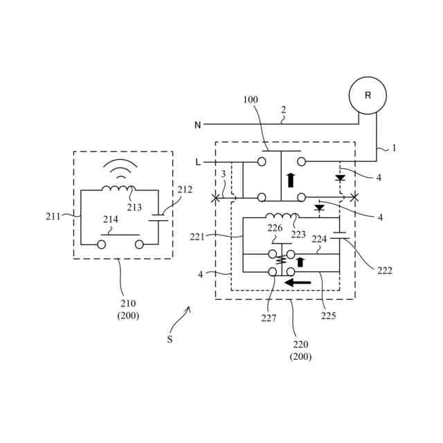
【解決手段】スイッチ100は、配線1に対してオン状態とオフ状態との間で変位可能である。送受信装置200は、スイッチ100を変位させる。送受信装置200は、送信機210と、受信機220とを含む。送信機210は、ユーザによる操作に基づいて電波を送信する。受信機220は、送信機210から受信する電波に基づいてスイッチ100をオン状態とオフ状態との間で変位させる。
【選択図】 図1
特許請求の範囲
【請求項1】
配線の通電状態を切り替えるためのスイッチシステムであって、
前記配線に対してオン状態とオフ状態との間で変位可能な物理スイッチと、
前記物理スイッチを変位させる送受信装置とを備え、
前記送受信装置は、
ユーザによる操作に基づいて電波を送信する送信機と、
前記送信機から受信する電波に基づいて前記物理スイッチをオン状態とオフ状態との間で変位させる受信機とを含む、スイッチシステム。
続きを表示(約 890 文字)
【請求項2】
前記受信機は、前記送信機から受信する電波に基づいて通電し、電磁力により前記物理スイッチをオン状態とオフ状態との間で変位させる第1回路を有する、請求項1に記載のスイッチシステム。
【請求項3】
前記受信機は、ユーザによる操作に基づいて前記物理スイッチをオン状態とオフ状態との間で変位させる操作部を有する、請求項1に記載のスイッチシステム。
【請求項4】
前記受信機は、前記操作部に対する操作に基づいて通電し、電磁力により前記物理スイッチをオン状態とオフ状態との間で変位させる第2回路を有する、請求項3に記載のスイッチシステム。
【請求項5】
前記物理スイッチは、ユーザによる操作に基づいて当該物理スイッチをオン状態とオフ状態との間で変位させる操作部を有する、請求項1に記載のスイッチシステム。
【請求項6】
前記受信機は、前記配線からの電力供給により充電される蓄電池を有する、請求項1に記載のスイッチシステム。
【請求項7】
前記物理スイッチが前記配線に対してオフ状態のときに、当該物理スイッチによりオン状態となる分岐用回路をさらに備える、請求項1に記載のスイッチシステム。
【請求項8】
配線の通電状態を切り替えるためのスイッチシステムであって、
前記配線に対してオン状態とオフ状態との間で切替可能な主回路と、
ユーザによる操作に基づいて電波を送信する送信機とを備え、
前記主回路は、前記送信機から受信する電波に基づいて当該主回路をオン状態とオフ状態との間で切り替える受信機を含む、スイッチシステム。
【請求項9】
前記主回路をオン状態とオフ状態との間で切り替える副回路をさらに備える、請求項8に記載のスイッチシステム。
【請求項10】
前記主回路が前記配線に対してオフ状態のときに、当該主回路によりオン状態となる分岐用回路をさらに備える、請求項9に記載のスイッチシステム。
(【請求項11】以降は省略されています)
発明の詳細な説明
【技術分野】
【0001】
本発明は、配線の通電状態を切り替えるためのスイッチシステム及びこれに用いられる送受信機に関するものである。
続きを表示(約 1,600 文字)
【背景技術】
【0002】
例えば住宅の玄関などに設置される電球に対する通電状態を切り替えるために、スイッチシステムが用いられる。具体的には、玄関に設置された物理スイッチをユーザが操作することにより、電球に対する通電状態をオン状態とオフ状態との間で切り替えることができる。この種のスイッチシステムには、一般的には2路スイッチが用いられ、物理スイッチの切替操作に基づいて、電球に対する通電状態がオン状態又はオフ状態に交互に切り替わるようになっている。
【0003】
上記のようなスイッチシステムにおいて、例えば玄関だけでなく廊下などの別の場所から玄関の電球に対する通電状態を切り替えたい場合には、当該別の場所に物理スイッチが増設される。このとき、2路スイッチを3路スイッチに交換し、さらに別の3路スイッチを追加する作業が必要となる(例えば、下記特許文献1参照)。また、さらに別の場所に物理スイッチを増設し、合計3か所から玄関の電球に対する通電状態を切り替えたい場合には、2つの3路スイッチの間に4路スイッチを追加する作業が必要となる。
【先行技術文献】
【特許文献】
【0004】
特開2007-227346号公報
【発明の概要】
【発明が解決しようとする課題】
【0005】
上記のように、玄関の電球に対する通電状態を複数の場所から切り替えたい場合には、3路スイッチ又は4路スイッチを追加することで対応することができる。しかしながら、物理スイッチの増設に伴い、配線を増やす必要があるため、部品代が高くなるという問題がある。また、天井又は壁面などの入り組んだ場所に配線を増やす場合には、増設工事が難しくなるため、工事費も高くなるという問題がある。このような問題は、玄関の電球に限らず、各種の負荷が接続された配線の通電状態を切り替えるスイッチシステムにおいて生じ得る問題である。
【0006】
本発明は、上記実情に鑑みてなされたものであり、配線の通電状態を複数の場所から容易に切り替えることができるスイッチシステム及びこれに用いられる送受信装置を提供することを目的とする。
【課題を解決するための手段】
【0007】
(1)本発明に係るスイッチシステムは、配線の通電状態を切り替えるためのスイッチシステムであって、物理スイッチと、送受信装置とを備える。前記物理スイッチは、前記配線に対してオン状態とオフ状態との間で変位可能である。前記送受信装置は、前記物理スイッチを変位させる。前記送受信装置は、送信機と、受信機とを含む。前記送信機は、ユーザによる操作に基づいて電波を送信する。前記受信機は、前記送信機から受信する電波に基づいて前記物理スイッチをオン状態とオフ状態との間で変位させる。
【0008】
このような構成によれば、送信機に対するユーザの操作により、受信機を介して物理スイッチを変位させ、配線の通電状態をオン状態とオフ状態との間で切り替えることができる。したがって、複数の送信機を使用すれば、ユーザが各送信機を操作して電波を送信することにより、配線の通電状態を複数の場所から容易に切り替えることができる。
【0009】
(2)前記受信機は、前記送信機から受信する電波に基づいて通電し、電磁力により前記物理スイッチをオン状態とオフ状態との間で変位させる第1回路を有していてもよい。
【0010】
このような構成によれば、送信機に対するユーザの操作により、受信機を介して電磁力により物理スイッチを変位させ、配線の通電状態をオン状態とオフ状態との間で切り替えることができる。
(【0011】以降は省略されています)
この特許をJ-PlatPat(特許庁公式サイト)で参照する
関連特許
個人
イヤーマフ
7日前
個人
監視カメラシステム
16日前
個人
スイッチシステム
1日前
キーコム株式会社
光伝送線路
17日前
WHISMR合同会社
収音装置
1か月前
個人
スキャン式車載用撮像装置
16日前
サクサ株式会社
中継装置
22日前
サクサ株式会社
中継装置
23日前
キヤノン株式会社
撮像装置
2か月前
アイホン株式会社
電気機器
1か月前
個人
ワイヤレスイヤホン対応耳掛け
1か月前
キヤノン電子株式会社
画像読取装置
1日前
株式会社リコー
画像形成装置
2か月前
サクサ株式会社
無線通信装置
22日前
サクサ株式会社
無線システム
21日前
サクサ株式会社
無線通信装置
22日前
キヤノン電子株式会社
画像読取装置
1か月前
株式会社リコー
画像形成装置
2か月前
株式会社リコー
画像形成装置
9日前
キヤノン電子株式会社
画像読取装置
15日前
ヤマハ株式会社
放音制御装置
1日前
個人
映像表示装置、及びARグラス
2日前
キヤノン株式会社
撮像システム
1か月前
日本電気株式会社
海底分岐装置
17日前
個人
発信機及び発信方法
21日前
株式会社NTTドコモ
端末
16日前
株式会社NTTドコモ
端末
16日前
株式会社NTTドコモ
端末
16日前
株式会社NTTドコモ
端末
17日前
株式会社松平商会
携帯機器カバー
1か月前
有限会社フィデリックス
マイクロフォン
28日前
株式会社小糸製作所
画像照射装置
1か月前
株式会社JVCケンウッド
通信システム
28日前
シャープ株式会社
端末装置
14日前
パテントフレア株式会社
超高速電波通信
1か月前
沖電気工業株式会社
画像形成装置
24日前
続きを見る
他の特許を見る