TOP
|
特許
|
意匠
|
商標
特許ウォッチ
Twitter
他の特許を見る
公開番号
2025164375
公報種別
公開特許公報(A)
公開日
2025-10-30
出願番号
2024068316
出願日
2024-04-19
発明の名称
放音制御装置
出願人
ヤマハ株式会社
代理人
個人
主分類
H04R
1/34 20060101AFI20251023BHJP(電気通信技術)
要約
【課題】特定周波数帯域の音が所望の音圧で聴取されるように調整する放音制御装置を提供する。
【解決手段】放音制御装置200は、スピーカユニット100の振動板120の放音面に先端部が対向する先細り形状のディフューザ230と、振動板120の振動軸Zを囲み、振動板120から放射される音を通過させてディフューザ230側に伝搬させる開口部201を有する第1ウェーブガイド210と、を有し、開口部201の振動軸Zからの距離が振動軸Z廻りの円周方向に沿って変化する。
【選択図】図1
特許請求の範囲
【請求項1】
振動板の放音面に先端部が対向する先細り形状のディフューザと、
前記振動板の振動軸を囲み、前記振動板から放射される音を通過させて前記ディフューザ側に伝搬させる第1開口部を有する第1ウェーブガイドと、を有し、
前記第1の開口部の前記振動軸からの距離が前記振動軸廻りの円周方向に沿って変化する放音制御装置。
続きを表示(約 310 文字)
【請求項2】
前記振動軸の方向において、前記振動板と前記ディフューザの間に前記第1ウェーブガイドの前記第1開口部が位置する請求項1に記載の放音制御装置。
【請求項3】
前記第1開口部は、前記振動軸からの距離が増加する切り欠き部を有する請求項1に記載の放音制御装置。
【請求項4】
前記第1開口部を囲む第2開口部を有し、前記第1ウェーブガイドを囲む第2ウェーブガイドを有する請求項1に記載の放音制御装置。
【請求項5】
前記第1ウェーブガイドにおいて2つの切り欠き部に挟まれた領域と、前記ディフューザとを連結する連結部を有する請求項3に記載の放音制御装置。
発明の詳細な説明
【技術分野】
【0001】
この発明は、スピーカの指向性を制御する放音制御装置に関する。
続きを表示(約 1,200 文字)
【背景技術】
【0002】
振動板を振動させるダイナミック型スピーカ等のスピーカは、正面方向の指向性が強い。このため、電子楽器等では、スピーカの正面にディフューザと呼ばれる放音制御装置が配置され、スピーカから放音される音が拡散される。例えば特許文献1に開示された放音制御装置では、先端を振動板に対向させた円錐形状のディフューザがスピーカの正面に配置される。
【先行技術文献】
【特許文献】
【0003】
実用新案登録第3241907号
【発明の概要】
【発明が解決しようとする課題】
【0004】
ところで、スピーカには、例えば中音域再生専用スピーカなど、特定周波数帯域の音が所望の音圧で聴取されることが要求されるスピーカがある。しかしながら、上述の従来の放音制御装置は、特定周波数帯域の音が所望の音圧で聴取されるように調整することが困難であるという問題があった。
【0005】
この発明は以上のような事情に鑑みてなされたものであり、特定周波数帯域の音が所望の音圧で聴取されるように調整することが可能な放音制御装置を提供することを目的とする。
【課題を解決するための手段】
【0006】
この発明は、振動板の放音面に先端部が対向する先細り形状のディフューザと、前記振動板の振動軸を囲み、前記振動板から放射される音を通過させて前記ディフューザ側に伝搬させる第1開口部を有する第1ウェーブガイドと、を有し、前記第1の開口部の前記振動軸からの距離が前記振動軸廻りの円周方向に沿って変化する放音制御装置を提供する。
【図面の簡単な説明】
【0007】
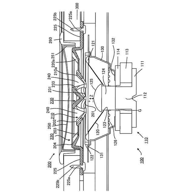
この発明の一実施形態である放音制御装置およびスピーカユニットの断面図である。
同放音制御装置の平面図である。
同放音制御装置の断面図である。
【発明を実施するための形態】
【0008】
以下、図面を参照し、この発明の実施形態について説明する。
【0009】
図1は、この発明の一実施形態である放音制御装置200と、同放音制御装置200が取り付けられたスピーカユニット100の構成を示す断面図である。この放音制御装置200およびスピーカユニット100は、鍵盤電子楽器の筐体内に設置される。
【0010】
スピーカユニット100は、軸対称形状、具体的にはコーン形状の振動板120を振動軸Z方向に振動させて放音を行う装置である。本実施形態におけるスピーカユニット100は、中音域再生用のスコーカである。また、本実施形態では、振動板120の中心軸(あるいは対称軸)が振動軸Zである。なお、以下では、図1における上側を+Z側または+Z方向、下側を-Z側または-Z方向と表記する場合がある。後述する図2および図3においても同様である。
(【0011】以降は省略されています)
この特許をJ-PlatPat(特許庁公式サイト)で参照する
関連特許
ヤマハ株式会社
リード
2か月前
ヤマハ株式会社
鍵盤装置
3か月前
ヤマハ株式会社
放音制御装置
1日前
ヤマハ株式会社
イヤーピース
2か月前
ヤマハ株式会社
ドライバユニット
29日前
ヤマハ株式会社
弦楽器用の支持装置
3か月前
ヤマハ株式会社
音処理方法および音処理装置
1か月前
ヤマハ株式会社
音処理装置および音処理方法
1か月前
ヤマハ株式会社
音処理方法および音処理装置
1か月前
ヤマハ株式会社
音処理システム及び音処理方法
28日前
ヤマハ株式会社
収音制御方法および収音制御装置
28日前
ヤマハ株式会社
音声処理方法および音声処理装置
28日前
ヤマハ株式会社
駆動装置、音響装置および車両用ドア
1か月前
ヤマハ株式会社
解錠管理方法および解錠管理システム
28日前
ヤマハ株式会社
音信号処理方法および音信号処理装置
28日前
ヤマハ株式会社
データ処理方法およびデータ処理装置
2か月前
ヤマハ株式会社
信号処理の方法、プログラムおよび装置
29日前
ヤマハ株式会社
画像処理方法、画像処理装置及びプログラム
1か月前
ヤマハ株式会社
スピーカ装置、音信号処理方法及びプログラム
28日前
ヤマハ株式会社
情報処理システム、情報処理方法およびプログラム
2か月前
ヤマハ株式会社
情報処理システム、情報処理方法およびプログラム
2か月前
ヤマハ株式会社
情報処理システム、動画編集方法およびプログラム
2か月前
ヤマハ株式会社
情報処理システム、情報処理方法およびプログラム
2か月前
ヤマハ株式会社
情報処理システム、情報処理方法およびプログラム
2か月前
ヤマハ株式会社
情報処理方法、情報処理システムおよびプログラム
1か月前
ヤマハ株式会社
情報処理方法、情報処理システムおよびプログラム
28日前
ヤマハ株式会社
パネル
2か月前
ヤマハ株式会社
定位提供方法、定位提供システムおよび定位提供プログラム
2か月前
ヤマハ株式会社
再生データ生成方法
16日前
ヤマハ株式会社
スクリーンユニット
1か月前
ヤマハ株式会社
オーディオデータ処理装置、推論装置、及びオーディオデータ処理方法
28日前
ヤマハ株式会社
音響信号処理装置、楽器、音響信号処理方法および音響信号処理プログラム
4日前
ヤマハ株式会社
演奏操作装置および鍵盤楽器
28日前
ヤマハ株式会社
音の処理方法及び音処理装置
28日前
ヤマハ株式会社
楽器用検出システムおよび楽器
1か月前
ヤマハ株式会社
情報処理装置、及びその制御方法
1か月前
続きを見る
他の特許を見る