TOP
|
特許
|
意匠
|
商標
特許ウォッチ
Twitter
他の特許を見る
公開番号
2025163580
公報種別
公開特許公報(A)
公開日
2025-10-29
出願番号
2024066991
出願日
2024-04-17
発明の名称
映像表示装置、及びARグラス
出願人
個人
代理人
主分類
H04N
7/18 20060101AFI20251022BHJP(電気通信技術)
要約
【課題】視野が広く情報表示が見易いARグラスを提供する。
【解決手段】被写体像を結像する撮影光学系と、前記撮影光学系により結像された被写体像を電気信号に変換する撮像素子と、前記撮像素子からの電気信号を映像信号に変換する映像処理部と、前記映像処理部により変換された映像信号を表示する表示部と、前記表示部に表示された映像を等倍に変倍して観察するための接眼レンズと、を備えた映像表示装置を片側の目に装着し、もう一方の目は透過で視認するARグラスを提供する。
【選択図】図1
特許請求の範囲
【請求項1】
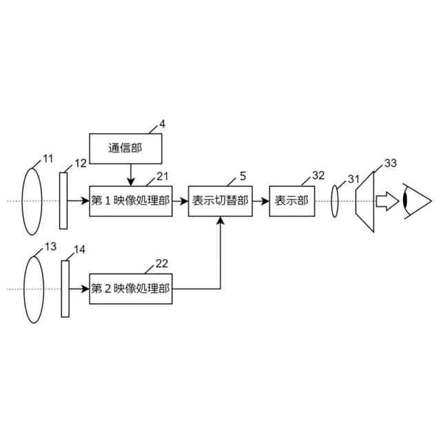
被写体像を結像する第1撮影光学系と、
前記第1撮影光学系により結像された被写体像を電気信号に変換する第1撮像素子と、
前記第1撮像素子からの電気信号を映像信号に変換する第1映像処理部と、
前記映像処理部により変換された映像信号を表示する表示部と、
前記表示部に表示された映像を視野と等倍に変倍して観察するための接眼レンズと、を備えた映像表示装置。
続きを表示(約 520 文字)
【請求項2】
請求項1に記載の映像表示装置は、外部機器から無線通信により情報を取得する通信部をさらに有し、
前記第1映像処理部は変換した映像信号に、前記通信部が取得した情報を重畳することを特徴とする。
【請求項3】
請求項1に記載の映像表示装置は、被写体像を結像する第2撮影光学系と、
前記第2撮影光学系により結像された被写体像を電気信号に変換する第2撮像素子と、
前記第2撮像素子からの電気信号を映像信号に変換する第2映像処理部と、
前記第1映像処理部からの映像と、前記第2映像処理部からの映像とを使用者の指示に基づいて切り替えて前記表示部に出力する表示切替部と、をさらに有することを特徴とする。
【請求項4】
請求項1から3に記載の映像表示装置は、前記通信部は外部機器からの映像情報を取得し、
前記第1映像処理部は、前記通信部から取得した映像情報を、前記表示部で表示可能な映像信号に変換して前記表示部に表示することを特徴とする。
【請求項5】
請求項1から請求項4に記載の映像表示装置を何れか片方の目に固定するフレームを備えたARグラス。
発明の詳細な説明
【技術分野】
【0001】
本発明は、拡張現実を可能にする視野を提供する映像表示装置、及びARグラスに関する。
続きを表示(約 1,200 文字)
【背景技術】
【0002】
近年AR(Augmented Reality)グラスが情報通信端末として広がりつつある。
ARグラスには、光学透過型とビデオ透過型の2種類があり双方利点や欠点がある。
【0003】
光学透過型の一例としては、特許文献1に開示されているようなハーフミラーのスクリーンに映像を投影して現実の視野に情報を重畳表示して拡張現実を実現している。
【0004】
一方ビデオ透過型の一例としては、特許文献2に開示されているように視野全面を覆うHMD(Head Mount Display)にカメラで撮影した映像を表示し、映像上に様々な情報を重畳して表示することで拡張現実を実現している。
【先行技術文献】
【特許文献】
【0005】
特開2021-51230号公報
特許第5329480号公報
【発明の概要】
【発明が解決しようとする課題】
【0006】
光学透過型ARグラスは、ハーフミラーにより現実視野の見え方が暗くなったり、映像を投影する機構の影響で視野の一部が見えづらくなったりと、ARグラス非装着時よりも視野の視認性が低下する。また、環境の影響を受けやすく、投影される映像が見えづらくなる場合がある。
【0007】
ビデオ透過型ARグラスは、リアルな映像が提供できる反面、現実視野を目視しているわけではないので歩いて移動する場合などに不安がある。また、動きが激しい場合、映像酔いなどを生じる惧れがある。さらに、電欠など不具合が生じた場合に、完全に視野が失われてしまうので安全上の問題がある。
【0008】
本発明は、上記の問題に着眼し考案されたものであり、光学透過型、及びビデオ透過型双方の問題を解決し、安全性が高く利便性のよい拡張現実視野を提供する。さらに、視野以外の様々な映像を高画質で視認できるARグラスを提供する。
【課題を解決するための手段】
【0009】
上記課題を解決するために、本発明の映像表示装置の第1の様態は、被写体像を結像する第1撮影光学系と、前記第1撮影光学系により結像された被写体像を電気信号に変換する第1撮像素子と、前記第1撮像素子からの電気信号を映像信号に変換する第1映像処理部と、前記映像処理部により変換された映像信号を表示する表示部と、前記表示部に表示された映像を視野と等倍に変倍して観察するための接眼レンズとを備えて視野と同等の大きさの映像を視認させる。
【0010】
本発明の映像表示装置の第2の様態は、第1の様態に加えて、外部機器から無線通信により情報を取得する通信部をさらに有し、前記第1映像処理部は変換した映像信号に、前記通信部が取得した情報を重畳して表示部に表示する。
(【0011】以降は省略されています)
この特許をJ-PlatPat(特許庁公式サイト)で参照する
関連特許
個人
イヤーマフ
8日前
個人
監視カメラシステム
17日前
個人
スイッチシステム
2日前
キーコム株式会社
光伝送線路
18日前
サクサ株式会社
中継装置
23日前
個人
スキャン式車載用撮像装置
17日前
サクサ株式会社
中継装置
24日前
キヤノン電子株式会社
画像読取装置
2日前
サクサ株式会社
無線通信装置
23日前
株式会社リコー
画像形成装置
10日前
ヤマハ株式会社
放音制御装置
2日前
キヤノン電子株式会社
画像読取装置
16日前
サクサ株式会社
無線システム
22日前
個人
映像表示装置、及びARグラス
3日前
サクサ株式会社
無線通信装置
23日前
個人
発信機及び発信方法
22日前
日本電気株式会社
海底分岐装置
18日前
株式会社NTTドコモ
端末
18日前
シャープ株式会社
端末装置
15日前
株式会社NTTドコモ
端末
17日前
沖電気工業株式会社
画像形成装置
25日前
有限会社フィデリックス
マイクロフォン
29日前
キヤノン電子株式会社
画像処理システム
16日前
株式会社NTTドコモ
端末
17日前
株式会社NTTドコモ
端末
18日前
株式会社NTTドコモ
端末
17日前
沖電気工業株式会社
画像形成装置
1か月前
株式会社JVCケンウッド
通信システム
29日前
ダイハツ工業株式会社
人流取得装置
23日前
技術開発合同会社
電子拡大鏡
3日前
個人
回動アームを構築する関節モジュール
25日前
日本放送協会
広視野角撮像装置
1か月前
日本放送協会
広視野角撮像装置
1か月前
17LIVE株式会社
サーバ及び方法
2日前
株式会社村田製作所
高周波回路
23日前
日本信号株式会社
可視光通信システム
1か月前
続きを見る
他の特許を見る