TOP
|
特許
|
意匠
|
商標
特許ウォッチ
Twitter
他の特許を見る
公開番号
2025158582
公報種別
公開特許公報(A)
公開日
2025-10-17
出願番号
2024061265
出願日
2024-04-05
発明の名称
電流生成回路、半導体装置、電子機器及び車両
出願人
ローム株式会社
代理人
弁理士法人 佐野特許事務所
主分類
G05F
3/24 20060101AFI20251009BHJP(制御;調整)
要約
【課題】低ノイズの微小電流を精度良く生成する。
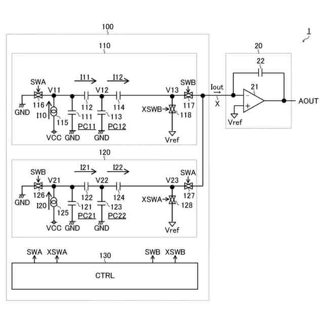
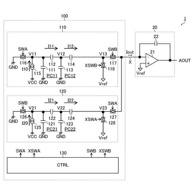
【解決手段】電流生成回路100は、それぞれ基準電流I10及びI20から分流電流I12及びI22を生成する複数の容量ラダー回路110及び120と、複数の容量ラダー回路110及び120を時分割で駆動するコントローラ130と、を備える。電流生成回路100は、複数の容量ラダー回路110及び120からそれぞれ出力される複数の分流電流I12及びI22を足し合わせて出力電流Ioutを生成する。
【選択図】図4
特許請求の範囲
【請求項1】
それぞれ基準電流から分流電流を生成するように構成された複数の容量ラダー回路と、
前記複数の容量ラダー回路を時分割で駆動するように構成されたコントローラと、
を備え、
前記複数の容量ラダー回路からそれぞれ出力される複数の分流電流を足し合わせて出力電流を生成する、電流生成回路。
続きを表示(約 860 文字)
【請求項2】
前記複数の容量ラダー回路は、それぞれ、
前段から入力される電流を並列接続されたキャパシタの容量比に応じて分流して後段に出力するように構成された少なくとも1段の並列容量回路と、
最前段の前記並列容量回路に前記基準電流を出力するように構成された電流源と、
前記コントローラからの指示に応じて最後段の前記並列容量回路から出力される電流を前記分流電流として出力するか前記キャパシタを放電するかを切り替えるように構成されたスイッチ回路と、
を含む、請求項1に記載の電流生成回路。
【請求項3】
前記出力電流は、定電圧ノードに出力される、請求項1に記載の電流生成回路。
【請求項4】
前記出力電流は、1pA以上1000pA未満である、請求項1に記載の電流生成回路。
【請求項5】
入射光に応じた電流信号を生成するように構成された受光回路と、
前記電流信号を積分してアナログ検出信号を生成するように構成された検出回路と、
請求項1~4のいずれかに記載の電流生成回路と、
を備える半導体装置であって、
前記電流生成回路は、前記半導体装置が通常モードとは異なる特定モードであるときに前記電流信号に代えて前記出力電流を前記検出回路に出力する、半導体装置。
【請求項6】
前記特定モードは、前記検出回路が正しく動作しているか否かを診断するための自己診断モードである、請求項5に記載の半導体装置。
【請求項7】
前記アナログ検出信号をデジタル検出信号に変換するように構成されたコンバータと、
前記デジタル検出信号にデジタル信号処理を施すように構成された制御ロジックと、
をさらに備える、請求項5に記載の半導体装置。
【請求項8】
請求項5に記載の半導体装置を備える、電子機器。
【請求項9】
請求項8に記載の電子機器を備える、車両。
発明の詳細な説明
【技術分野】
【0001】
本開示は、電流生成回路、半導体装置、電子機器及び車両に関する。
続きを表示(約 1,100 文字)
【背景技術】
【0002】
電流生成回路は、様々なアプリケーションで利用されている。
【0003】
なお、上記に関連する従来技術の一例としては、特許文献1を挙げることができる。
【先行技術文献】
【特許文献】
【0004】
特開2018-097476号公報
【0005】
[概要]
従来の電流生成回路では、低ノイズの微小電流を精度良く生成することが難しかった。
【0006】
例えば、本開示に係る電流生成回路は、それぞれ基準電流から分流電流を生成するように構成された複数の容量ラダー回路と、前記複数の容量ラダー回路を時分割で駆動するように構成されたコントローラと、を備え、前記複数の容量ラダー回路からそれぞれ出力される複数の分流電流を足し合わせて出力電流を生成する。
【図面の簡単な説明】
【0007】
図1は、電子機器の一構成例を示す図である。
図2は、電流生成回路の第1実施形態を示す図である。
図3は、第1実施形態の電流出力動作を示す図である。
図4は、電流生成回路の第2実施形態を示す図である。
図5は、第2実施形態の電流出力動作を示す図である。
図6は、電流生成回路の第3実施形態を示す図である。
図7は、第3実施形態の電流出力動作を示す図である。
図8は、車両の外観を示す図である。
【0008】
[詳細な説明]
<電子機器>
図1は、電子機器の一構成例を示す図である。本構成例の電子機器Aは、周囲の照度を検出するための手段として半導体装置1を備える。
【0009】
半導体装置1は、入射光を電気信号に変換する照度センサIC[integrated circuit]である。本図に即して述べると、半導体装置1は、受光回路10と、検出回路20と、A/D[analog/ditigal]コンバータ30と、制御ロジック40と、を備える。
【0010】
受光回路10は、入射光に応じた電流信号S1を生成する。電流信号S1は、入射光が強いほど大きくなり、入射光が弱いほど小さくなる。本図に即して述べると、受光回路10は、光電変換素子としてフォトダイオード11を備えてもよい。その場合、フォトダイオード11のカソードは、電流信号S1の印加端に接続される。フォトダイオード11のアノードは、接地端に接続される。
(【0011】以降は省略されています)
この特許をJ-PlatPat(特許庁公式サイト)で参照する
関連特許
ローム株式会社
RAM
10日前
ローム株式会社
RAM
10日前
ローム株式会社
電源装置
10日前
ローム株式会社
光センサ
4日前
ローム株式会社
発振回路
10日前
ローム株式会社
半導体装置
10日前
ローム株式会社
テスト回路
11日前
ローム株式会社
半導体装置
11日前
ローム株式会社
半導体装置
4日前
ローム株式会社
半導体装置
4日前
ローム株式会社
暗号化装置
11日前
ローム株式会社
半導体装置
5日前
ローム株式会社
半導体装置
10日前
ローム株式会社
半導体装置
10日前
ローム株式会社
半導体装置
10日前
ローム株式会社
半導体装置
10日前
ローム株式会社
静電気保護素子
10日前
ローム株式会社
窒化物半導体装置
6日前
ローム株式会社
異常検知システム
10日前
ローム株式会社
検証装置及び検証方法
10日前
ローム株式会社
半導体装置及び補正方法
10日前
ローム株式会社
信号伝達装置、電子機器、車両
6日前
ローム株式会社
信号伝達装置、電子機器、車両
10日前
ローム株式会社
半導体装置、および通信システム
11日前
ローム株式会社
半導体装置、および通信システム
11日前
ローム株式会社
半導体装置及びレギュレータ装置
10日前
ローム株式会社
レギュレータ回路を備えた集積回路
10日前
ローム株式会社
音波処理装置、ソナー装置及び車両
11日前
ローム株式会社
映像処理装置および映像処理システム
10日前
ローム株式会社
パルス幅測定回路、パルス幅の測定方法
10日前
ローム株式会社
半導体回路及び半導体回路のテスト方法
10日前
ローム株式会社
LCDパネル駆動装置、及び液晶表示装置
10日前
ローム株式会社
音波センサ駆動回路、音波センサ及び車両
10日前
ローム株式会社
半導体装置及び半導体装置の動作テスト方法
11日前
ローム株式会社
電流生成回路、半導体装置、電子機器及び車両
3日前
ローム株式会社
レベル電圧生成回路、表示ドライバ及び表示装置
10日前
続きを見る
他の特許を見る