TOP
|
特許
|
意匠
|
商標
特許ウォッチ
Twitter
他の特許を見る
10個以上の画像は省略されています。
公開番号
2025155227
公報種別
公開特許公報(A)
公開日
2025-10-14
出願番号
2024058916
出願日
2024-04-01
発明の名称
信号伝達装置、電子機器、車両
出願人
ローム株式会社
代理人
弁理士法人 佐野特許事務所
主分類
H03K
19/0175 20060101AFI20251006BHJP(基本電子回路)
要約
【課題】絶縁素子を削減する。
【解決手段】信号伝達装置400は、第1ロジック411と、第2ロジック421と、第1ロジック411と第2ロジック421との間で複数組の第1信号ON_IN1/2及び第2信号OFF_IN1/2をそれぞれ絶縁伝達する複数の絶縁素子431~434と、第2ロジック421の指示に応じて複数の出力信号OUT1/2をそれぞれ生成する複数の出力回路422及び423と、を備える。第1ロジック411は、複数組の第1信号ON_IN1/2及び第2信号OFF_IN1/2のうち、相異なる組の信号を複数組み合わせて同時に送信可能である。第2ロジック421は、複数組の第1信号ON_IN1/2及び第2信号OFF_IN1/2のうち、複数の絶縁素子431~434を介して受信した信号の組み合わせに応じた動作を行う。
【選択図】図14
特許請求の範囲
【請求項1】
第1ロジックと、
第2ロジックと、
前記第1ロジックと前記第2ロジックとの間で複数組の第1信号及び第2信号をそれぞれ絶縁伝達するように構成された複数の絶縁素子と、
前記第2ロジックの指示に応じて複数の出力信号をそれぞれ生成するように構成された複数の出力回路と、
を備え、
前記第1ロジックは、複数組の前記第1信号及び前記第2信号のうち、相異なる組の信号を複数組み合わせて同時に送信可能であり、
前記第2ロジックは、複数組の前記第1信号及び前記第2信号のうち、複数の前記絶縁素子を介して受信した信号の組み合わせに応じた動作を行う、信号伝達装置。
続きを表示(約 2,500 文字)
【請求項2】
複数組の前記第1信号及び前記第2信号は、第1組のオン信号及びオフ信号と、第2組のオン信号及びオフ信号と、を含み、
複数の前記出力回路は、前記第2ロジックからの指示に応じて第1出力信号を生成するように構成された第1出力回路と、前記第2ロジックからの指示に応じて第2出力信号を生成するように構成された第2出力回路と、を含む、請求項1に記載の信号伝達装置。
【請求項3】
前記第2ロジックは、前記第1組のオン信号と前記第2組のオン信号を同時に受信したときに前記第1出力信号及び前記第2出力信号をいずれもオン時の論理レベルとし、前記第1組のオフ信号と前記第2組のオフ信号を同時に受信したときに前記第1出力信号及び前記第2出力信号をいずれもオフ時の論理レベルとするように、前記第1出力回路及び前記第2出力回路をそれぞれ制御する、請求項2に記載の信号伝達装置。
【請求項4】
前記第2ロジックは、前記第1組のオン信号と前記第2組のオフ信号を同時に受信したとき又は前記第1組のオフ信号と前記第2組のオン信号を同時に受信したときに、複数の前記絶縁素子を介してパルス駆動信号を受信する第1モードからシリアル通信信号を送受信する第2モードに切り替わる、請求項2に記載の信号伝達装置。
【請求項5】
前記第2ロジックは、前記第1組のオン信号を受信してその余の信号をいずれも受信しないときに前記第1出力信号をオン時の論理レベルとして前記第2出力信号を出力ハイインピーダンス状態とし、前記第1組のオフ信号を受信してその余の信号をいずれも受信しないときに前記第1出力信号をオフ時の論理レベルとして前記第2出力信号を出力ハイインピーダンス状態とし、前記第2組のオン信号を受信してその余の信号をいずれも受信しないときに前記第2出力信号をオン時の論理レベルとして前記第1出力信号を出力ハイインピーダンス状態とし、前記第2組のオフ信号を受信してその余の信号をいずれも受信しないときに前記第2出力信号をオフ時の論理レベルとして前記第1出力信号を出力ハイインピーダンス状態とするように、前記第1出力回路及び前記第2出力回路をそれぞれ制御する、請求項2に記載の信号伝達装置。
【請求項6】
前記第2ロジックは、
前記第1組のオン信号から第1主信号を生成するように構成された第1遅延回路と、
前記第1組のオン信号から第1副信号を生成するように構成された第2遅延回路と、
前記第1組のオフ信号から第2主信号を生成するように構成された第3遅延回路と、
前記第1組のオフ信号から第2副信号を生成するように構成された第4遅延回路と、
前記第2組のオン信号から第3主信号を生成するように構成された第5遅延回路と、
前記第2組のオン信号から第3副信号を生成するように構成された第6遅延回路と、
前記第2組のオフ信号から第4主信号を生成するように構成された第7遅延回路と、
前記第2組のオフ信号から第4副信号を生成するように構成された第8遅延回路と、
を含む、請求項2に記載の信号伝達装置。
【請求項7】
前記第2ロジックは、
前記第1主信号、前記第2副信号、前記第3副信号及び前記第4副信号から第1セット信号を生成するように構成された第1論理ゲートと、
前記第2主信号、前記第1副信号、前記第3副信号及び前記第4副信号から第1リセット信号を生成するように構成された第2論理ゲートと、
前記第3主信号、前記第1副信号、前記第2副信号及び前記第4副信号から第2セット信号を生成するように構成された第3論理ゲートと、
前記第4主信号、前記第1副信号、前記第2副信号及び前記第3副信号から第2リセット信号を生成するように構成された第4論理ゲートと、
前記第1主信号及び前記第3主信号から第3セット信号を生成するように構成された第5論理ゲートと、
前記第2主信号及び前記第4主信号から第3リセット信号を生成するように構成された第6論理ゲートと、
前記第1主信号及び前記第4主信号から又は前記第2主信号及び前記第3主信号から第4セット信号を生成するように構成された第7論理ゲートと、
を含む、請求項6に記載の信号伝達装置。
【請求項8】
前記第2ロジックは、
前記第1セット信号に応じて前記第1出力信号をオン時の論理レベルとして前記第2出力信号を出力ハイインピーダンス状態とし、前記第1リセット信号に応じて前記第1出力信号をオフ時の論理レベルとして前記第2出力信号を出力ハイインピーダンス状態とするように構成された第1フリップフロップと、
前記第2セット信号に応じて前記第2出力信号をオン時の論理レベルとして前記第1出力信号を出力ハイインピーダンス状態とし、前記第2リセット信号に応じて前記第2出力信号をオフ時の論理レベルとして前記第1出力信号を出力ハイインピーダンス状態とするように構成された第2フリップフロップと、
前記第3セット信号に応じて前記第1出力信号及び前記第2出力信号をいずれもオン時の論理レベルとし、前記第3リセット信号に応じて前記第1出力信号及び前記第2出力信号をいずれもオフ時の論理レベルとするように構成された第3フリップフロップと、
前記第4セット信号に応じて前記第2ロジックの動作モードを複数の前記絶縁素子を介してパルス駆動信号を受信する第1モードからシリアル通信信号を送受信する第2モードに切り替え、第4リセット信号に応じて前記第2ロジックの動作モードを前記第2モードから前記第1モードに切り替えるように構成された第4フリップフロップと、
を含む、請求項7に記載の信号伝達装置。
【請求項9】
請求項1~8のいずれかに記載の信号伝達装置を備える、電子機器。
【請求項10】
請求項9に記載の電子機器を備える、車両。
発明の詳細な説明
【技術分野】
【0001】
本開示は、信号伝達装置、電子機器及び車両に関する。
続きを表示(約 2,000 文字)
【背景技術】
【0002】
従来、一次回路系と二次回路系との間を電気的に絶縁しつつ、一次回路系と二次回路系との間で信号を伝達する信号伝達装置は、様々なアプリケーション(電源装置又はモータ駆動装置など)に用いられている。
【0003】
なお、上記に関連する従来技術の一例としては、本願出願人による特許文献1及び2を挙げることができる。
【先行技術文献】
【特許文献】
【0004】
国際公開第2022/070944号
特開2012-134686号公報
【0005】
[概要]
しかしながら、従来の信号伝達装置では、絶縁素子を削減する余地があった。
【0006】
本開示に係る信号伝達装置は、第1ロジックと、第2ロジックと、前記第1ロジックと前記第2ロジックとの間で複数組の第1信号及び第2信号をそれぞれ絶縁伝達するように構成された複数の絶縁素子と、前記第2ロジックの指示に応じて複数の出力信号をそれぞれ生成するように構成された複数の出力回路と、を備え、前記第1ロジックは、複数組の前記第1信号及び前記第2信号のうち、相異なる組の信号を複数組み合わせて同時に送信可能であり、前記第2ロジックは、複数組の前記第1信号及び前記第2信号のうち、複数の前記絶縁素子を介して受信した信号の組み合わせに応じた動作を行う。
【図面の簡単な説明】
【0007】
図1は、信号伝達装置の基本構成を示す図である。
図2は、トランスチップの基本構造を示す図である。
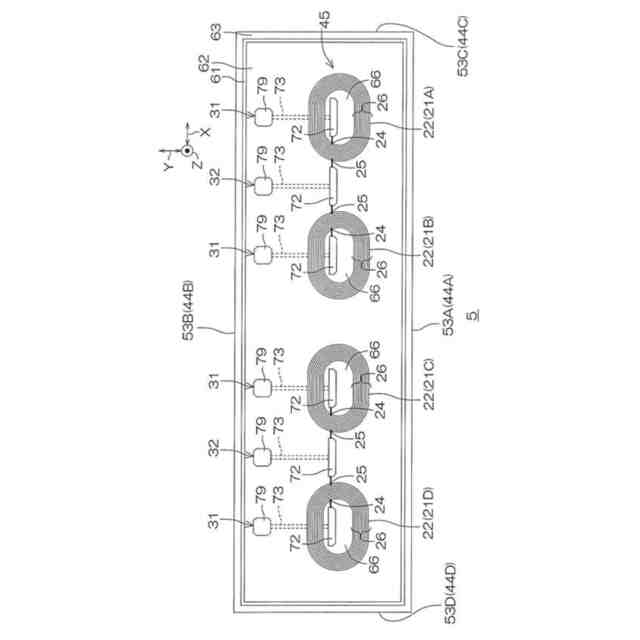
図3は、2チャンネル型のトランスチップとして用いられる半導体装置の斜視図である。
図4は、図3に示す半導体装置の平面図である。
図5は、図3の半導体装置において低電位コイルが形成された層を示す平面図である。
図6は、図3の半導体装置において高電位コイルが形成された層を示す平面図である。
図7は、図6に示すVIII-VIII線に沿う断面図である。
図8は、図7に示す領域XIIIの拡大図(分離構造)を示す図である。
図9は、トランスチップのレイアウト例を模式的に示す図である。
図10は、信号伝達装置の第1実施形態(比較例)を示す図である。
図11は、第1実施形態における第2ロジックの一例を示す図である。
図12は、第1実施形態における出力制御の一例を示す図である。
図13は、CMTI[common mode transient immunity]ノイズキャンセリングの一例を示す図である。
図14は、信号伝達装置の第2実施形態を示す図である。
図15は、第2実施形態における第2ロジックの一例を示す図である。
図16は、第2実施形態における出力制御の一例を示す図である。
図17は、信号伝達装置のSPI通信モードを示す図である。
図18は、車両の外観を示す図である。
【0008】
[詳細な説明]
<信号伝達装置(基本構成)>
図1は、信号伝達装置の基本構成を示す図である。本構成例の信号伝達装置200は、一次回路系200p(VCC1-GND1系)と二次回路系200s(VCC2-GND2系)との間を絶縁しつつ、一次回路系200pから二次回路系200sにパルス信号を伝達し、二次回路系200sに設けられたスイッチ素子(不図示)のゲートを駆動する半導体集積回路装置(いわゆる絶縁ゲートドライバIC)である。例えば、信号伝達装置200は、コントローラチップ210と、ドライバチップ220と、トランスチップ230と、を単一のパッケージに封止して成る。
【0009】
コントローラチップ210は、電源電圧VCC1(例えばGND1基準で最大7V)の供給を受けて動作する半導体チップである。コントローラチップ210には、例えば、パルス送信回路211と、バッファ212及び213が集積されている。
【0010】
パルス送信回路211は、入力パルス信号INに応じて送信パルス信号S11及びS21を生成するパルスジェネレータである。より具体的に述べると、パルス送信回路211は、入力パルス信号INがハイレベルである旨を通知するときには、送信パルス信号S11のパルス駆動(単発または複数発の送信パルス出力)を行い、入力パルス信号INがローレベルである旨を通知するときには、送信パルス信号S21のパルス駆動を行う。すなわち、パルス送信回路211は、入力パルス信号INの論理レベルに応じて、送信パルス信号S11及びS21のいずれか一方をパルス駆動する。
(【0011】以降は省略されています)
この特許をJ-PlatPat(特許庁公式サイト)で参照する
関連特許
エイブリック株式会社
増幅器
6日前
エイブリック株式会社
増幅器
13日前
エイブリック株式会社
増幅回路
7日前
日本電波工業株式会社
圧電振動片
5日前
エイブリック株式会社
電圧検出器
1か月前
株式会社トーキン
ノイズフィルタ
1か月前
株式会社村田製作所
増幅回路
1か月前
株式会社半導体エネルギー研究所
駆動回路
16日前
TDK株式会社
電子部品
6日前
TDK株式会社
電子部品
5日前
株式会社村田製作所
高周波回路
1か月前
株式会社村田製作所
弾性波フィルタ
26日前
住友電気工業株式会社
高周波増幅器
26日前
日清紡マイクロデバイス株式会社
演算増幅器
14日前
アルプスアルパイン株式会社
センサ装置
8日前
ローム株式会社
圧電共振器
1か月前
エイブリック株式会社
電流制限回路及び電流制限装置
13日前
太陽誘電株式会社
フィルタ及びマルチプレクサ
7日前
ニチコン株式会社
信号出力装置
1か月前
エイブリック株式会社
出力制御回路及び電圧出力回路
13日前
株式会社NTTドコモ
リニアライザ
8日前
セイコーエプソン株式会社
振動素子
26日前
日本電気株式会社
原子発振器
1か月前
株式会社JVCケンウッド
電源装置および増幅装置
26日前
TDK株式会社
フィルタ及び電子部品
20日前
ローム株式会社
発振回路
16日前
ローム株式会社
発振回路
5日前
ローム株式会社
発振回路
1か月前
ローム株式会社
差動アンプおよび半導体装置
26日前
ローム株式会社
信号出力回路
26日前
株式会社東芝
電気回路及び増幅器
28日前
株式会社村田製作所
高周波回路および通信装置
7日前
ローム株式会社
信号出力回路
26日前
ローム株式会社
半導体装置
26日前
ローム株式会社
半導体装置
6日前
ローム株式会社
半導体装置
12日前
続きを見る
他の特許を見る