TOP
|
特許
|
意匠
|
商標
特許ウォッチ
Twitter
他の特許を見る
10個以上の画像は省略されています。
公開番号
2025159173
公報種別
公開特許公報(A)
公開日
2025-10-17
出願番号
2025136585,2024115544
出願日
2025-08-19,2018-07-05
発明の名称
情報処理装置及びプログラム
出願人
キヤノン株式会社
代理人
個人
,
個人
,
個人
,
個人
,
個人
主分類
G06F
3/12 20060101AFI20251009BHJP(計算;計数)
要約
【課題】 印刷データ生成ソフトウェアの拡張アプリケーションとして、より良い機能を提供する。
【解決手段】 第1のタイミングで取得される印刷データ生成ソフトウェアと、前記第1のタイミングとは異なる第2のタイミングで取得される前記印刷データ生成ソフトウェアとは異なる拡張アプリケーションとを備える情報処理装置であって、前記拡張アプリケーションにより提供される設定画面において入力された情報に基づき、設定情報を生成する生成手段と、前記生成された設定情報に基づき、前記拡張アプリケーションにより提供される拡張機能を実行する実行手段と、を備え、前記拡張機能に関する情報は、OSによる編集が行われないよう処理され、前記印刷データ生成ソフトウェアにより、前記設定情報に基づき印刷データが生成される。
【選択図】 図2
特許請求の範囲
【請求項1】
第1のタイミングで取得される印刷データ生成ソフトウェアと、前記第1のタイミングとは異なる第2のタイミングで取得される前記印刷データ生成ソフトウェアとは異なる拡張アプリケーションとを備える情報処理装置であって、
前記拡張アプリケーションにより提供される設定画面において入力された情報に基づき、設定情報を生成する生成手段と、
前記生成された設定情報に基づき、前記拡張アプリケーションにより提供される拡張機能を実行する実行手段と、
を備え、
前記拡張機能に関する情報は、OSによる編集が行われないよう処理され、
前記印刷データ生成ソフトウェアにより、前記設定情報に基づき印刷データが生成されることを特徴とする情報処理装置。
続きを表示(約 1,100 文字)
【請求項2】
前記拡張機能に関する情報は、前記設定情報中においてOSによる編集が行われないよう記述されることを特徴とする請求項1に記載の情報処理装置。
【請求項3】
前記拡張機能に関する情報は、前記設定情報とは別のファイルに保存されることを特徴とする請求項1に記載の情報処理装置。
【請求項4】
前記印刷データ生成ソフトウェアの提供する機能を示す能力情報に前記拡張機能を示す情報を追加されることにより、前記能力情報が拡張されることを特徴とする請求項1に記載の情報処理装置。
【請求項5】
前記OSにより、前記印刷データ生成ソフトウェアの提供する機能を示す能力情報と、前記設定情報に記述された機能と、の整合性がチェックされることを特徴とする請求項1から4のいずれか1項に記載の情報処理装置。
【請求項6】
前記印刷データ生成ソフトウェアにより、描画アプリケーションにより生成された描画データと、前記設定情報と、を含む中間データに基づき印刷データが生成されることを特徴とする請求項1から5のいずれか1項に記載の情報処理装置。
【請求項7】
前記拡張機能に関する情報としてレイアウトに関する拡張機能の情報が保存されている場合、前記拡張アプリケーションにより、前記中間データに対して編集が行われることを特徴とする請求項6に記載の情報処理装置。
【請求項8】
前記拡張機能に関する情報として印刷プレビューに関する拡張機能の情報が保存されている場合、前記拡張アプリケーションにより、前記印刷データを用いてプレビュー画像が表示されることを特徴とする請求項6又は7に記載の情報処理装置。
【請求項9】
第1のタイミングで取得される印刷データ生成ソフトウェアとは異なる第2のタイミングで取得される拡張アプリケーションのプログラムであって、
コンピュータに、
設定画面において入力された情報に基づき、設定情報を生成する生成ステップと、
前記生成された設定情報に基づき、拡張機能を実行する実行ステップと、
を実行させ、
前記拡張機能に関する情報は、OSによる編集が行われないよう処理され、
前記印刷データ生成ソフトウェアにより、前記設定情報に基づき印刷データが生成されることを特徴とするプログラム。
【請求項10】
前記拡張機能に関する情報は、前記設定情報中においてOSによる編集が行われないよう記述されることを特徴とする請求項9に記載のプログラム。
(【請求項11】以降は省略されています)
発明の詳細な説明
【技術分野】
【0001】
本発明は、情報処理装置及びプログラムに関する。
続きを表示(約 2,000 文字)
【背景技術】
【0002】
標準仕様に則った印刷データ生成ソフトウェアは、ユーザがデバイス固有の印刷データ生成ソフトウェアを導入することなく印刷が実現できるというメリットがある。一方で、デバイスに対して最適なカスタマイズができない。そこで、ベンダ固有の拡張アプリケーションを用いて、印刷データ生成ソフトウェアの機能を拡張する仕組みが存在する。 Windows(登録商標)においては、プリンタドライバに不足する機能を拡張するための拡張アプリケーションとして、Windows Store Device App(WSDA)と呼ばれる拡張アプリケーションがある。特許文献1には、印刷装置を提供するベンダが、WSDAを提供することで、描画アプリケーションから印刷を実行する際の印刷設定画面をカスタマイズすることが開示されている。
【先行技術文献】
【特許文献】
【0003】
特開2017-16480号公報
【発明の概要】
【発明が解決しようとする課題】
【0004】
しかしながら、このWSDAは依然として提供する機能に制限があった。本発明は、このような課題に鑑み、印刷データ生成ソフトウェアの拡張アプリケーションとして、より良い機能を提供することを目的とする。
【課題を解決するための手段】
【0005】
本発明の一態様の情報処理装置は、第1のタイミングで取得される印刷データ生成ソフトウェアと、前記第1のタイミングとは異なる第2のタイミングで取得される前記印刷データ生成ソフトウェアとは異なる拡張アプリケーションとを備える情報処理装置であって、前記拡張アプリケーションにより提供される設定画面において入力された情報に基づき、設定情報を生成する生成手段と、前記生成された設定情報に基づき、前記拡張アプリケーションにより提供される拡張機能を実行する実行手段と、を備え、前記拡張機能に関する情報は、OSによる編集が行われないよう処理され、前記印刷データ生成ソフトウェアにより、前記設定情報に基づき印刷データが生成される。
【発明の効果】
【0006】
本発明により、印刷データ生成ソフトウェアの拡張アプリケーションとして、より良い機能を提供することが可能となる。
【図面の簡単な説明】
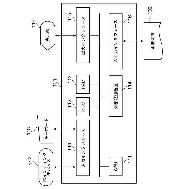
【0007】
印刷システムのハードウェア構成を示すブロック図。
印刷におけるデータフローを説明するためのブロック図。
印刷設定を行う画面を説明するための模式図。
割り付け印刷を説明するための模式図。
印刷プレビュー機能のユーザインタフェースの模式図。
拡張機能を含まない能力情報と印刷設定情報の一例を示す図。
拡張機能を含む能力情報と印刷設定情報の一例を示す図。
印刷設定の整合性チェック実施後の印刷設定情報を示す図。
実施形態1における印刷設定情報の記載例を示す図。
印刷データ生成ソフトウェアの処理を示すフローチャート。
印刷データ生成ソフトウェアの処理を示すフローチャート。
印刷データ生成ソフトウェアの処理を示すフローチャート。
実施形態2における能力情報の記載例を示す図。
【発明を実施するための形態】
【0008】
以下、添付図面を参照して本発明の好適な実施の形態を詳しく説明する。尚、以下の実施の形態は特許請求の範囲に係る本発明を限定するものでなく、また本実施の形態で説明されている特徴の組み合わせの全てが本発明の解決手段に必須のものとは限らない。なお、同一の構成要素には同一の参照番号を付して、説明を省略する。
【0009】
<<実施形態1>>
<印刷システムのハードウェア構成>
図1は、印刷システムのハードウェア構成を示すブロック図である。本図において、ホストコンピュータ101は、情報処理装置の一例であり、入力インタフェース110、CPU111、ROM112、RAM113、外部記憶装置114、出力インタフェース115、及び入出力インタフェース116を有する。また、入力インタフェース110には、キーボード118、ポインティングデバイス117などの入力デバイスが接続され、出力インタフェース115には、表示部119などの表示デバイスが接続されている。
【0010】
ROM112には、初期化プログラムが格納され、外部記憶装置114には、描画アプリケーション等のアプリケーションプログラム群、オペレーティングシステム(OS)、印刷データ生成ソフトウェア、その他の各種のデータが格納されている。RAM113は、外部記憶装置114にストアされる各種のプログラムの実行の際のワークメモリ等として使用される。
(【0011】以降は省略されています)
この特許をJ-PlatPat(特許庁公式サイト)で参照する
関連特許
個人
詐欺保険
5日前
個人
縁伊達ポイン
5日前
個人
QRコードの彩色
9日前
個人
地球保全システム
18日前
個人
残土処理システム
11日前
個人
農作物用途分配システム
4日前
個人
表変換編集支援システム
1か月前
個人
知的財産出願支援システム
12日前
個人
パスワード管理支援システム
1か月前
株式会社キーエンス
受発注システム
17日前
株式会社キーエンス
受発注システム
17日前
個人
食品レシピ生成システム
17日前
個人
海外支援型農作物活用システム
1か月前
個人
AIキャラクター制御システム
1か月前
個人
システム及びプログラム
1か月前
株式会社キーエンス
受発注システム
17日前
個人
未来型家系図構築システム
1か月前
個人
音声対話型帳票生成支援システム
1か月前
個人
帳票自動生成型SaaSシステム
12日前
サクサ株式会社
中継装置
1か月前
個人
SaaS型勤務調整支援システム
1か月前
キヤノン株式会社
表示システム
17日前
大同特殊鋼株式会社
疵判定方法
24日前
個人
人格進化型対話応答制御システム
1か月前
個人
音声・通知・再配達UX制御構造
12日前
個人
社会還元・施設向け供給支援構造
1か月前
株式会社キーエンス
製品受発注システム
17日前
大同特殊鋼株式会社
棒材計数方法
10日前
株式会社カネカ
製造工場の管理システム
12日前
個人
マーケティング活動支援装置
16日前
フリー株式会社
情報処理システム
24日前
中部電力株式会社
学習装置
1か月前
株式会社竹中工務店
管理システム
1か月前
個人
AI支援型ファイル整理支援システム
1か月前
株式会社ライト
情報処理装置
1か月前
個人
マルチ連携型AIキャラクターアプリ
1か月前
続きを見る
他の特許を見る