TOP
|
特許
|
意匠
|
商標
特許ウォッチ
Twitter
他の特許を見る
10個以上の画像は省略されています。
公開番号
2025159515
公報種別
公開特許公報(A)
公開日
2025-10-21
出願番号
2024062138
出願日
2024-04-08
発明の名称
プリント配線板の製造方法
出願人
イビデン株式会社
代理人
弁理士法人第一テクニカル国際特許事務所
主分類
H05K
3/28 20060101AFI20251014BHJP(他に分類されない電気技術)
要約
【課題】ダム形状精度に優れ、工程及び費用を低減できるプリント配線板を製造するための製造方法の提供。
【解決手段】 プリント配線板の製造方法は、最外の樹脂絶縁層を形成することと、前記最外の樹脂絶縁層上に電子部品を搭載するためのパッドを形成することと、前記最外の樹脂絶縁層及び前記パッド上に、ソルダーレジスト層を形成するための樹脂層を形成することと、第1面と前記第1面と反対側の第2面を有するフィルムを準備することと、前記フィルムに前記第1面から前記第2面に向かってテーパー形状の貫通穴を形成することと、前記樹脂層に前記フィルムを押し付け、前記貫通穴を前記樹脂層の一部で充填することと、前記樹脂層を硬化することと、前記ソルダーレジスト層とダムを形成することと、前記フィルムを除去すること、とを含む。
【選択図】図1
特許請求の範囲
【請求項1】
最外の樹脂絶縁層を形成することと、
前記最外の樹脂絶縁層上に電子部品を搭載するためのパッドを形成することと、
前記最外の樹脂絶縁層及び前記パッド上に、ソルダーレジスト層を形成するための樹脂層を形成することと、
第1面と前記第1面と反対側の第2面を有するフィルムを準備することと、
前記フィルムに前記第1面から前記第2面に向かってテーパー形状の貫通穴を形成することと、
前記樹脂層に前記フィルムを押し付け、前記貫通穴を前記樹脂層の一部で充填することと、
前記樹脂層を硬化することと、
前記ソルダーレジスト層とダムを形成することと、
前記フィルムを除去すること、
とを含むプリント配線板の製造方法。
続きを表示(約 490 文字)
【請求項2】
請求項1のプリント配線板の製造方法であって、
前記樹脂層を硬化することは、光硬化によって行われ、
前記フィルムを除去することは、
前記樹脂層を硬化することの後に行われる。
【請求項3】
請求項1のプリント配線板の製造方法において、
さらに、前記樹脂層の上にフィルムを形成することを含む。
【請求項4】
請求項1のプリント配線板の製造方法であって、
前記フィルムを形成することは、
前記貫通穴を形成することの後に行われる。
【請求項5】
請求項1のプリント配線板の製造方法であって、
前記貫通穴を形成することは、レーザ、または、ルータを用いて形成される。
【請求項6】
請求項1のプリント配線板の製造方法であって、
前記フィルムを形成することは、
前記貫通穴を形成することの前に行われる。
【請求項7】
請求項1のプリント配線板の製造方法であって、
前記フィルムを除去することは、加熱によって行われる。
発明の詳細な説明
【技術分野】
【0001】
本明細書によって開示される技術は、プリント配線板の製造方法に関する。
続きを表示(約 1,900 文字)
【背景技術】
【0002】
特許文献1は、型枠付プレス板を用いたプリント配線板の製造方法を開示する。加熱して流動化された樹脂層が型枠付プレス板によりダムの形状に変形した後、型枠付プレス板を除去することで樹脂層が露出してダムが形成される。
【先行技術文献】
【特許文献】
【0003】
特開2008-294333号公報
【発明の概要】
【0004】
[特許文献1の課題]
特許文献1のプリント配線板の製造方法では、樹脂層を露出させた後の金型の取外しを考慮すると、ダムの断面形状は矩形若しくは台形になると考えられる。そのため、ダム高さが低い場合にアンダーフィル材が流出すると考えられる。また、ダムのレイアウトが変わるごとに金型を作成する必要があるため、工程及び費用が増大すると考えられる。
【課題を解決するための手段】
【0005】
本発明のプリント配線板の製造方法は、最外の樹脂絶縁層を形成することと、前記最外の樹脂絶縁層上に電子部品を搭載するためのパッドを形成することと、前記最外の樹脂絶縁層及び前記パッド上に、ソルダーレジスト層を形成するための樹脂層を形成することと、第1面と前記第1面と反対側の第2面を有するフィルムを準備することと、前記フィルムに前記第1面から前記第2面に向かってテーパー形状の貫通穴を形成することと、前記樹脂層に前記フィルムを押し付け、前記貫通穴を前記樹脂層の一部で充填することと、前記樹脂層を硬化することと、前記ソルダーレジスト層とダムを形成することと、前記フィルムを除去すること、とを含む。
【0006】
本発明の実施形態の製造方法では、フィルムに貫通穴を形成し、フィルムを樹脂層に押し付けてダムを形成する。そのため、ダム形状の精度が安定する。貫通穴はレーザー加工やルーター加工で形成可能である。そのため、ダムのレイアウトごとに金型を作成する場合に比べ、工程及び費用が低減する。
フィルムの貫通穴は逆台形の断面形状を有する。そのため、形成されたダムの断面形状は逆台形である。ダムに向かって流れるアンダーフィル材は、断面形状が逆台形となっているダムの下部に潜り込む。アンダーフィル材はダムの表面に沿って登り上がることはない、あるいは登り上がり難い。そのため、アンダーフィル材がダム頂部を超えて流出し難い。
実施形態の製造方法においては、ダム形状精度の安定性とアンダーフィル材の流出防止とを両立でき、かつ、工程及び費用を低減できる。
【図面の簡単な説明】
【0007】
実施形態のプリント配線板を模式的に示す断面図。
実施形態のプリント配線板の製造方法を模式的に示す断面図。
実施形態のプリント配線板の製造方法を模式的に示す断面図。
実施形態のプリント配線板の製造方法を模式的に示す断面図。
実施形態のプリント配線板の製造方法を模式的に示す断面図。
実施形態のプリント配線板の製造方法を模式的に示す断面図。
実施形態のプリント配線板の製造方法を模式的に示す断面図。
実施形態のプリント配線板の製造方法を模式的に示す断面図。
実施形態のプリント配線板の製造方法を模式的に示す断面図。
【発明を実施するための形態】
【0008】
<実施形態のプリント配線板>
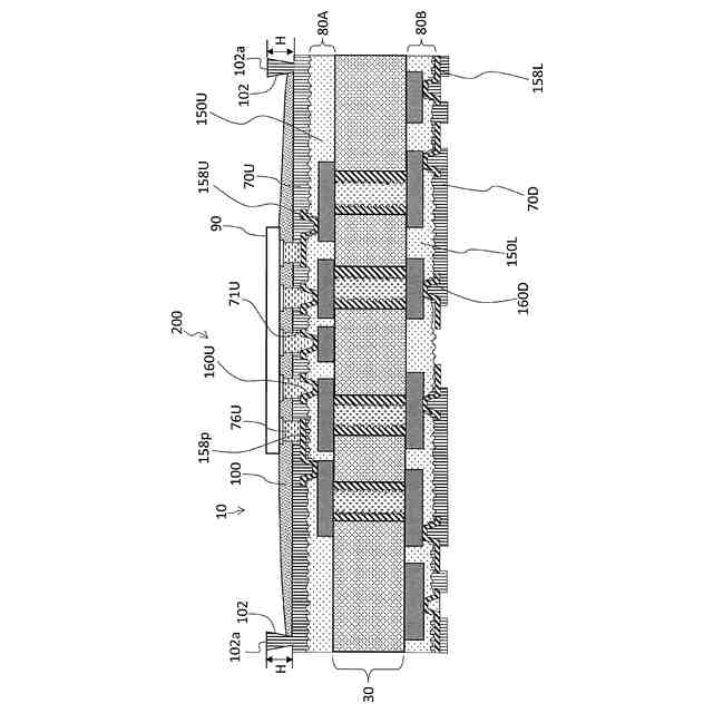
図1は、実施形態の半導体装置200の断面図である。半導体装置200は、実施形態のプリント配線板10とプリント配線板10に実装されている電子部品90とで形成されている。
【0009】
図1に示されるように、プリント配線板10は、コア基板30とコア基板30の表裏に形成されているビルドアップ層80A,80Bを有する。ビルドアップ層80A,80Bは、樹脂絶縁層150U,150Lと、導体層158U,158Lと、樹脂絶縁層150U,150Lを貫通し隣接する導体層を接続するビア導体160U,160Dで形成されている。樹脂絶縁層150Uは、最外の樹脂絶縁層である。
【0010】
プリント配線板10は、ビルドアップ層80A,80B上にソルダーレジスト層70U,70Dを有する。ソルダーレジスト層70Uは、第1開口71Uを有する。第1開口71Uにより露出される導体層158Uは、電子部品90を搭載するためのパッド158pとして機能する。パッド158p上に、電子部品90を実装するための半田バンプ76Uが形成されている。
(【0011】以降は省略されています)
この特許をJ-PlatPat(特許庁公式サイト)で参照する
関連特許
個人
電子部品の実装方法
1か月前
個人
電気式バーナー
21日前
愛知電機株式会社
装柱金具
29日前
イビデン株式会社
配線基板
1か月前
アイホン株式会社
電気機器
1か月前
個人
静電気中和除去装置
8日前
シャープ株式会社
加熱機器
14日前
株式会社レクザム
剥離装置
29日前
FDK株式会社
基板
1か月前
株式会社デンソー
電子装置
1か月前
サクサ株式会社
開き角度規制構造
28日前
株式会社デンソー
電子装置
1日前
日産自動車株式会社
電子部品
1か月前
株式会社レゾナック
冷却装置
1か月前
オムロン株式会社
端子折り曲げ治具
1か月前
富士フイルム株式会社
積層体
1か月前
富士電子工業株式会社
誘導加熱コイル
1か月前
タイガー魔法瓶株式会社
加熱器
1か月前
富士電子工業株式会社
誘導加熱コイル
1か月前
新光電気工業株式会社
配線基板
1か月前
センスネットシステム株式会社
回路基板
1か月前
東芝ライテック株式会社
照明装置
1か月前
日本特殊陶業株式会社
セラミックヒータ
1か月前
日本特殊陶業株式会社
セラミックヒータ
1か月前
東芝ライテック株式会社
照明装置
1か月前
日本特殊陶業株式会社
セラミックヒータ
1か月前
象印マホービン株式会社
電子レンジ
16日前
マクセルイズミ株式会社
誘導加熱調理装置
21日前
マクセルイズミ株式会社
誘導加熱調理装置
21日前
矢崎総業株式会社
箱状体
3日前
矢崎総業株式会社
箱状体
3日前
矢崎総業株式会社
箱状体
3日前
矢崎総業株式会社
箱状体
1か月前
矢崎総業株式会社
箱状体
1か月前
東芝ライテック株式会社
照明システム
1か月前
イビデン株式会社
プリント配線板の製造方法
1か月前
続きを見る
他の特許を見る