TOP
|
特許
|
意匠
|
商標
特許ウォッチ
Twitter
他の特許を見る
10個以上の画像は省略されています。
公開番号
2025158854
公報種別
公開特許公報(A)
公開日
2025-10-17
出願番号
2024061785
出願日
2024-04-05
発明の名称
誘導加熱調理装置
出願人
マクセルイズミ株式会社
代理人
個人
主分類
H05B
6/12 20060101AFI20251009BHJP(他に分類されない電気技術)
要約
【課題】 外部の空気を筐体内に導入しやすくして空気による冷却能力を十分に確保でき、適切な冷却による筐体内各部品の作動不良防止と長寿命化が図れる、誘導加熱調理装置を提供する。
【解決手段】 筐体10内部に外部の空気を導入するための吸気孔12aを筐体10の周側部に設けて、筐体10内部に設けられた冷却ファンを作動させると、外部の空気が吸気孔12aから横方向に吸い込まれることから、通常は近傍に他の物体が存在せず、周囲が広く開放された状態にある筐体周側部に設けられた吸気孔12aから、吸入抵抗の小さい状況下で十分な量の空気を筐体10内部に吸い込み、冷却ファンから空気を筐体10内部の空間へ送り出すことができ、内部の各部品に対し効率よく冷却が行え、適切な放熱によって装置の連続使用を可能にすると共に、部品の劣化を抑えて装置の不具合が発生しにくい状態を得られることとなる。
【選択図】 図2
特許請求の範囲
【請求項1】
所定の被加熱物を収容した金属容器を誘導加熱により温度上昇させ、前記被加熱物を加熱する、誘導加熱調理装置において、
前記金属容器を支持可能な箱状の筐体と、
当該筐体に内蔵され、前記金属容器に対し誘導加熱を実行する誘導加熱コイルと、
前記筐体に内蔵され、前記誘導加熱コイルの電流を制御する制御部と、
前記筐体内部に通風用として配設される冷却ファンとを備え、
前記筐体が、前記冷却ファンに近い筐体周側部に、外部の空気を流入させて冷却ファンに向かわせる吸気孔を設けられることを
特徴とする誘導加熱調理装置。
続きを表示(約 1,800 文字)
【請求項2】
前記請求項1に記載の誘導加熱調理装置において、
前記筐体が、平面視で矩形状又は方形状とされ、前記冷却ファンで筐体内部に流通させた空気を筐体外部に排出する排気孔を、筐体周側部のうち左側面と右側面にそれぞれ設けられることを
特徴とする誘導加熱調理装置。
【請求項3】
前記請求項2に記載の誘導加熱調理装置において、
前記筐体が、上部の上筐体と下部の下筐体との組合せ構造として形成され、前記排気孔を前記左側面と右側面における前記上筐体の部位にそれぞれ設けられる一方、前記吸気孔を周側部のうち左側面と右側面以外の面における前記下筐体の部位に設けられることを
特徴とする誘導加熱調理装置。
【請求項4】
前記請求項2に記載の誘導加熱調理装置において、
前記筐体が、少なくとも前記左側面と右側面をなす各側面部分を、側面上部外側部分が当該部分より内側の部分に対し下がった段差のある形状とされ、下段側の側面に対し相対的に内寄りにずれた上段側の側面に前記排気孔を設けられることを
特徴とする誘導加熱調理装置。
【請求項5】
前記請求項1に記載の誘導加熱調理装置において、
前記制御部を通じて前記誘導加熱コイルに電力供給を行うバッテリーを備え、
当該バッテリーが、前記筐体の周側部に、筐体に対し着脱可能として配設され、
前記筐体が、前記吸気孔を筐体周側部のうち前記バッテリーの配設される面と同じ面に設けられることを
特徴とする誘導加熱調理装置。
【請求項6】
前記請求項2に記載の誘導加熱調理装置において、
前記筐体が、前記制御部を前記冷却ファンから送り出される空気の進行方向に位置させると共に、前記進行方向における制御部より前方側に、制御部を通った空気の流れを左右に分けて前記左側面と右側面の各排気孔に向かわせる分流壁部を設けられることを
特徴とする誘導加熱調理装置。
【請求項7】
前記請求項6に記載の誘導加熱調理装置において、
前記筐体の分流壁部が、筐体内空気流路の分岐点として前記制御部側に突出する尖端部を有すると共に、尖端部から左右に連続する平面視で円弧状の曲面を有して、空気の流れを左右に二分割する立壁形状とされ、
前記分流壁部の尖端部が、前記冷却ファンの中心から空気の進行方向に延びたファン中心線及び空気の進行方向と平行な前記制御部の中心線の延長上に位置することを
特徴とする誘導加熱調理装置。
【請求項8】
前記請求項6に記載の誘導加熱調理装置において、
前記筐体が、上部の上筐体と下部の下筐体との組合せ構造として形成され、前記排気孔を前記左側面と右側面における前記上筐体の部位にそれぞれ設けられる一方、前記吸気孔を周側部のうち左側面と右側面以外の面における前記下筐体の部位に設けられ、
前記上筐体と下筐体との間に配設されて、前記冷却ファンから前記制御部を通って前記分流壁部に到る空気流路を上から覆う中間筐体を備え、
前記下筐体及び中間筐体が、前記分流壁部で分かれた空気の進行方向を規制して空気の流れを前記左側面側及び右側面側にそれぞれ導くことを
特徴とする誘導加熱調理装置。
【請求項9】
前記請求項8に記載の誘導加熱調理装置において、
前記筐体の下筐体が、筐体周側部から筐体内方に向けて凹んだ凹部を設けられる一方、前記凹部を取り囲む形状として筐体内部側に突出した凸部を有してなり、
前記下筐体の凸部が、前記分流壁部で二つに分かれた空気の流れの一方を凸部上側に導いて前記排気孔側へ案内する案内手段をなすことを
特徴とする誘導加熱調理装置。
【請求項10】
前記請求項8に記載の誘導加熱調理装置において、
前記中間筐体が、前記筐体の左側面と右側面に近い左右の側端部に孔又は切欠きである通風部をそれぞれ設けられ、
少なくとも前記通風部を通じて、前記中間筐体と下筐体間を流通した空気が中間筐体より上側に進行することを
特徴とする誘導加熱調理装置。
(【請求項11】以降は省略されています)
発明の詳細な説明
【技術分野】
【0001】
本発明は、金属容器を電磁誘導加熱により温めることで、金属容器に入れていた加熱対象物を加熱する誘導加熱調理装置に関し、特に商用電源等のない箇所での使用に適した、誘導加熱調理装置に関する。
続きを表示(約 1,700 文字)
【0002】
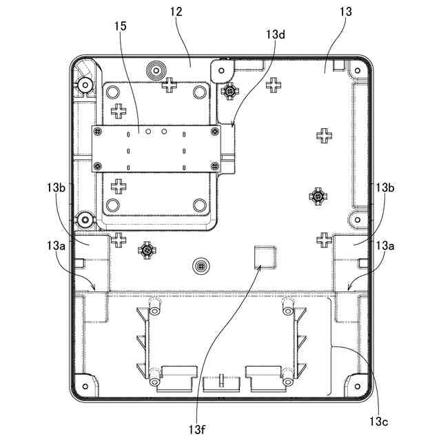
なお、本発明で装置筐体の特定部位を示す「周側部」の語は、箱状の筐体における側方(横方向)の外周に存在する部位全体、具体的には、筐体中心から見た前後左右の面を指すものとして扱っている。
【背景技術】
【0003】
電力に基づく発熱を利用する調理装置のうち、電磁誘導加熱で生じる熱を利用する調理装置は、比較的大きな電流が流れる誘導加熱コイルやその制御用の電気回路部が発熱して高温となりやすく、そのまま放置すると作動に支障を来すため、冷却して放熱させる必要があった。
【0004】
これら装置各部の冷却には、ファンにより生じさせた空気流を熱の発生部分に当てて熱を奪う、強制空冷の手法が一般的に採用されている。
こうした強制空冷の仕組みを用いる従来の誘導加熱調理装置の一例として、特開平7-6871号公報に開示されるものがある。
【先行技術文献】
【特許文献】
【0005】
特開平7-6871号公報
【発明の概要】
【発明が解決しようとする課題】
【0006】
従来の調理装置は、前記特許文献に示される構成とされており、使用に伴い温度の上がる加熱コイル等に対し、筐体底面近くに配置された冷却ファンが作動し、底面の吸気孔から外部の空気を吸い込むと共にこの空気を上方の加熱コイル側へ送り出す構造となっている。冷却ファンから送り出された空気は加熱コイル等に達して熱を奪い、温度を上げた状態で、筐体側壁に設けられた排気孔から外部に排出されることとなる。
【0007】
このような従来の調理装置の場合、吸気孔が設けられた筐体底面と、テーブル天面などの調理装置の載置面との間の間隔が小さいために、空気を筐体内に吸い込む際の吸気抵抗が大きくなり、筐体内に空気を導入しにくいという問題があった。そして、空気の導入しにくさは、冷却に必要な空気の吸い込み不足に繋がり、冷却には十分でない量の空気による筐体内での冷却の効率が低下し、放熱が不十分となる分、筐体内各部の想定以上の温度上昇を招き、調理装置の継続的な作動に悪影響を及ぼすおそれがあった。
加えて、こうした筐体内の温度上昇は、加熱コイル等の部品の経年劣化を加速させ、不具合発生に繋りやすくなるというおそれもあった。
【0008】
本発明は前記課題を解消するためになされたもので、外部の空気を筐体内に導入しやすくして空気による冷却能力を十分に確保でき、適切な冷却による筐体内各部品の作動不良防止と長寿命化が図れる、誘導加熱調理装置を提供することを目的とする。
【課題を解決するための手段】
【0009】
本発明の開示に係る誘導加熱調理装置は、所定の被加熱物を収容した金属容器を誘導加熱により温度上昇させ、前記被加熱物を加熱する、誘導加熱調理装置において、前記金属容器を支持可能な箱状の筐体と、当該筐体に内蔵され、前記金属容器に対し誘導加熱を実行する誘導加熱コイルと、前記筐体に内蔵され、前記誘導加熱コイルの電流を制御する制御部と、前記筐体内部に通風用として配設される冷却ファンとを備え、前記筐体が、前記冷却ファンに近い筐体周側部に、外部の空気を流入させて冷却ファンに向かわせる吸気孔を設けられるものである。
【0010】
このように本発明の開示によれば、筐体内部に外部の空気を導入するための吸気孔を筐体の周側部に設けて、筐体内部に設けられた冷却ファンを作動させると、外部の空気が吸気孔から横方向に吸い込まれることにより、通常は近傍に他の物体が存在せず、周囲が広く開放された状態にある筐体周側部に設けられた吸気孔から、吸入抵抗の小さい状況下で十分な量の空気を筐体内部に吸い込み、冷却ファンから空気を筐体内部の空間へ送り出すことができ、筐体内部の各部品に対し効率よく冷却が行え、適切な放熱によって装置の連続使用を可能にすると共に、部品の劣化を抑えて装置の不具合が発生しにくい状態を得られることとなる。
【図面の簡単な説明】
(【0011】以降は省略されています)
この特許をJ-PlatPat(特許庁公式サイト)で参照する
関連特許
個人
電子部品の実装方法
24日前
日本精機株式会社
回路基板
1か月前
愛知電機株式会社
装柱金具
16日前
個人
非衝突型ガウス加速器
2か月前
個人
電気式バーナー
8日前
日本放送協会
基板固定装置
1か月前
アイホン株式会社
電気機器
1か月前
イビデン株式会社
配線基板
17日前
アイホン株式会社
電気機器
2か月前
個人
節電材料
2か月前
キヤノン株式会社
電子機器
1か月前
メクテック株式会社
配線基板
2か月前
東レ株式会社
霧化状活性液体供給装置
1か月前
マクセル株式会社
配列用マスク
3か月前
イビデン株式会社
プリント配線板
1か月前
イビデン株式会社
プリント配線板
2か月前
サクサ株式会社
開き角度規制構造
15日前
サクサ株式会社
筐体の壁掛け構造
1か月前
イビデン株式会社
配線基板
1か月前
株式会社レクザム
剥離装置
16日前
シャープ株式会社
加熱機器
1日前
FDK株式会社
基板
23日前
イビデン株式会社
配線基板
2か月前
トキコーポレーション株式会社
照明器具
3か月前
株式会社デンソー
電子装置
17日前
日産自動車株式会社
電子部品
1か月前
オムロン株式会社
端子折り曲げ治具
26日前
新電元工業株式会社
電子装置
1か月前
カシン工業株式会社
PTC発熱装置
2か月前
株式会社電気印刷研究所
金属画像形成方法
3か月前
日産自動車株式会社
電子機器
3か月前
富士フイルム株式会社
積層体
17日前
新電元工業株式会社
充電装置
3か月前
株式会社電気印刷研究所
金属画像形成方法
3か月前
株式会社レゾナック
冷却装置
23日前
日本特殊陶業株式会社
配線基板
1か月前
続きを見る
他の特許を見る