TOP
|
特許
|
意匠
|
商標
特許ウォッチ
Twitter
他の特許を見る
10個以上の画像は省略されています。
公開番号
2025160086
公報種別
公開特許公報(A)
公開日
2025-10-22
出願番号
2024146620
出願日
2024-08-28
発明の名称
電子レンジ
出願人
象印マホービン株式会社
代理人
個人
,
個人
主分類
H05B
6/70 20060101AFI20251015BHJP(他に分類されない電気技術)
要約
【課題】簡素な構成で被加熱物の加熱効率を向上し、加熱ムラを抑制できる電子レンジを提供する。
【解決手段】電子レンジ10は、加熱庫14、加熱庫14外に配置された底用マイクロ波源31Aと後用マイクロ波源31B、加熱庫14の底壁15の下側に配置された底給電部33A、加熱庫14の後壁18の後側に配置された後給電部33B、及びマイクロ波源31A,31Bを個別に制御する制御部50を備える。
【選択図】図1
特許請求の範囲
【請求項1】
底壁、天壁、一対の側壁、後壁、及び扉によって画定された加熱庫と、
前記加熱庫外にそれぞれ配置された底用マイクロ波源及び後用マイクロ波源と、
前記底壁の下側に配置され、前記底壁を介して前記底用マイクロ波源が放出したマイクロ波を前記加熱庫内に放射する底給電部と、
前記後壁の後側に配置され、前記後壁を介して前記後用マイクロ波源が放出したマイクロ波を前記加熱庫内に放射する後給電部と、
前記底用マイクロ波源と前記後用マイクロ波源を個別に制御する制御部と
を備える、電子レンジ。
続きを表示(約 970 文字)
【請求項2】
前記加熱庫内の前記底給電部と前記後給電部の間に、被加熱物を配置するトレイを前記底壁に沿って配置するためのトレイ保持手段を備え、
前記トレイは、マイクロ波によって発熱可能な発熱トレイ、マイクロ波を透過可能な透過性トレイ、及びマイクロ波を反射可能な反射性トレイのうち、少なくとも1つを含む、請求項1に記載の電子レンジ。
【請求項3】
前記加熱庫を前記扉側から見て、前記後給電部の少なくとも一部は、前記トレイの上端よりも上側に位置している、請求項2に記載の電子レンジ。
【請求項4】
前記加熱庫を前記扉側から見て、前記後給電部の全てが、前記トレイの上端よりも上側に位置している、請求項3に記載の電子レンジ。
【請求項5】
前記底壁から前記天壁に向けて延ばした前記底給電部の第1投影領域と、前記後壁から前記扉に向けて延ばした前記後給電部の第2投影領域とは、互いに重なる重複領域を有する、請求項1から4のいずれか1項に記載の電子レンジ。
【請求項6】
前記重複領域は、前記一対の側壁の間の中央、かつ前記後壁と前記扉の間の中央に位置している、請求項5に記載の電子レンジ。
【請求項7】
前記天壁にはヒータが配置されている、請求項1から4のいずれか1項に記載の電子レンジ。
【請求項8】
前記制御部は、前記底用マイクロ波源及び前記後用マイクロ波源のうち、一方を動作させて他方の動作を停止した後、前記他方を動作させて前記一方の動作を停止する制御を、定められた時間毎に繰り返し行う、請求項1から4のいずれか1項に記載の電子レンジ。
【請求項9】
前記制御部は、前記底用マイクロ波源、前記後用マイクロ波源、及び前記ヒータを含む複数の加熱部のうち、1つを動作させて残りの動作を停止した後、前記動作させた1つ以外の1つを動作させて残りの動作を停止する制御を、定められた時間毎に繰り返し行う、請求項7に記載の電子レンジ。
【請求項10】
前記制御部は、前記底用マイクロ波源及び前記後用マイクロ波源を同時に動作させる、請求項1から4のいずれか1項に記載の電子レンジ。
(【請求項11】以降は省略されています)
発明の詳細な説明
【技術分野】
【0001】
本発明は、電子レンジに関する。
続きを表示(約 1,600 文字)
【背景技術】
【0002】
特許文献1には、加熱庫の天壁、底壁、及び一対の側壁に、マイクロ波を放射する給電部がそれぞれ配置された電子レンジが開示されている。この電子レンジは、個々の給電部から放射されるマイクロ波の放射方向を調整するために、形状が異なる第1アンテナ及び第2アンテナと、これらの回転角度位置を調整する制御部とを更に備える。
【0003】
第1アンテナと第2アンテナは、加熱庫の対向する壁に配置されている。具体的には、第1アンテナは、天壁と一対の側壁のうち一方とに配置され、第2アンテナは、底壁と一対の側壁のうち他方とに配置されている。制御部は、マイクロ波の反射波を検出し、反射電力が極小値になるように第1アンテナと第2アンテナの角度をそれぞれ調整し、被加熱物の加熱効率の向上と加熱ムラの抑制を図る。
【先行技術文献】
【特許文献】
【0004】
特開2009-181727号
【発明の概要】
【発明が解決しようとする課題】
【0005】
特許文献1の電子レンジでは、天壁と底壁にアンテナを配置し、一対の側壁にそれぞれアンテナを配置する必要があるため、構成が複雑である。つまり、特許文献1の電子レンジには、簡素な構成で被加熱物の加熱効率を向上すること、及び加熱ムラを抑制することについて改善の余地がある。
【0006】
本発明は、簡素な構成で被加熱物の加熱効率を向上し、加熱ムラを抑制できる電子レンジを提供することを課題とする。
【課題を解決するための手段】
【0007】
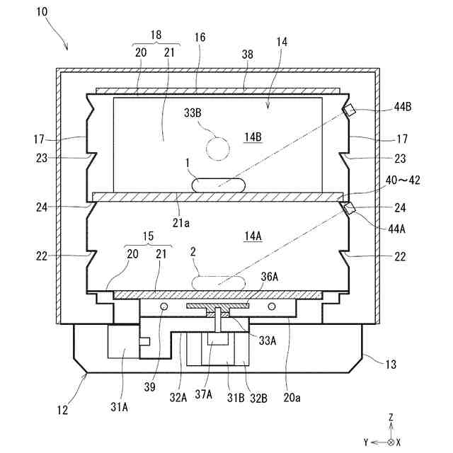
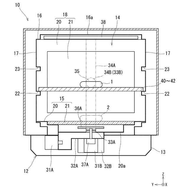
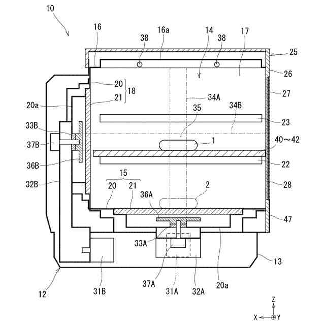
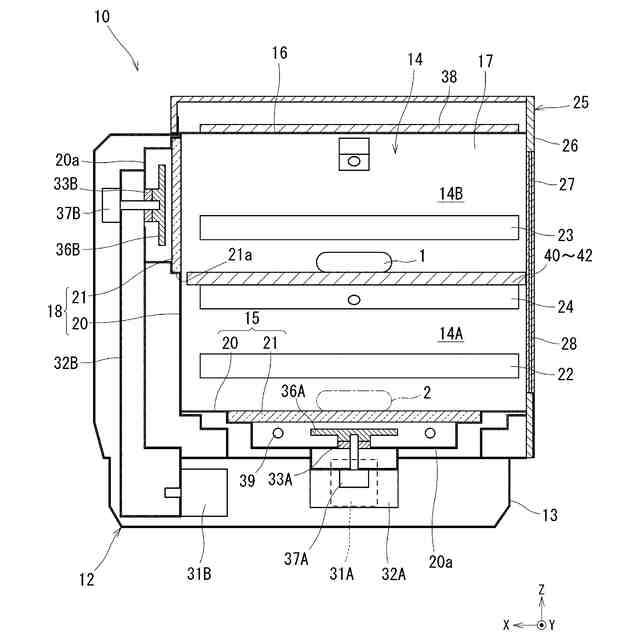
本発明の一態様は、底壁、天壁、一対の側壁、後壁、及び扉によって画定された加熱庫と、前記加熱庫外にそれぞれ配置された底用マイクロ波源及び後用マイクロ波源と、前記底壁の下側に配置され、前記底壁を介して前記底用マイクロ波源が放出したマイクロ波を前記加熱庫内に放射する底給電部と、前記後壁の後側に配置され、前記後壁を介して前記後用マイクロ波源が放出したマイクロ波を前記加熱庫内に放射する後給電部と、前記底用マイクロ波源と前記後用マイクロ波源を個別に制御する制御部とを備える、電子レンジを提供する。
【0008】
電子レンジは、台所の食器棚に設けられた専用の設置スペースに設置されることが多い。設置スペースの奥行きは、食器棚を設置する台所の使用性を踏まえ、概ね定められている。設置スペースの高さは、食器類の収納性を踏まえ、概ね定められている。一方で、設置スペースを含む食器棚の横幅は、台所の広さを考慮してユーザが希望に応じて選択できる。
【0009】
一般的に、電子レンジの奥行きと高さは、食器棚の設置スペースの寸法を踏まえて定められている。一方で、電子レンジの横幅は、形成する加熱庫の容量に応じて定められており、容量を多くするに従って大きくなり、加熱庫の形状は横長になる。つまり、電子レンジの奥行きと高さは不変性が高く、電子レンジの横幅は可変性が高い。また、加熱庫内に配置される被加熱物に対し、底壁からの距離と後壁からの距離は、側壁からの距離と比較して近くなることが多い。
【0010】
本態様では、底壁と後壁にマイクロ波を放射する給電部がそれぞれ配置されている。底壁と後壁は、被加熱物までの距離が近いため、給電部から離れるに従って拡散するマイクロ波を、被加熱物に対して集中させることが可能である。よって、簡素な構成で被加熱物の加熱効率を向上できる。しかも、底用マイクロ波源によるマイクロ波の照射方向と後用マイクロ波源によるマイクロ波の照射方向とが異なるうえ、制御部によって2個のマイクロ波源を個別に制御できるため、被加熱物の加熱ムラを抑えることができる。
(【0011】以降は省略されています)
この特許をJ-PlatPat(特許庁公式サイト)で参照する
関連特許
個人
電子部品の実装方法
1か月前
個人
電気式バーナー
18日前
個人
非衝突型ガウス加速器
2か月前
日本精機株式会社
回路基板
1か月前
愛知電機株式会社
装柱金具
26日前
イビデン株式会社
配線基板
27日前
アイホン株式会社
電気機器
2か月前
個人
節電材料
2か月前
アイホン株式会社
電気機器
1か月前
日本放送協会
基板固定装置
1か月前
キヤノン株式会社
電子機器
1か月前
メクテック株式会社
配線基板
2か月前
個人
静電気中和除去装置
5日前
東レ株式会社
霧化状活性液体供給装置
2か月前
マクセル株式会社
配列用マスク
3か月前
シャープ株式会社
加熱機器
11日前
イビデン株式会社
配線基板
2か月前
株式会社レクザム
剥離装置
26日前
サクサ株式会社
開き角度規制構造
25日前
FDK株式会社
基板
1か月前
イビデン株式会社
プリント配線板
3か月前
株式会社デンソー
電子装置
27日前
サクサ株式会社
筐体の壁掛け構造
2か月前
イビデン株式会社
配線基板
2か月前
イビデン株式会社
プリント配線板
1か月前
オムロン株式会社
端子折り曲げ治具
1か月前
新電元工業株式会社
電子装置
1か月前
富士フイルム株式会社
積層体
27日前
カシン工業株式会社
PTC発熱装置
3か月前
日産自動車株式会社
電子機器
3か月前
新電元工業株式会社
充電装置
3か月前
株式会社レゾナック
冷却装置
1か月前
日産自動車株式会社
電子部品
1か月前
富士電子工業株式会社
高周波焼入装置
3か月前
新光電気工業株式会社
配線基板
1か月前
日本特殊陶業株式会社
配線基板
2か月前
続きを見る
他の特許を見る