TOP
|
特許
|
意匠
|
商標
特許ウォッチ
Twitter
他の特許を見る
10個以上の画像は省略されています。
公開番号
2025140896
公報種別
公開特許公報(A)
公開日
2025-09-29
出願番号
2024040525
出願日
2024-03-14
発明の名称
端子折り曲げ治具
出願人
オムロン株式会社
代理人
個人
主分類
H05K
13/04 20060101AFI20250919BHJP(他に分類されない電気技術)
要約
【課題】電子部品の一対の端子を直角に容易に折り曲げることができる端子折り曲げ治具を提供する。
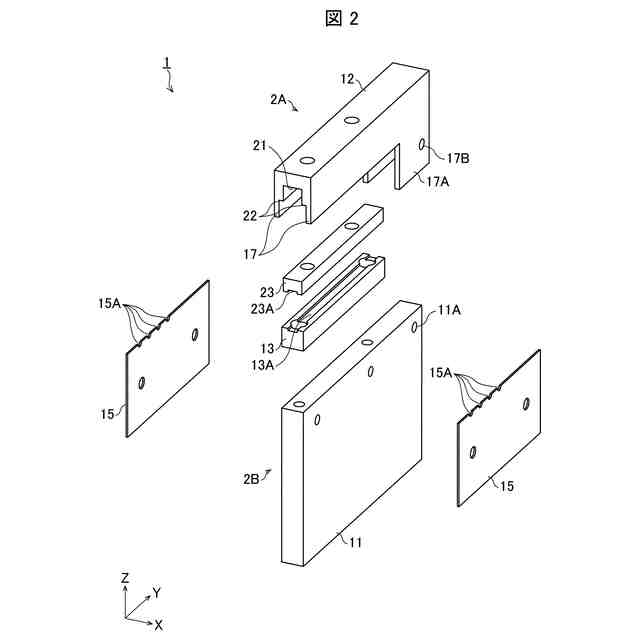
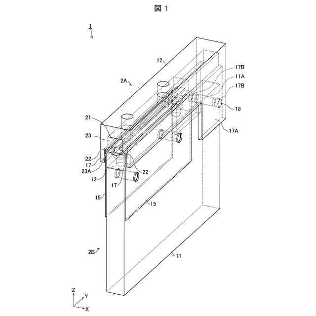
【解決手段】端子折り曲げ治具(1)は、電子部品(3)の一対の端子(3B)を載置するベース部材(2B)と、ベース部材(2B)に対して上方から接近して対向するように移動可能なカバー部材(2A)と、を備え、カバー部材(2A)は、ベース部材(2B)を覆うように移動させることで、一対の端子(3B)のうちベース部材(2B)から幅方向両外側へ突出する突出部分を下方側へ折り曲げる一対の凸部(17)を有し、一対の凸部(17)は、突出部分を折り曲げている状態において、ベース部材(2B)の幅よりも所定の幅だけ両外側へ離れた位置に配置されるように設けられている。
【選択図】図1
特許請求の範囲
【請求項1】
電子部品の本体から両側に延びる一対の端子を所定の角度で折り曲げるための端子折り曲げ治具であって、
前記電子部品の一対の前記端子を載置するベース部材と、
前記ベース部材に対して上方から接近して対向するように移動可能なカバー部材と、
を備え、
前記カバー部材は、
前記ベース部材を覆うように移動させることで、一対の前記端子のうち前記ベース部材から幅方向両外側へ突出する突出部分を下方側へ折り曲げる一対の凸部を有し、
一対の前記凸部は、前記突出部分を折り曲げている状態において、
前記ベース部材の幅よりも所定の幅だけ両外側へ離れた位置に配置されるように設けられている、端子折り曲げ治具。
続きを表示(約 1,400 文字)
【請求項2】
前記ベース部材は、一対の前記端子の所定の部位を載置する一対の端子載置部を有し、
前記カバー部材は、前記ベース部材へ接近する移動によって、一対の前記端子載置部に載置された一対の前記端子の前記所定の部位を押圧する一対の端子押圧部を有する、
請求項1に記載の端子折り曲げ治具。
【請求項3】
前記カバー部材は、前記一対の端子押圧部の間に前記本体の一部を収容するための窪み部を有し、
前記カバー部材の前記ベース部材へ接近する移動は、前記端子押圧部が、前記端子載置部に載置された前記端子の前記所定の部位、または、前記端子載置部と当接した時点で、前記本体の一部と前記窪み部の内側の天面との間に所定の隙間がある状態で停止する、
請求項2に記載の端子折り曲げ治具。
【請求項4】
前記カバー部材は、一対の前記端子押圧部を前記移動の方向に沿って付勢する第1付勢部材を有し、
一対の前記凸部の側面は、前記カバー部材が前記ベース部材に向かって移動し、前記端子押圧部が、前記端子載置部に載置された前記端子の前記所定の部位、または、前記端子載置部と当接した後に、前記第1付勢部材を介して前記カバー部材が前記ベース部材に向かってさらに接近することで、前記ベース部材の側面に対して前記ベース部材の幅よりも所定の幅だけ両外側へ離れた位置で対向する、
請求項2に記載の端子折り曲げ治具。
【請求項5】
前記ベース部材は、
一対の前記端子の所定の部位を載置する一対の端子載置部と、
前記電子部品の前記本体を載置する本体載置部と、を有し、
前記カバー部材は、
前記ベース部材へ接近する移動によって、前記ベース部材の前記本体載置部に載置された前記本体を押圧する本体押圧部を有する、
請求項1に記載の端子折り曲げ治具。
【請求項6】
前記カバー部材は、前記本体押圧部を上下方向に付勢する第2付勢部材を有し、
一対の前記凸部の側面は、前記カバー部材が前記ベース部材に向かって移動し、前記本体押圧部が前記本体載置部に載置された前記本体に当接した後に、前記第2付勢部材を介して前記カバー部材が前記ベース部材に向かってさらに接近することで、前記ベース部材の側面に対して前記ベース部材の幅よりも所定の幅だけ両外側へ離れた位置で対向する、
請求項5に記載の端子折り曲げ治具。
【請求項7】
一対の前記端子載置部は金属部材からなる、
請求項2または5に記載の端子折り曲げ治具。
【請求項8】
一対の前記端子載置部は、互いに同一の水平面上に位置する一対の端子載置面を有し、
一対の前記端子載置部は、前記ベース部材の幅方向にて、前記電子部品の前記本体の長さに等しい距離だけ離間して配置されている、
請求項2または5に記載の端子折り曲げ治具。
【請求項9】
前記一対の端子載置部は、前記端子の一部または全部を収容する少なくとも一対の凹部を有する、
請求項2または5に記載の端子折り曲げ治具。
【請求項10】
前記端子載置部および前記凸部は、前記電子部品の載置される方向に交差する方向であって前記カバー部材の前記ベース部材へ接近する移動方向に交差する方向へ延伸している、
請求項2または5に記載の端子折り曲げ治具。
(【請求項11】以降は省略されています)
発明の詳細な説明
【技術分野】
【0001】
本発明は、端子折り曲げ治具に関する。
続きを表示(約 1,600 文字)
【背景技術】
【0002】
抵抗やダイオードなどの電子部品の両側に延びる一対の端子をピンセットで曲げる方法があるが、端子を直角に曲げるのは難しい。ダイオードなどの一対の端子が直角に曲がっていない場合には、取り付け時に基板から浮いてしまうため、再度手作業による修正が必要になり手間がかかるという問題がある。そこで、種々の端子折り曲げ治具が提案されている。
【0003】
例えば、特許文献1に記載されるリード線折り曲げ用治具では、2枚の板状のアームを蝶つがい部により折れ曲がるように接続する。2枚の板状のアームは、長手方向側面に、蝶つがい部から同一寸法位置にリード線を入れるための複数の溝が設けられている。また、2枚の板の先端に、一定角度で開いた状態で固定する固定金具が設けられている。そして、リード線折り曲げ治具の2枚の板を一定角度に開いて固定し、リード線を必要な寸法の溝に入れて、両手の指でリード線を押さえて折り曲げる構成が記載されている。
【0004】
また、特許文献2に記載される電子部品着脱用治具では、板状で略長方形の本体の一端に凹所を設け、この凹所の両側より先端が板状平面と直角でL字状に折曲した突出部が形成されている。そして、電子部品の本体を凹所に載置して、電子部品の本体から両側に延びる各リード線をL字状の突出部に押し当てて、両手の指でリード線を押さえて折り曲げる構成が記載されている。
【先行技術文献】
【特許文献】
【0005】
実開昭63-114100号公報
実開昭62-192666号公報
【発明の概要】
【発明が解決しようとする課題】
【0006】
しかしながら、上述のリード線折り曲げ用治具や電子部品着脱用治具の構成では、左右外側に突出するリード線を両手の指で押さえて折り曲げる構成のため、左右のリード線を直角に折り曲げることは、容易でない。また、数多くの左右のリード線を連続して直角に折り曲げることが難しいという問題がある。また、リード線が直角に折り曲げられていないダイオードを取り付ける場合に、ダイオードに割れなどの損傷が生じるおそれがある。
【0007】
本発明は、一側面では、このような問題点を鑑みてなされたものであり、電子部品の一対の端子を直角に容易に折り曲げることができる端子折り曲げ治具を提供することを目的とする。
【課題を解決するための手段】
【0008】
本発明は、上述した課題を解決するために、以下の構成を採用する。
【0009】
すなわち、本発明の一側面に係る端子折り曲げ治具は、電子部品の本体から両側に延びる一対の端子を所定の角度で折り曲げるための端子折り曲げ治具であって、前記電子部品の一対の前記端子を載置するベース部材と、前記ベース部材に対して上方から接近して対向するように移動可能なカバー部材と、を備え、前記カバー部材は、前記ベース部材を覆うように移動させることで、一対の前記端子のうち前記ベース部材から幅方向両外側へ突出する突出部分を下方側へ折り曲げる一対の凸部を有し、一対の前記凸部は、前記突出部分を折り曲げている状態において、前記ベース部材の幅よりも所定の幅だけ両外側へ離れた位置に配置されるように設けられている。
【0010】
上記の構成によれば、カバー部材をベース部材に対して下方側へ移動させることによって、ベース部材に載置した電子部品の一対の端子のうちベース部材から幅方向両外側へ突出する突出部分を一対の凸部を介して下方側へ容易に折り曲げることができる。また、所定の幅を一対の端子の外径寸法と同程度にすることによって、一対の端子をほぼ直角に折り曲げることが可能となり、電子部品の割れなどを防止することができる。
(【0011】以降は省略されています)
この特許をJ-PlatPat(特許庁公式サイト)で参照する
関連特許
オムロン株式会社
電源回路
5日前
オムロン株式会社
電源回路
5日前
オムロン株式会社
電源回路
5日前
オムロン株式会社
制御装置
1か月前
オムロン株式会社
電磁継電器
29日前
オムロン株式会社
スレーブ装置
1日前
オムロン株式会社
情報提供装置
1日前
オムロン株式会社
無停電電源装置
2か月前
オムロン株式会社
IOターミナル
1日前
オムロン株式会社
トリガスイッチ
1日前
オムロン株式会社
電気機器ユニット
2か月前
オムロン株式会社
導線折り曲げ治具
1か月前
オムロン株式会社
スイッチング装置
2か月前
オムロン株式会社
モータの監視装置
1日前
オムロン株式会社
端子折り曲げ治具
1日前
オムロン株式会社
情報処理システム
2か月前
オムロン株式会社
システムおよび方法
1日前
オムロン株式会社
電力開閉モジュール
1日前
オムロン株式会社
セーフティデバイス
1日前
オムロン株式会社
リモート安全入出力装置
1日前
オムロン株式会社
支援システム及び支援方法
1日前
オムロン株式会社
保護継電器及び電力制御装置
1日前
オムロン株式会社
パワーコンディショナシステム
1日前
オムロン株式会社
情報処理装置及び情報処理方法
11日前
オムロン株式会社
搬送装置、搬送方法、プログラム
1か月前
オムロン株式会社
給電モジュール及び給電システム
1日前
オムロン株式会社
回転制御システム及び回転制御方法
1か月前
オムロン株式会社
電力供給システム及び電力制御装置
1日前
オムロン株式会社
トルク推定方法及びトルク推定装置
2か月前
オムロン株式会社
計測装置、計測方法及びプログラム
1日前
オムロン株式会社
教育支援システム及び教育支援方法
1日前
オムロン株式会社
画像処理システムおよび画像処理方法
1か月前
オムロン株式会社
通信装置、通信方法、通信プログラム
2か月前
オムロン株式会社
非接触給電システム及びその制御方法
1か月前
オムロン株式会社
検査装置、検査方法およびプログラム
11日前
オムロン株式会社
安全IOターミナルおよび安全システム
1日前
続きを見る
他の特許を見る