TOP
|
特許
|
意匠
|
商標
特許ウォッチ
Twitter
他の特許を見る
10個以上の画像は省略されています。
公開番号
2025149222
公報種別
公開特許公報(A)
公開日
2025-10-08
出願番号
2024049725
出願日
2024-03-26
発明の名称
箱状体
出願人
矢崎総業株式会社
代理人
弁理士法人栄光事務所
主分類
H05K
5/03 20060101AFI20251001BHJP(他に分類されない電気技術)
要約
【課題】組み付け作業の作業性を向上可能な箱状体を提供すること。
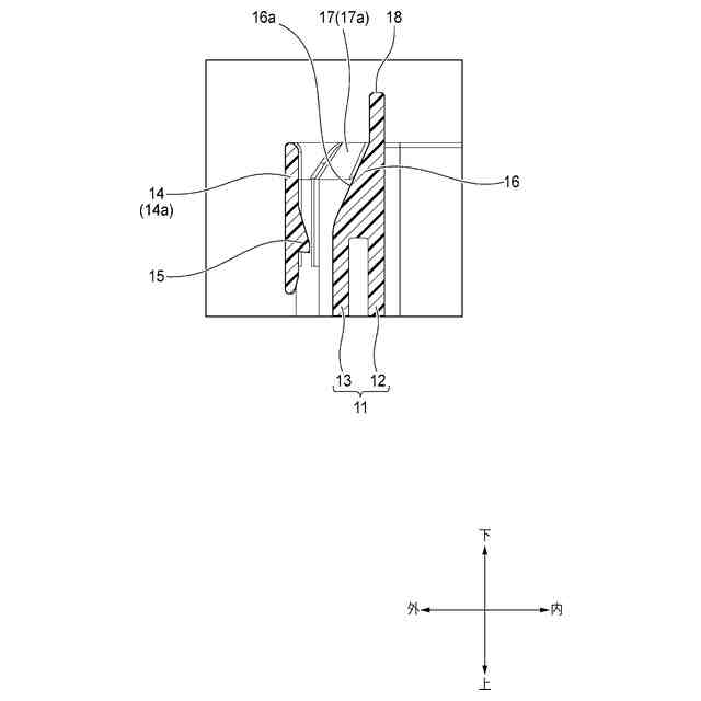
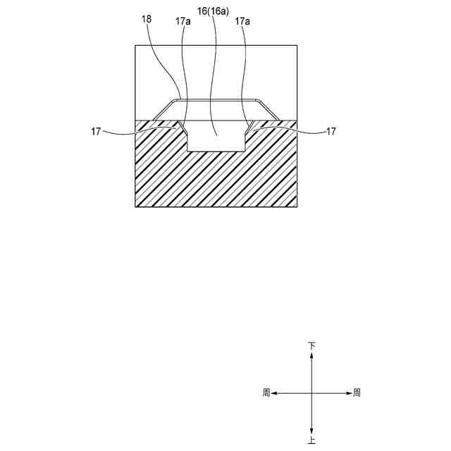
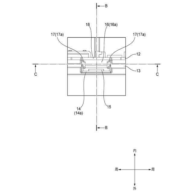
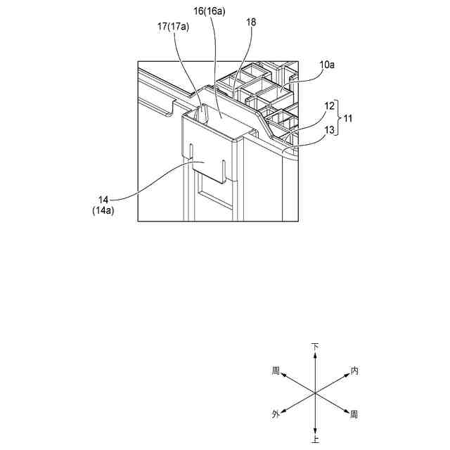
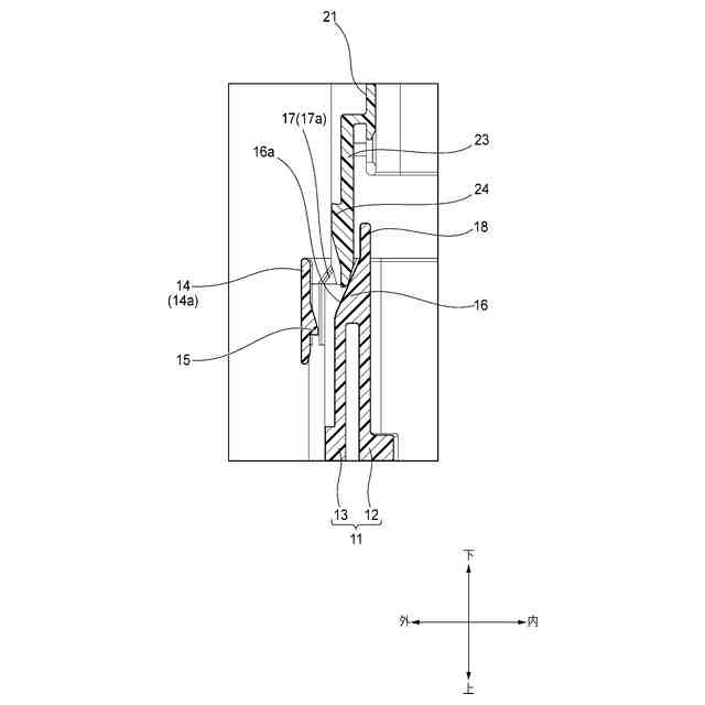
【解決手段】箱状体1は、筒状の周壁11を有するケース10と、ケース10の開口端を覆うカバー20と、を備える。カバー20は、ケース10への取付方向に延びる係合部23を有する。周壁11は、内側壁12及び外側壁13を含む多層壁構造を有し、内側壁12と外側壁13との層間領域の開口部をまたぐように配置される第1案内壁16と、第1案内壁16を周壁11の周方向にて挟むように配置される一対の第2案内壁17と、係合部23が係合する被係合部15と、を有する。第1案内壁16の端面16aが、内側壁12から外側壁13に向かうにつれて取付方向にて被係合部15に近付くように傾斜する形状を有する。第2案内壁17の各々の端面17aが、取付方向において被係合部15に近付くにつれて互いに近付くように傾斜した形状を有する。
【選択図】図4
特許請求の範囲
【請求項1】
筒状の周壁を有するケースと、前記ケースの開口端を覆うように前記周壁に取り付けられるカバーと、を備える、箱状体であって、
前記カバーは、
前記ケースへの取付方向に延びる係合部を有し、
前記ケースの前記周壁は、
内側壁及び外側壁を含む多層壁構造を有し、前記内側壁と前記外側壁との層間領域が前記カバーに向けて開口する開口部をまたぐように配置される第1案内壁と、前記第1案内壁を当該周壁の周方向において挟むように配置される一対の第2案内壁と、前記係合部が係合する被係合部と、を有し、
前記第1案内壁は、
当該第1案内壁の前記カバーに向かい合う端面が、前記内側壁から前記外側壁に向かうにつれて前記取付方向において前記被係合部に近付くように傾斜する形状を有し、
前記一対の前記第2案内壁は、
当該一対の当該第2案内壁の前記カバーに向かい合う一対の端面が、前記取付方向において前記被係合部に近付くにつれて互いに近付くように傾斜する形状を有する、
箱状体。
続きを表示(約 150 文字)
【請求項2】
請求項1に記載の箱状体において、
前記ケースの前記周壁は、
前記係合部が挿入される筒状部を有し、前記筒状部の内周面に、前記第1案内壁と前記被係合部とが互いに向かい合うように配置され、且つ、前記一対の前記第2案内壁が互いに向かい合うに配置される、
箱状体。
発明の詳細な説明
【技術分野】
【0001】
本発明は、筒状の周壁を有するケースと、ケースの開口端を覆うように周壁に取り付けられるカバーと、を備える箱状体に関する。
続きを表示(約 2,100 文字)
【背景技術】
【0002】
従来から、車両に搭載される電気接続箱(例えば、リレーボックス)等のように、複数の部材を互いに組み付けて構成される箱状体が提案されている。例えば、従来の電気接続箱の一つは、電子部品などを保持する本体ケースと、本体ケースに組み付けられるカバーと、を有している。この電気接続箱では、本体ケースの周壁の壁端部に嵌め合わされるように、カバーが組み付けられるようになっている(例えば、特許文献1を参照。)。
【先行技術文献】
【特許文献】
【0003】
特開2020-182314号公報
【発明の概要】
【発明が解決しようとする課題】
【0004】
上述した従来の電気接続箱では、防水性向上等の観点から、ケースの周壁が内壁と外壁とを有する二重壁構造を有しており、ケースにカバーを組み付けることで、内壁と外壁との層間の開口部がカバーで塞がれるようになっている。ところが、ケースの周壁にこのような層間の隙間が存在することで、カバーをケースに組み付けるとき、カバーに設けられた係合部(例えば、片持ち梁状のロック爪)が層間の隙間に誤って入り込み、カバーをケースに適正に組み付けられない場合がある。特に、カバーの製造時に係合部が傾くような成形不良が生じた場合、このように層間の隙間に係合部が入り込むことによる作業性の低下が生じやすい。組み付け作業の作業性を向上する観点から、係合部が層間の隙間へ入り込むことをできる限り抑制することが望ましい。なお、上記説明から理解されるように、電気接続箱に限らず、カバーとケースを有する箱状体において、組み付け作業の作業性を向上することは望ましい。
【0005】
本発明の目的の一つは、組み付け作業の作業性を向上可能な箱状体の提供である。
【課題を解決するための手段】
【0006】
前述した目的を達成するために、本発明に係る箱状体は、以下を特徴としている。
【0007】
筒状の周壁を有するケースと、前記ケースの開口端を覆うように前記周壁に取り付けられるカバーと、を備える、箱状体であって、
前記カバーは、
前記ケースへの取付方向に延びる係合部を有し、
前記ケースの前記周壁は、
内側壁及び外側壁を含む多層壁構造を有し、前記内側壁と前記外側壁との層間領域が前記カバーに向けて開口する開口部をまたぐように配置される第1案内壁と、前記第1案内壁を当該周壁の周方向において挟むように配置される一対の第2案内壁と、前記係合部が係合する被係合部と、を有し、
前記第1案内壁は、
当該第1案内壁の前記カバーに向かい合う端面が、前記内側壁から前記外側壁に向かうにつれて前記取付方向において前記被係合部に近付くように傾斜する形状を有し、
前記一対の前記第2案内壁は、
当該一対の当該第2案内壁の前記カバーに向かい合う一対の端面が、前記取付方向において前記被係合部に近付くにつれて互いに近付くように傾斜する形状を有する、
箱状体であること。
【発明の効果】
【0008】
本発明の箱状体によれば、ケースの内側壁と外側壁との層間領域の開口部をまたぐ第1案内壁と、第1案内壁を周壁の周方向において挟むように配置される一対の第2案内壁と、カバーの係合部が係合する被係合部とが、ケースの周壁に設けられる。更に、第1案内壁の端面が、内側壁から外側壁に向かうにつれてカバーの取付方向において被係合部に近付くように傾斜した形状を有し、第2案内壁の各々の端面が、取付方向において被係合部に近付くにつれて互いに近付くように傾斜した形状を有する。そのため、ケースとカバーとを組み付けるときに、ケースの内側壁と外側壁との層間にカバーの係合部が誤って近付いても、第1案内壁の働きにより、層間にカバーの係合部が入り込むことが抑制されるとともに、その係合部を被係合部に向けて案内することができる。更に、第2案内壁の働きにより、周壁の周方向におけるカバーの係合部の位置ズレが抑制されるとともに、その係合部を被係合部に向けて案内することができる。これにより、層間への係合部の入り込みの有無を作業者が目視等で確認する必要がなくなる。したがって、本発明の箱状体は、組み付け作業の作業性を向上できる。
【0009】
更に、他の効果として、第1案内壁及び第2案内壁は、ケースを製造するときに内側壁と外側壁との層間が設計値よりも狭くなる又は広くなるような成形不良の発生を、抑制することができる。その結果、成形不良によって係合部と被係合部との係合が妨げられることが、抑制される。
【0010】
以上、本発明について簡潔に説明した。更に、以下に説明される発明を実施するための形態を添付の図面を参照して通読することにより、本発明の詳細は更に明確化されるであろう。
【図面の簡単な説明】
(【0011】以降は省略されています)
この特許をJ-PlatPat(特許庁公式サイト)で参照する
関連特許
矢崎総業株式会社
端子
1か月前
矢崎総業株式会社
端子
1か月前
矢崎総業株式会社
箱状体
10日前
矢崎総業株式会社
箱状体
10日前
矢崎総業株式会社
照明灯
1か月前
矢崎総業株式会社
コネクタ
22日前
矢崎総業株式会社
コネクタ
11日前
矢崎総業株式会社
コネクタ
11日前
矢崎総業株式会社
コネクタ
15日前
矢崎総業株式会社
コネクタ
15日前
矢崎総業株式会社
照明構造
15日前
矢崎総業株式会社
止水部材
15日前
矢崎総業株式会社
コネクタ
17日前
矢崎総業株式会社
コネクタ
17日前
矢崎総業株式会社
コネクタ
19日前
矢崎総業株式会社
コネクタ
1か月前
矢崎総業株式会社
コネクタ
29日前
矢崎総業株式会社
コネクタ
10日前
矢崎総業株式会社
コネクタ
1か月前
矢崎総業株式会社
コネクタ
1か月前
矢崎総業株式会社
コネクタ
1か月前
矢崎総業株式会社
コネクタ
1か月前
矢崎総業株式会社
コネクタ
1か月前
矢崎総業株式会社
コネクタ
1か月前
矢崎総業株式会社
コネクタ
1か月前
矢崎総業株式会社
コネクタ
1か月前
矢崎総業株式会社
コネクタ
1か月前
矢崎総業株式会社
コネクタ
1か月前
矢崎総業株式会社
コネクタ
1か月前
矢崎総業株式会社
コネクタ
11日前
矢崎総業株式会社
コネクタ
23日前
矢崎総業株式会社
コネクタ
10日前
矢崎総業株式会社
バスバー
1日前
矢崎総業株式会社
コネクタ
8日前
矢崎総業株式会社
コネクタ
9日前
矢崎総業株式会社
コネクタ
4日前
続きを見る
他の特許を見る