TOP
|
特許
|
意匠
|
商標
特許ウォッチ
Twitter
他の特許を見る
10個以上の画像は省略されています。
公開番号
2025143768
公報種別
公開特許公報(A)
公開日
2025-10-02
出願番号
2024043196
出願日
2024-03-19
発明の名称
冷却装置
出願人
株式会社レゾナック
代理人
個人
,
個人
主分類
H05K
7/20 20060101AFI20250925BHJP(他に分類されない電気技術)
要約
【課題】ダイカストにより成形された冷却装置の部材をレーザ溶接によって接合する場合において、水密性を高める。
【解決手段】ダイカストにて成形されたケースと、ケースの開口部の少なくとも一部を覆うとともにダイカストにて成形されたカバーと、ケース及びカバーに連結される連結部材と、を備え、連結部材は展伸材にて成形され、連結部材とカバーとは、連結部材にレーザ光が照射されることにより接合されるとともに、連結部材とケースとは、連結部材にレーザ光が照射されることにより接合される、冷却装置。
【選択図】図2
特許請求の範囲
【請求項1】
ダイカストにて成形されたケースと、
前記ケースの開口部の少なくとも一部を覆うとともにダイカストにて成形されたカバーと、
前記ケース及び前記カバーに連結される連結部材と、
を備え、
前記連結部材は展伸材にて成形され、当該連結部材と前記カバーとは、当該連結部材にレーザ光が照射されることにより接合されるとともに、当該連結部材と前記ケースとは、当該連結部材にレーザ光が照射されることにより接合される、
冷却装置。
続きを表示(約 1,100 文字)
【請求項2】
前記ケースは、底部と、当該底部と交差する方向に当該底部から突出した側部と、当該側部から外側に突出したフランジ部とを有し、
前記カバーは、前記側部の上に載せられ、
前記連結部材が前記カバー及び前記ケースの前記フランジ部の上に載せられた状態で、当該連結部材と当該カバーとがレーザ溶接されるとともに、当該連結部材と当該フランジ部とがレーザ溶接される、
請求項1に記載の冷却装置。
【請求項3】
前記ケースは、底部と、当該底部と交差する方向に当該底部から突出した第1側部とを有し、
前記カバーは、頂部と、当該頂部と交差する方向に当該頂部から突出した第2側部とを有して、当該第2側部が前記第1側部の内側に位置するように前記ケース内に嵌め込まれ、
前記連結部材が前記カバーの前記第2側部及び前記ケースの前記第1側部の上に載せられた状態で、当該連結部材と当該第1側部とがレーザ溶接されるとともに、当該連結部材と当該第2側部とがレーザ溶接される、
請求項1に記載の冷却装置。
【請求項4】
前記ケースは、底部と、当該底部と交差する方向に当該底部から突出した第1側部とを有し、
前記カバーは、頂部と、当該頂部と交差する方向に当該頂部から突出した第2側部とを有して、当該第2側部が前記第1側部の内側に位置するように前記ケース内に嵌め込まれ、
前記連結部材が前記ケースの前記第1側部の上に載せられた状態で、当該連結部材と当該第1側部とがレーザ溶接されるとともに、当該連結部材と前記カバーの側面とがレーザ溶接される、
請求項1に記載の冷却装置。
【請求項5】
前記ケースは、底部と、当該底部と交差する方向に当該底部から突出した側部とを有し、
前記カバーは、前記側部の上に載せられ、
前記連結部材が前記カバーと前記ケースとの重ね合わせ部の外側に配置された状態で、当該連結部材と当該カバーとがレーザ溶接されるとともに、当該連結部材と当該ケースの前記側部とがレーザ溶接される、
請求項1に記載の冷却装置。
【請求項6】
前記ケースは、底部と、当該底部と交差する方向に当該底部から突出した側部とを有し、
前記カバーは、前記ケースの開口部の一部を覆うように当該ケースの上に載せられ、
前記連結部材が前記ケースの開口部の一部を覆うように当該ケース及び前記カバーの上に載せられた状態で、当該連結部材と当該カバーとがレーザ溶接されるとともに、当該連結部材と当該ケースとがレーザ溶接される、
請求項1に記載の冷却装置。
発明の詳細な説明
【技術分野】
【0001】
本発明は、冷却装置に関する。
続きを表示(約 3,700 文字)
【背景技術】
【0002】
特許文献1には、直線状のベース部と、当該ベース部から突出するとともに当該ベース部の長手方向に間隔をおいて配置される複数の凸部とを有する複数の放熱部材を備え、前記複数の放熱部材の内、隣り合う放熱部材の前記ベース部同士が接触し、前記複数の放熱部材における前記ベース部がレーザ溶接されることで、当該複数の放熱部材は接合されている放熱器が記載されている。
【先行技術文献】
【特許文献】
【0003】
特開2022-48641号公報
【発明の概要】
【発明が解決しようとする課題】
【0004】
冷却装置に対しては、取付け性向上や機能集約のため、従来に比べ複雑な構造仕様が要求されることが増えてきている。このため、水冷式の冷却装置に対してもダイカスト部品の使用を検討されている。
しかしながら、ダイカスト材は、鋳造時に圧縮されたガスが内部に残ることがある。このダイカスト材に対してレーザ溶接を行うと、ダイカスト材の内部のガスが気泡となって溶接ビードにボイドが生じることがある。この場合、溶接部の外観や内部に現れる不具合である溶接不良により溶接部における水密性の低下を招く場合がある。
本発明の目的は、ダイカストにより成形された冷却装置の部材をレーザ溶接によって接合する場合において、水密性を高めることにある。
【課題を解決するための手段】
【0005】
本発明が適用される冷却装置は、ダイカストにて成形されたケースと、前記ケースの開口部の少なくとも一部を覆うとともにダイカストにて成形されたカバーと、前記ケース及び前記カバーに連結される連結部材と、を備え、前記連結部材は展伸材にて成形され、当該連結部材と前記カバーとは、当該連結部材にレーザ光が照射されることにより接合されるとともに、当該連結部材と前記ケースとは、当該連結部材にレーザ光が照射されることにより接合される、冷却装置である。
ここで、前記ケースは、底部と、当該底部と交差する方向に当該底部から突出した側部と、当該側部から外側に突出したフランジ部とを有し、前記カバーは、前記側部の上に載せられ、前記連結部材が前記カバー及び前記ケースの前記フランジ部の上に載せられた状態で、当該連結部材と当該カバーとがレーザ溶接されるとともに、当該連結部材と当該フランジ部とがレーザ溶接されても良い。
また、前記ケースは、底部と、当該底部と交差する方向に当該底部から突出した第1側部とを有し、前記カバーは、頂部と、当該頂部と交差する方向に当該頂部から突出した第2側部とを有して、当該第2側部が前記第1側部の内側に位置するように前記ケース内に嵌め込まれ、前記連結部材が前記カバーの前記第2側部及び前記ケースの前記第1側部の上に載せられた状態で、当該連結部材と当該第1側部とがレーザ溶接されるとともに、当該連結部材と当該第2側部とがレーザ溶接されても良い。
また、前記ケースは、底部と、当該底部と交差する方向に当該底部から突出した第1側部とを有し、前記カバーは、頂部と、当該頂部と交差する方向に当該頂部から突出した第2側部とを有して、当該第2側部が前記第1側部の内側に位置するように前記ケース内に嵌め込まれ、前記連結部材が前記ケースの前記第1側部の上に載せられた状態で、当該連結部材と当該第1側部とがレーザ溶接されるとともに、当該連結部材と前記カバーの側面とがレーザ溶接されても良い。
また、前記ケースは、底部と、当該底部と交差する方向に当該底部から突出した側部とを有し、前記カバーは、前記側部の上に載せられ、前記連結部材が前記カバーと前記ケースとの重ね合わせ部の外側に配置された状態で、当該連結部材と当該カバーとがレーザ溶接されるとともに、当該連結部材と当該ケースの前記側部とがレーザ溶接されても良い。
また、前記ケースは、底部と、当該底部と交差する方向に当該底部から突出した側部とを有し、前記カバーは、前記ケースの開口部の一部を覆うように当該ケースの上に載せられ、前記連結部材が前記ケースの開口部の一部を覆うように当該ケース及び前記カバーの上に載せられた状態で、当該連結部材と当該カバーとがレーザ溶接されるとともに、当該連結部材と当該ケースとがレーザ溶接されても良い。
【発明の効果】
【0006】
本願の発明によると、ダイカストにより成形された冷却装置の部材をレーザ溶接によって接合する場合において、水密性を高めることができる。
【図面の簡単な説明】
【0007】
第1の実施形態に係る冷却装置の一例を示す図の一例である。
第1の実施形態に係る冷却装置を分解した図の一例である。
第1図のIII-III断面の一例を示す図である。
第1の実施形態に係る冷却装置の溶接箇所の一例を示す図である。
第2の実施形態に係る冷却装置を分解した図の一例である。
冷却装置が組み立てられた際の第5図のVI-VI断面の一例を示す図である。
第3の実施形態に係る冷却装置を分解した図の一例である。
第3の実施形態に係るカバーの内側を示す図の一例である。
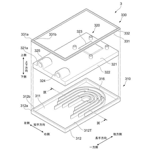
冷却装置が組み立てられた際の第7図のIX-IX断面の一例を示す図である。
第4の実施形態に係る冷却装置を分解した図の一例である。
冷却装置が組み立てられた際の第10図のXI-XI断面の一例を示す図である。
第5の実施形態に係る冷却装置を分解した図の一例である。
冷却装置が組み立てられた際の第12図のXIII-XIII断面の一例を示す図である。
【発明を実施するための形態】
【0008】
以下、添付図面を参照して、実施形態について詳細に説明する。
<第1の実施形態>
図1は、第1の実施形態に係る冷却装置1の一例を示す図の一例である。
第1の実施形態に係る冷却装置1は、冷却液を収容するケース10と、ケース10の開口部を覆うカバー20と、ケース10およびカバー20に連結される連結部材30と、を備える。
冷却装置1は、カバー20の外面に取り付けられる発熱体Pを、ケース10の内部に流れる冷却液を用いて冷却する。発熱体Pは、ECU(Electronic Control Unit)を構成するプリント基板に搭載されたSoC(System on a Chip)であることを例示できる。また、発熱体Pは、絶縁ゲートバイポーラトランジスタ(IGBT(Insulated Gate Bipolar Transistor))等のパワー半導体デバイスであることを例示することができる。また、発熱体Pは、IGBTと、このIGBTを制御する制御回路とがパッケージ化されたIGBTモジュールや、このIGBTモジュールと自己保護機能とがパッケージ化されたインテリジェントパワーモジュールであることを例示することができる。
【0009】
以下では、冷却装置1に発熱体Pが積層される方向を、「上下方向」と称し、発熱体P側を「上側」と称し、冷却装置1側を「下側」と称する場合がある。また、直方体状の冷却装置1における、上下方向に直交する矩形の長手方向を単に「長手方向」、上下方向に直交する矩形の短手方向を単に「短手方向」と称する場合がある。また冷却装置1には、冷却装置1の内部と外部とを連通して冷却液を内部に流入させる流入口14と、冷却液を外部に流出させる流出口15とが設けられている。これらの流入口14と流出口15とは、冷却装置1の長手方向の一方に設けられている。この流入口14と流出口15とが設けられている側を長手方向の「一方側」と称し、この一方側に対して反対側を長手方向の「他方側」と称する場合がある。さらに、図1に示されるように長手方向の一方側を手前に置いた場合における右側を短手方向の「右側」と称し、左側を短手方向の「左側」と称する場合がある。また、長手方向と短手方向とを区別する必要が無い場合には、長手方向と短手方向とをまとめて「水平方向」と称する場合がある。
また、冷却装置1において、冷却液を収容する内部を内側と称し、冷却装置1の外部を外側と称する場合がある。
【0010】
(ケース10)
図2は、第1の実施形態に係る冷却装置1を分解した図の一例である。
ケース10は、平板状の底部11と、底部11における端部から底部11に交差する方向に上側に突出した側部12と、この側部12の先端から外側に突出したフランジ部13と、を備える。また、ケース10は、上述した流入口14と、流出口15と、を備える。さらに、ケース10は、底部11と交差する方向に上側に突出した複数の整流板16を、備える。
(【0011】以降は省略されています)
この特許をJ-PlatPat(特許庁公式サイト)で参照する
関連特許
個人
電子部品の実装方法
7日前
株式会社コロナ
電気機器
3か月前
日本精機株式会社
回路基板
29日前
株式会社遠藤照明
照明装置
3か月前
個人
非衝突型ガウス加速器
1か月前
日本放送協会
基板固定装置
27日前
キヤノン株式会社
電子機器
21日前
アイホン株式会社
電気機器
21日前
個人
節電材料
2か月前
キヤノン株式会社
電子機器
3か月前
アイホン株式会社
電気機器
1か月前
イビデン株式会社
配線基板
今日
メクテック株式会社
配線基板
3か月前
メクテック株式会社
配線基板
1か月前
マクセル株式会社
配列用マスク
2か月前
東レ株式会社
霧化状活性液体供給装置
1か月前
イビデン株式会社
プリント配線板
3か月前
株式会社デンソー
電子装置
今日
FDK株式会社
基板
6日前
イビデン株式会社
配線基板
1か月前
イビデン株式会社
配線基板
1か月前
トキコーポレーション株式会社
照明器具
3か月前
イビデン株式会社
プリント配線板
2か月前
サクサ株式会社
筐体の壁掛け構造
1か月前
イビデン株式会社
プリント配線板
3か月前
イビデン株式会社
プリント配線板
27日前
メクテック株式会社
伸縮性配線基板
3か月前
メクテック株式会社
配線モジュール
3か月前
オムロン株式会社
端子折り曲げ治具
9日前
日産自動車株式会社
電子部品
19日前
新電元工業株式会社
電子装置
21日前
株式会社レゾナック
冷却装置
6日前
株式会社電気印刷研究所
金属画像形成方法
3か月前
カシン工業株式会社
PTC発熱装置
2か月前
新電元工業株式会社
充電装置
3か月前
日産自動車株式会社
電子機器
2か月前
続きを見る
他の特許を見る