TOP
|
特許
|
意匠
|
商標
特許ウォッチ
Twitter
他の特許を見る
10個以上の画像は省略されています。
公開番号
2025159802
公報種別
公開特許公報(A)
公開日
2025-10-22
出願番号
2024062570
出願日
2024-04-09
発明の名称
ステレオ光学系および撮像装置
出願人
キヤノン株式会社
代理人
個人
,
個人
,
個人
主分類
G02B
13/00 20060101AFI20251015BHJP(光学)
要約
【課題】高速かつ静音でのフォーカシングが可能で、高画質の立体撮像を行える小型のステレオ光学系を提供する。
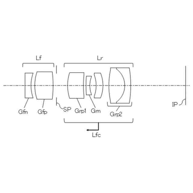
【解決手段】ステレオ光学系は、並列配置された2つの光学系OSR、OSLを有する。各光学系は共軸光学系であり、開口絞りSPと、該開口絞りより像側に配置されてフォーカシングのために隣り合うレンズまたはレンズ群との間隔を変化させるように移動するフォーカスレンズ群Lfcとを含む。2つの光学系の光軸間の距離をD、各光学系の焦点距離をf、各光学系の最大半画角をωとするとき、1.80≦D/f・tanω≦5.50なる条件を満足する。
【選択図】図1
特許請求の範囲
【請求項1】
並列配置された2つの光学系を有するステレオ光学系であって、
前記2つの光学系はそれぞれ共軸光学系であり、開口絞りと、該開口絞りより像側に配置されてフォーカシングのために隣り合うレンズまたはレンズ群との間隔を変化させるように移動するフォーカスレンズ群とを含み、
前記2つの光学系の光軸間の距離をD、前記2つの光学系のそれぞれの焦点距離をf、前記2つの光学系のそれぞれの最大半画角をωとするとき、
1.80≦D/f・tanω≦5.50
なる条件を満足することを特徴とするステレオ光学系。
続きを表示(約 1,500 文字)
【請求項2】
前記フォーカスレンズ群の焦点距離をfLfcとするとき、
1.00≦fLfc/f≦2.40
なる条件を満足することを特徴とする請求項1に記載のステレオ光学系。
【請求項3】
前記2つの光学系のそれぞれの前記開口絞りより像側の全てのレンズを含む後レンズ群における最も物体側のレンズ面から該後レンズ群における最も像側のレンズ面までの光軸上の距離をTLr、前記フォーカスレンズ群における最も像側の正レンズ要素の焦点距離をfGrp2とするとき、
0.30≦TLr/fGrp2≦1.60
なる条件を満足することを特徴とする請求項1に記載のステレオ光学系。
【請求項4】
前記フォーカスレンズ群における最も物体側の正レンズの焦点距離をfGrp1とするとき、
0.10≦fGrp1/fGrp2≦1.00
なる条件を満足することを特徴とする請求項1に記載のステレオ光学系。
【請求項5】
前記フォーカスレンズ群における最も物体側の正レンズの焦点距離をfGrp1、前記フォーカスレンズ群内において最も像側の正レンズ要素より物体側のレンズのうち最も負の屈折力が強い負レンズの焦点距離をfGnとするとき、
-1.60≦fGrn/fGrp1≦-0.30
なる条件を満足することを特徴とする請求項1に記載のステレオ光学系。
【請求項6】
前記フォーカスレンズ群における最も像側の正レンズ要素に含まれる正レンズの材料のd線を基準とするアッベ数をνdGrp2とするとき、
55.00≦νdGrp2≦100.00
なる条件を満足することを特徴とする請求項1に記載のステレオ光学系。
【請求項7】
前記フォーカスレンズ群における最も物体側のレンズ面から該フォーカスレンズ群の物体側主点位置までの光軸上の距離をo1Lfc、前記フォーカスレンズ群における前記最も物体側のレンズ面から該フォーカスレンズ群における最も像側のレンズ面までの光軸上の距離をTLfcとするとき、
0.10≦o1Lfc/TLfc≦0.85
なる条件を満足することを特徴とする請求項1に記載のステレオ光学系。
【請求項8】
前記2つの光学系のそれぞれにおける前記開口絞りより像側の全てのレンズを含む後レンズ群の焦点距離をfLr、前記開口絞りより物体側の全てのレンズを含む前レンズ群の焦点距離をfLfとするとき、
-0.50≦fLr/fLf≦1.40
なる条件を満足することを特徴とする請求項1に記載のステレオ光学系。
【請求項9】
前記2つの光学系のそれぞれにおける前記開口絞りより物体側の全てのレンズを含む前レンズ群の最も物体側のレンズ面から該前レンズ群の最も像側のレンズ面までの光軸上の距離をTLf、前記2つの光学系のそれぞれにおける前記開口絞りより像側の全てのレンズを含む後レンズ群の最も物体側のレンズ面から該後レンズ群の最も像側のレンズ面までの光軸上の距離をTLrとするとき、
0.10≦TLf/TLr≦1.00
なる条件を満足することを特徴とする請求項1に記載のステレオ光学系。
【請求項10】
前記2つの光学系のそれぞれにおける最も物体側の負レンズの物体側のレンズ面の曲率半径をR1、該最も物体側の負レンズの像側のレンズ面の曲率半径をR2とするとき、
-3.50≦(R2+R1)/(R2-R1)≦-0.50
なる条件を満足することを特徴とする請求項1に記載のステレオ光学系。
(【請求項11】以降は省略されています)
発明の詳細な説明
【技術分野】
【0001】
本発明は、立体撮影用のステレオ光学系に関する。
続きを表示(約 1,400 文字)
【背景技術】
【0002】
バーチャルリアリティその他の用途の立体視可能な撮影映像を取得するためのステレオ光学系が求められている。特許文献1には、それぞれ光路を途中で折り曲げる反射面を含む2つの光学系を並列配置し、物体側の光軸間距離(基線長)を確保しつつ像側の光軸間距離を小さくして単一の撮像素子による立体撮像を可能とするステレオ光学系が開示されている。特許文献2には、物体側から像側まで光軸がストレートに延びる2つ共軸光学系を並列配置した小型のステレオ光学系であって、フォーカス機構を有さないパンフォーカスタイプの光学系が開示されている。特許文献3には、ステレオ光学系ではないが、フォーカシングのために光学系全体を移動させる光学系が開示されている。
【先行技術文献】
【特許文献】
【0003】
特開2020-008629号公報
特開2012-003022号公報
特開2014-085429号公報
【発明の開示】
【発明が解決しようとする課題】
【0004】
特許文献1のステレオ光学系は、2つの光学系がそれぞれ反射面を含むために、基線長方向に大型化し易い。
【0005】
一方、特許文献2のステレオ光学系では、反射面を含まない2つの共軸光学系を用いているため小型化には有利である。しかしながら、基線長(つまりは視差量)が不足して撮影映像から得られる立体感が弱くなる。しかも、パンフォーカスのためにFナンバーが大きく設定されており、この結果、撮影映像から得られる立体感がさらに弱まる。
【0006】
さらに特許文献2のステレオ光学系のように軽量化のためにレンズ数を削減すると、像面に配置される撮像素子上での軸外光線の入射角度が大きくなり、撮像素子で発生する画像の色づき(以下、色シェーディングという)が顕著になる。この結果、撮影映像の画質が低下する。
【0007】
特許文献3のようにフォーカシングのために光学系全体を移動させる光学系をステレオ光学系の2つの光学系として用いると、該2つの光学系全体を駆動するアクチュエータの負荷が大きくなり、高速かつ静音でのフォーカシングを行うことが困難になる。
【0008】
本発明は、高速かつ静音でのフォーカシングが可能であり、高画質の立体撮像を行える小型のステレオ光学系を提供する。
【課題を解決するための手段】
【0009】
本発明の一側面としてのステレオ光学系は、並列配置された2つの光学系を有する。2つの光学系はそれぞれ共軸光学系であり、開口絞りと、該開口絞りより像側に配置されてフォーカシングのために隣り合うレンズまたはレンズ群との間隔を変化させるように移動するフォーカスレンズ群とを含む。2つの光学系の光軸間の距離をD、2つの光学系のそれぞれの焦点距離をf、2つの光学系のそれぞれの最大半画角をωとするとき、
1.80≦D/f・tanω≦5.50
なる条件を満足することを特徴とする。なお、上記ステレオ光学系を備えた撮像装置も、本発明の他の一側面を構成する。
【発明の効果】
【0010】
本発明によれば、高速かつ静音でのフォーカシングが可能であり、高画質の立体撮像を行える小型のステレオ光学系を提供することができる。
【図面の簡単な説明】
(【0011】以降は省略されています)
この特許をJ-PlatPat(特許庁公式サイト)で参照する
関連特許
キヤノン株式会社
容器
2日前
キヤノン株式会社
容器
8日前
キヤノン株式会社
トナー
11日前
キヤノン株式会社
トナー
29日前
キヤノン株式会社
トナー
24日前
キヤノン株式会社
トナー
24日前
キヤノン株式会社
トナー
24日前
キヤノン株式会社
撮影装置
22日前
キヤノン株式会社
撮像装置
25日前
キヤノン株式会社
定着装置
23日前
キヤノン株式会社
現像装置
15日前
キヤノン株式会社
記録装置
8日前
キヤノン株式会社
撮像装置
29日前
キヤノン株式会社
撮像装置
8日前
キヤノン株式会社
撮像装置
8日前
キヤノン株式会社
現像容器
22日前
キヤノン株式会社
現像装置
22日前
キヤノン株式会社
現像容器
22日前
キヤノン株式会社
現像装置
22日前
キヤノン株式会社
測距装置
17日前
キヤノン株式会社
撮像装置
8日前
キヤノン株式会社
記録装置
22日前
キヤノン株式会社
撮像装置
2日前
キヤノン株式会社
記録装置
29日前
キヤノン株式会社
表示装置
2日前
キヤノン株式会社
モジュール
24日前
キヤノン株式会社
光学センサ
24日前
キヤノン株式会社
カートリッジ
22日前
キヤノン株式会社
画像形成装置
8日前
キヤノン株式会社
画像処理装置
22日前
キヤノン株式会社
画像形成装置
22日前
キヤノン株式会社
画像形成装置
22日前
キヤノン株式会社
画像形成装置
22日前
キヤノン株式会社
画像形成装置
5日前
キヤノン株式会社
光電変換装置
5日前
キヤノン株式会社
画像形成装置
5日前
続きを見る
他の特許を見る