TOP
|
特許
|
意匠
|
商標
特許ウォッチ
Twitter
他の特許を見る
公開番号
2025161012
公報種別
公開特許公報(A)
公開日
2025-10-24
出願番号
2024063834
出願日
2024-04-11
発明の名称
打ち抜き加工装置
出願人
トヨタ自動車株式会社
代理人
個人
主分類
B21D
28/00 20060101AFI20251017BHJP(本質的には材料の除去が行なわれない機械的金属加工;金属の打抜き)
要約
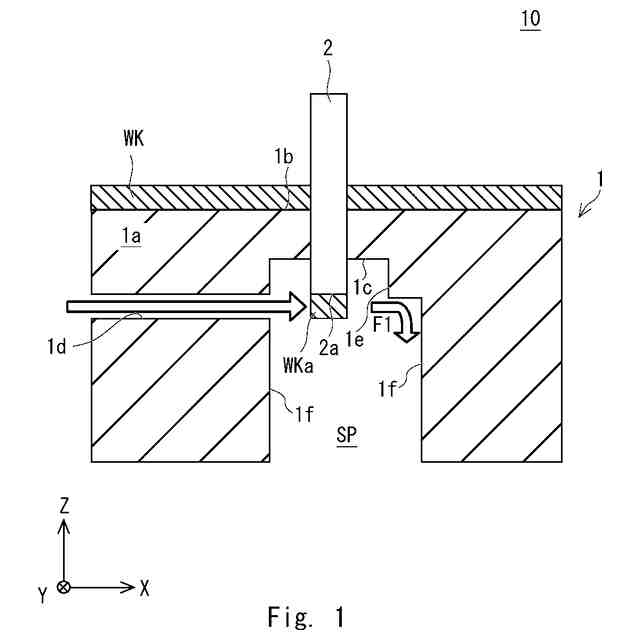
【課題】打ち抜き屑が打ち抜き工具に再度付着するおそれを抑制できる打ち抜き加工装置を提供する。
【解決手段】本開示に係る打ち抜き加工装置10は、ワークWKを治具1に載置し、打ち抜き工具2をワークWKへ押し込むことによって、ワークWKを打ち抜く。打ち抜き加工装置10は、ワークWKが載置された載置面1bと、載置面1bの反対側の面1cとを有する治具1と、ワークWKが打ち抜かれた場合、載置面1bの反対側の面1cから突き出る打ち抜き工具2とを備える。治具1は、打ち抜き工具2の先端2aに対して、打ち抜き工具2の突き出る方向と交差する方向に空気を吹き付けるエアーブロー供給部1dと、載置面1bの反対側の面1cに設けられた段付き部1eとを備える。
【選択図】図1
特許請求の範囲
【請求項1】
ワークを治具に載置し、打ち抜き工具を前記ワークへ押し込むことによって、前記ワークを打ち抜く打ち抜き加工装置であって、
前記ワークが載置された載置面と、前記載置面の反対側の面とを有する治具と、
前記ワークが打ち抜かれた場合、前記載置面の反対側の面から突き出る打ち抜き工具と、を備え、
前記治具は、
前記打ち抜き工具の先端に対して、前記打ち抜き工具の突き出る方向と交差する方向に空気を吹き付けるエアーブロー供給部と、
前記載置面の反対側の面に設けられた段付き部と、を備える、
打ち抜き加工装置。
発明の詳細な説明
【技術分野】
【0001】
本開示は打ち抜き加工装置に関する。
続きを表示(約 1,400 文字)
【背景技術】
【0002】
特許文献1に開示のシート材の打ち抜き加工方法では、先ず、ダイ上にセラミックグリーンシートを載置し、パンチをダイに向けて往復運動させ、セラミックグリーンシートを打ち抜いて孔を形成する。その後、更にパンチを下降させ、パンチを孔に挿通させる。そうすると、孔内において、パンチの先端部と打ち抜き屑との間の空間内に存在する空気が圧縮され、この圧縮された空気により打ち抜き屑が下方に吹き飛ばされる。
【先行技術文献】
【特許文献】
【0003】
特開平07-276295号公報
【発明の概要】
【発明が解決しようとする課題】
【0004】
本願発明者等は、以下の技術的な課題を発見した。
ワークを治具に載置した後、打ち抜き工具をワーク側から治具側へ押し込むことによって、ワークを打ち抜く打ち抜き加工装置がある。このような打ち抜き加工装置がワークを打ち抜いた後、打ち抜き工具の先端はワーク側から治具側へ突き出る。打ち抜き工具の先端には、打ち抜き屑が付着することがある。本願発明者等は、打ち抜き工具の先端に付着した打ち抜き屑を除去すべく、エアーブローを治具側から打ち抜き工具へ供給することを想起した。しかし、打ち抜き屑がエアーブローによって吹き飛ばされ、打ち抜き工具に再度付着するおそれがある。
【0005】
本開示は、上述した課題を鑑みてなされたものであり、打ち抜き屑が打ち抜き工具に再度付着するおそれを抑制することができる打ち抜き加工装置を提供するものである。
【課題を解決するための手段】
【0006】
本開示に係る打ち抜き加工装置は、
ワークを治具に載置し、打ち抜き工具を前記ワークへ押し込むことによって、前記ワークを打ち抜く打ち抜き加工装置であって、
前記ワークが載置された載置面と、前記載置面の反対側の面とを有する治具と、
前記ワークが打ち抜かれた場合、前記載置面の反対側の面から突き出る打ち抜き工具と、を備え、
前記治具は、
前記打ち抜き工具の先端に対して、前記打ち抜き工具の突き出る方向と交差する方向に空気を吹き付けるエアーブロー供給部と、
前記載置面の反対側の面に設けられた段付き部と、を備える。
【発明の効果】
【0007】
本開示によれば、打ち抜き屑が打ち抜き工具に再度付着するおそれを抑制することができる。
【図面の簡単な説明】
【0008】
実施の形態1に係る打ち抜き加工装置の一構成例を示す模式図である。
【発明を実施するための形態】
【0009】
以下、本発明を適用した具体的な実施形態について、図面を参照しながら詳細に説明する。ただし、本発明が以下の実施形態に限定される訳ではない。また、説明を明確にするため、以下の記載及び図面は、適宜、簡略化されている。
【0010】
なお、当然のことながら、図1及びその他の図面に示した右手系XYZ座標は、構成要素の位置関係を説明するための便宜的なものである。通常、Z軸プラス向きが鉛直上向き、XY平面が水平面であり、図面間で共通である。
(【0011】以降は省略されています)
この特許をJ-PlatPat(特許庁公式サイト)で参照する
関連特許
トヨタ自動車株式会社
電池
8日前
トヨタ自動車株式会社
車両
2日前
トヨタ自動車株式会社
車両
8日前
トヨタ自動車株式会社
車体
4日前
トヨタ自動車株式会社
車両
1日前
トヨタ自動車株式会社
車両
15日前
トヨタ自動車株式会社
車両
10日前
トヨタ自動車株式会社
方法
2日前
トヨタ自動車株式会社
車両
16日前
トヨタ自動車株式会社
方法
2日前
トヨタ自動車株式会社
方法
11日前
トヨタ自動車株式会社
椅子
11日前
トヨタ自動車株式会社
電池
17日前
トヨタ自動車株式会社
電池
1日前
トヨタ自動車株式会社
方法
11日前
トヨタ自動車株式会社
車両
3日前
トヨタ自動車株式会社
方法
3日前
トヨタ自動車株式会社
方法
1日前
トヨタ自動車株式会社
モータ
3日前
トヨタ自動車株式会社
電磁弁
11日前
トヨタ自動車株式会社
正極層
1日前
トヨタ自動車株式会社
加熱器
15日前
トヨタ自動車株式会社
電動車
11日前
トヨタ自動車株式会社
固定子
16日前
トヨタ自動車株式会社
電動機
1日前
トヨタ自動車株式会社
自動車
2日前
トヨタ自動車株式会社
モータ
9日前
トヨタ自動車株式会社
飛行体
8日前
トヨタ自動車株式会社
充電装置
3日前
トヨタ自動車株式会社
蓄電セル
1日前
トヨタ自動車株式会社
報知装置
3日前
トヨタ自動車株式会社
蓄電セル
1日前
トヨタ自動車株式会社
路側装置
17日前
トヨタ自動車株式会社
蓄電装置
1日前
トヨタ自動車株式会社
塗工装置
1日前
トヨタ自動車株式会社
電源装置
8日前
続きを見る
他の特許を見る