TOP
|
特許
|
意匠
|
商標
特許ウォッチ
Twitter
他の特許を見る
10個以上の画像は省略されています。
公開番号
2025155191
公報種別
公開特許公報(A)
公開日
2025-10-14
出願番号
2024058842
出願日
2024-04-01
発明の名称
椅子
出願人
トヨタ自動車株式会社
代理人
個人
主分類
A61G
15/04 20060101AFI20251006BHJP(医学または獣医学;衛生学)
要約
【課題】ユーザが無自覚のうちに、姿勢を維持するために必要な複数の抗重力筋を活性化できる椅子を提供すること。
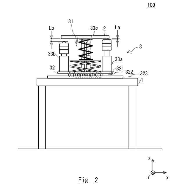
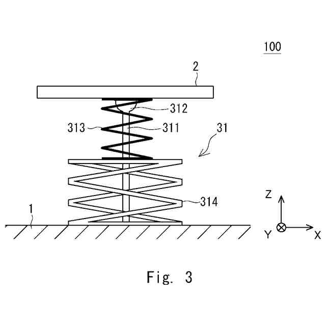
【解決手段】本開示の椅子100では、座面2は、着座したユーザの骨盤に傾斜を与える。剛体支柱311は、ベース1に固定された下端部と、座面2が半径方向全周に渡って傾斜可能に座面2に固定された上端部と、を含む。弾性体313は、座面の下方に配置され、座面2の傾斜角度に応じて座面2の半径方向全周に渡って復元力を発生する。調整機構314は、弾性体313とベース1との間に配置され、弾性体313の復元力の大きさを調整する。回転台32は、ベース1の上方に設置され、動力に基づいて上下方向の軸周りを回転する。上下方向の長さの異なる複数の支持支柱33は、回転台32の上方に設置され、座面2が傾斜した際に上端部において座面2を支持する。モータ5は、動力を発生させる。
【選択図】図3
特許請求の範囲
【請求項1】
ベースと、
着座したユーザの骨盤に傾斜を与える座面と、
前記ベースに固定された下端部と、前記座面が半径方向全周に渡って傾斜可能に前記座面に固定された上端部と、を含む剛体支柱と、
前記座面の下方に配置された、前記座面の傾斜角度に応じて前記座面の半径方向全周に渡って復元力を発生する弾性体と、
前記弾性体と前記ベースとの間に配置された、前記弾性体の復元力の大きさを調整する調整機構と、
前記ベースの上方に設置され、動力に基づいて上下方向の軸周りを回転する回転台と、
前記回転台の上方に設置され、前記座面が傾斜した際に上端部において前記座面を支持する、上下方向の長さの異なる複数の支持支柱と、
前記動力を発生させるモータと、を備える
椅子。
続きを表示(約 650 文字)
【請求項2】
前記弾性体は、
前記座面の傾斜角度に応じて前記座面の半径方向全周に渡って復元力を発生するように、前記弾性体の中心軸が前記剛体支柱の中心軸と一致するように前記座面と前記調整機構との間に配置されている
請求項1に記載の椅子。
【請求項3】
前記弾性体は、
前記座面の傾斜角度に応じて前記座面の半径方向全周に渡って復元力を発生するように、前記剛体支柱の周方向に渡って前記座面と前記調整機構との間に複数配置される
請求項1に記載の椅子。
【請求項4】
前記調整機構は、
前記弾性体と当接する面を前記剛体支柱に沿って移動させ、前記弾性体の復元力の大きさを調整する
請求項1に記載の椅子。
【請求項5】
前記剛体支柱は、Dカット部と、Dカット部の下方に配置された雄ねじ部とを含み、
前記調整機構は、
前記Dカット部が挿入される貫通孔を含む支持部と、
前記雄ねじ部に螺合するナット部と、
前記弾性体は、前記座面と前記支持部との間に配置され、
前記支持部は、前記貫通孔に前記Dカット部が挿入され前記Dカット部に沿って移動可能な状態で前記剛体支柱に取り付けられており、
前記ナット部の前記雄ねじ部に対する螺合量を調整し、前記支持部を前記Dカット部に沿って移動させることにより、前記弾性体の復元力の大きさを調整する
請求項1に記載の椅子。
発明の詳細な説明
【技術分野】
【0001】
本開示は、椅子に関する。
続きを表示(約 1,600 文字)
【背景技術】
【0002】
特許文献1には、座面を所定方向に傾斜するように固定させた状態で、座面を全周囲方向に変化させることで、ユーザの体幹の運動を誘発する椅子が開示されている。また、特許文献1には、フリージョイントで台座と座面をつなぐことでユーザの傾きのままに座面の傾斜を生成する椅子が開示されている。
【先行技術文献】
【特許文献】
【0003】
特開2003-235917号公報
【発明の概要】
【発明が解決しようとする課題】
【0004】
しかしながら、特許文献1に係る椅子では、座面の傾斜が固定されるため、ユーザの特定姿勢を作るための筋のみが緊張することが予想される。また、当該椅子では、座面の傾斜がユーザの姿勢によって決められるので,傾きに対する筋の活性度合いは限定的となることが予想される。したがって、特許文献1に係る椅子では、ユーザが無自覚のうちに、姿勢を維持するために必要な複数の抗重力筋を活性化できないという課題があった。
【0005】
本開示は、そのような課題を鑑みることによって、ユーザが無自覚のうちに、姿勢を維持するために必要な複数の抗重力筋を活性化できる椅子を提供することを目的とする。
【課題を解決するための手段】
【0006】
本開示の椅子は、
ベースと、
着座したユーザの骨盤に傾斜を与える座面と、
前記ベースに固定された下端部と、前記座面が半径方向全周に渡って傾斜可能に前記座面に固定された上端部と、を含む剛体支柱と、
前記座面の下方に配置された、前記座面の傾斜角度に応じて前記座面の半径方向全周に渡って復元力を発生する弾性体と、
前記弾性体と前記ベースとの間に配置された、前記弾性体の復元力の大きさを調整する調整機構と、
前記ベースの上方に設置され、動力に基づいて上下方向の軸周りを回転する回転台と、
前記回転台の上方に設置され、前記座面が傾斜した際に上端部において前記座面を支持する、上下方向の長さの異なる複数の支持支柱と、
前記動力を発生させるモータと、を備える。
【0007】
本開示の椅子は、
前記弾性体は、
前記座面の傾斜角度に応じて前記座面の半径方向全周に渡って復元力を発生するように、前記弾性体の中心軸が前記剛体支柱の中心軸と一致するように前記座面と前記調整機構との間に配置されている。
【0008】
本開示の椅子は、
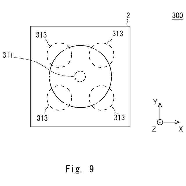
前記弾性体は、
前記座面の傾斜角度に応じて前記座面の半径方向全周に渡って復元力を発生するように、前記剛体支柱の周方向に渡って前記座面と前記調整機構との間に1又は複数配置される。
【0009】
本開示の椅子は、
前記調整機構は、
前記弾性体と当接する面を前記剛体支柱に沿って移動させ、前記弾性体の復元力の大きさを調整する。
【0010】
本開示の椅子は、
前記剛体支柱は、Dカット部と、Dカット部の下方に配置された雄ねじ部とを含み、
前記調整機構は、
前記Dカット部が挿入される貫通孔を含む支持部と、
前記雄ねじ部に螺合するナット部と、
前記弾性体は、前記座面と前記支持部との間に配置され、
前記支持部は、前記貫通孔に前記Dカット部が挿入され前記Dカット部に沿って移動可能な状態で前記剛体支柱に取り付けられており、
前記ナット部の前記雄ねじ部に対する螺合量を調整し、前記支持部を前記Dカット部に沿って移動させることにより、前記弾性体の復元力の大きさを調整する。
(【0011】以降は省略されています)
この特許をJ-PlatPat(特許庁公式サイト)で参照する
関連特許
個人
短下肢装具
2か月前
個人
前腕誘導装置
2か月前
個人
排尿補助器具
1日前
個人
嚥下鍛錬装置
3か月前
個人
胸骨圧迫補助具
1か月前
個人
アイマスク装置
1か月前
個人
汚れ防止シート
16日前
個人
ホバーアイロン
6か月前
個人
矯正椅子
4か月前
個人
歯の修復用材料
3か月前
個人
バッグ式オムツ
4か月前
個人
歯の保護用シール
4か月前
個人
陣痛緩和具
3か月前
個人
シャンプー
5か月前
個人
湿布連続貼り機。
1か月前
個人
哺乳瓶冷まし容器
2か月前
株式会社八光
剥離吸引管
4か月前
個人
エア誘導コルセット
1か月前
株式会社大野
骨壷
3か月前
個人
性行為補助具
2か月前
個人
治療用酸化防御装置
1か月前
株式会社GSユアサ
歩行器
4か月前
株式会社ダリヤ
毛髪化粧料
26日前
株式会社ニデック
眼科装置
4か月前
個人
形見の製造方法
3か月前
個人
精力増強キット
20日前
株式会社ニデック
眼科装置
5日前
株式会社ニデック
眼科装置
28日前
株式会社ニデック
検眼装置
3か月前
株式会社ニデック
眼科装置
28日前
個人
シリンダ式歩行補助具
2か月前
株式会社コロナ
サウナ装置
5か月前
個人
高気圧環境装置
4か月前
個人
手指運動ツール
1か月前
株式会社松風
口腔用組成物
3か月前
株式会社コーセー
油性化粧料
2か月前
続きを見る
他の特許を見る