TOP
|
特許
|
意匠
|
商標
特許ウォッチ
Twitter
他の特許を見る
公開番号
2025149663
公報種別
公開特許公報(A)
公開日
2025-10-08
出願番号
2024050435
出願日
2024-03-26
発明の名称
電池
出願人
トヨタ自動車株式会社
代理人
個人
,
個人
,
個人
,
個人
,
個人
,
個人
,
個人
主分類
H01M
10/0585 20100101AFI20251001BHJP(基本的電気素子)
要約
【課題】本開示は、体積効率が改善された電池を提供する。
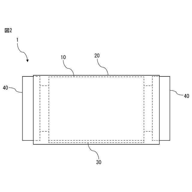
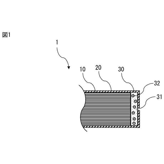
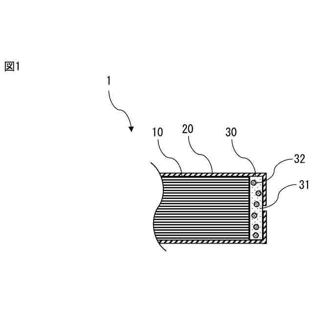
【解決手段】本開示の電池1は、電極積層体10及び電極積層体を封止しているラミネートフィルム20を有する。電極積層体の側面部には、バリア部材30が配置されている。本開示の電池において、ラミネートフィルムの複数の端部は、互いに対向するように、バリア部材に接着されている。バリア部材は、ポリプロピレン及びパーフルオロアルコキシアルカンからなる群より選択される樹脂で構成されていてよい。バリア部材は、樹脂とフィラーとの混合物で構成されていてよく、かつフィラーの熱伝導率は、樹脂の熱伝導率よりも大きくてよい。本開示の電池は、電極積層体の集電箔に電気的に接続されている集電端子を更に有していてよく、ラミネートフィルムが、集電端子と共に、電極積層体を封止していてよい。
【選択図】図1
特許請求の範囲
【請求項1】
電極積層体、及び前記電極積層体を封止しているラミネートフィルムを有する電池であって、
前記電極積層体の側面部にバリア部材が配置されており、
前記ラミネートフィルムの複数の端部が、互いに対向するように、前記バリア部材に接着されている、
電池。
続きを表示(約 290 文字)
【請求項2】
前記バリア部材が、ポリプロピレン及びパーフルオロアルコキシアルカンからなる群より選択される樹脂で構成されている、請求項1に記載の電池。
【請求項3】
前記バリア部材が、樹脂とフィラーとの混合物で構成されており、かつ
前記フィラーの熱伝導率が、前記樹脂の熱伝導率よりも大きい、
請求項1に記載の電池。
【請求項4】
前記電極積層体の集電箔に電気的に接続されている集電端子を更に有し、
前記ラミネートフィルムが、前記集電端子と共に、前記電極積層体を封止している、
請求項1~3のいずれか一項に記載の電池。
発明の詳細な説明
【技術分野】
【0001】
本開示は、電池に関する。
続きを表示(約 1,400 文字)
【背景技術】
【0002】
近年、携帯機器や自動車等の電源として高性能な電池が広く利用されている。このような電池の外装材として、単位体積及び単位質量当たりの電池容量を増大させるために、ラミネートフィルムを採用した電池が開発されている。
【0003】
外装材としてラミネートフィルムを採用した電池では、電極積層体の周縁部分において、ラミネートフィルムが、電池パック等における電池の収納スペースを余分に占有し、これによって電池の体積効率が低下することがある。そのため、かかる課題の解決が望まれている。
【0004】
例えば、特許文献1は、第一及び第二のフィルムを重ね合わせたラミネート部材と、前記ラミネート部材の前記第一及び第二のフィルムの間に収納された電池セルとを有するラミネート型電池であって、前記ラミネート部材の周縁部分が、前記第一及び第二のフィルムが互いに接着されている外縁部、並びに前記第一及び第二のフィルムが互いに接着されていない内縁部を有し、前記外縁部が、前記電池セルの側面に沿って1回以上折り曲げられ、かつ前記内縁部が、前記電池セルの側面に沿って1回以上折り曲げられている、ラミネート型電池を開示している。
【先行技術文献】
【特許文献】
【0005】
特開2016-139494号公報
【発明の概要】
【発明が解決しようとする課題】
【0006】
外装材としてラミネートフィルムを採用した電池において、体積効率を更に向上させる観点で、改善の余地がある。
【0007】
本開示は、体積効率が改善された電池を提供することを目的とする。
【課題を解決するための手段】
【0008】
本件開示者等は、以下の手段により上記課題を解決することができることを見出した。
〈態様1〉
電極積層体、及び前記電極積層体を封止しているラミネートフィルムを有する電池であって、
前記電極積層体の側面部にバリア部材が配置されており、
前記ラミネートフィルムの複数の端部が、互いに対向するように、前記バリア部材に接着されている、
電池。
〈態様2〉
前記バリア部材が、ポリプロピレン及びパーフルオロアルコキシアルカンからなる群より選択される樹脂で構成されている、態様1に記載の電池。
〈態様3〉
前記バリア部材が、樹脂とフィラーとの混合物で構成されており、かつ
前記フィラーの熱伝導率が、前記樹脂の熱伝導率よりも大きい、
態様1に記載の電池。
〈態様4〉
前記電極積層体の集電箔に電気的に接続されている集電端子を更に有し、
前記ラミネートフィルムが、前記集電端子と共に、前記電極積層体を封止している、
態様1~3のいずれか一項に記載の電池。
【発明の効果】
【0009】
本開示によれば、体積効率が改善された電池を提供することができる。
【図面の簡単な説明】
【0010】
図1は、本開示の電池に関して、ラミネートフィルムがバリア部材に接着されている部分の一例を示す概略側面図である。
図2は、本開示の電池の一例を示す概略平面図である。
【発明を実施するための形態】
(【0011】以降は省略されています)
この特許をJ-PlatPat(特許庁公式サイト)で参照する
関連特許
トヨタ自動車株式会社
車両
今日
トヨタ自動車株式会社
車両
6日前
トヨタ自動車株式会社
車両
6日前
トヨタ自動車株式会社
電池
2日前
トヨタ自動車株式会社
電池
1日前
トヨタ自動車株式会社
ロータ
8日前
トヨタ自動車株式会社
電解液
6日前
トヨタ自動車株式会社
電動車
6日前
トヨタ自動車株式会社
電動車
6日前
トヨタ自動車株式会社
電動車
6日前
トヨタ自動車株式会社
電動車
2日前
トヨタ自動車株式会社
ケース
1日前
トヨタ自動車株式会社
回転子
6日前
トヨタ自動車株式会社
固定子
今日
トヨタ自動車株式会社
蓄電装置
6日前
トヨタ自動車株式会社
監視装置
今日
トヨタ自動車株式会社
バッテリ
今日
トヨタ自動車株式会社
バッテリ
今日
トヨタ自動車株式会社
切断装置
6日前
トヨタ自動車株式会社
蓄電装置
8日前
トヨタ自動車株式会社
蓄電セル
6日前
トヨタ自動車株式会社
路側装置
1日前
トヨタ自動車株式会社
制御装置
1日前
トヨタ自動車株式会社
電源装置
6日前
トヨタ自動車株式会社
製造装置
今日
トヨタ自動車株式会社
蓄電装置
1日前
トヨタ自動車株式会社
蓄電装置
7日前
トヨタ自動車株式会社
駆動装置
6日前
トヨタ自動車株式会社
蓄電装置
7日前
トヨタ自動車株式会社
育苗装置
7日前
トヨタ自動車株式会社
ロボット
2日前
トヨタ自動車株式会社
塗工装置
今日
トヨタ自動車株式会社
塗布装置
8日前
トヨタ自動車株式会社
制御装置
6日前
トヨタ自動車株式会社
蓄電セル
8日前
トヨタ自動車株式会社
蓄電セル
8日前
続きを見る
他の特許を見る