TOP
|
特許
|
意匠
|
商標
特許ウォッチ
Twitter
他の特許を見る
10個以上の画像は省略されています。
公開番号
2025161029
公報種別
公開特許公報(A)
公開日
2025-10-24
出願番号
2024063869
出願日
2024-04-11
発明の名称
樹脂成形用金型
出願人
三菱電機株式会社
代理人
弁理士法人ぱるも特許事務所
主分類
B29C
45/73 20060101AFI20251017BHJP(プラスチックの加工;可塑状態の物質の加工一般)
要約
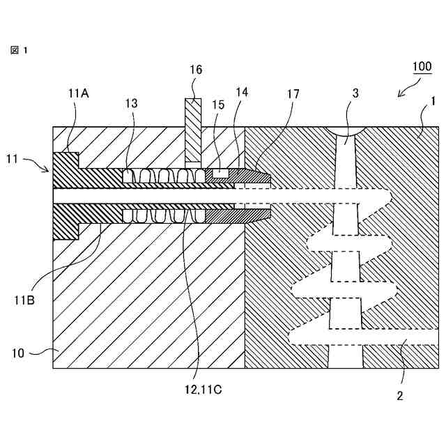
【課題】冷却水の通路を設けたスプルブッシュを有する樹脂成形用金型の入子を固定型に組み込む場合、固定型と入子の境界面における止水部にOリングを使用するが、長期使用によりOリングに圧縮永久ひずみが生じて十分な反力が得られず、金型外部に漏水してしまうリスクが高まる。
【解決手段】金型に形成された孔に固定され、内部に温調配管が形成されたピストン嵌合ピン、ピストン嵌合ピンに挿入され、孔内に配置された弾性部材、ピストン篏合ピンに篏合され弾性部材と係合するとともにピストン篏合ピンの長手方向に移動可能なピストン、ピストンを弾性部材の弾性力に抗して孔内に収納するように固定する固定部材、を備え、他の金型の流路と接続する場合に、固定部材の固定を解除することによりピストンを他の金型内に前進させ、弾性部材の弾性力によりピストンの先端部が他の金型の流路の周囲を押圧して止水する。
【選択図】図1
特許請求の範囲
【請求項1】
他の金型に形成された温調媒体の流路と接続するための止水機構を有する樹脂成形用金型において、
前記止水機構は、金型に形成された孔に固定され、内部に温調配管が形成されたピストン嵌合ピン、前記ピストン嵌合ピンに挿入され、前記孔内に配置された弾性部材、前記ピストン嵌合ピンに篏合され前記弾性部材と係合するとともに前記ピストン嵌合ピンの長手方向に移動可能なピストン、前記ピストンを前記弾性部材の弾性力に抗して前記孔内に収納するように固定する固定部材、を備え、前記他の金型の流路と接続する場合に、前記固定部材の固定を解除することにより前記ピストンを前記他の金型内に前進させ、前記弾性部材の弾性力により前記ピストンの先端部が前記他の金型の流路の周囲を押圧して止水することを特徴とする樹脂成形用金型。
続きを表示(約 630 文字)
【請求項2】
前記ピストンは弾性体で構成されていることを特徴とする請求項1に記載の樹脂成形用金型。
【請求項3】
前記ピストンの先端部は弾性体で形成され、前記先端部以外は金属または樹脂で形成されていることを特徴とする請求項1に記載の樹脂成形用金型。
【請求項4】
前記固定部材は、前記孔の外部からピストンに形成された凹部に篏装する凸状の部材であることを特徴とする請求項1から3のいずれか1項に記載の樹脂成形用金型。
【請求項5】
前記ピストンの側面は、前記他の金型の端面に形成されたテーパー状の流路の入口に沿って位置決めされるようにテーパー状に形成されていることを特徴とする請求項1から3のいずれか1項に記載の樹脂成形用金型。
【請求項6】
前記ピストンの先端部は内径側に突出する面状部分を有し、ピストン収納時にこの面状部分と前記ピストン嵌合ピンに形成された前記温調配管の先端部とが接触することを特徴とする請求項1から3のいずれか1項に記載の樹脂成形用金型。
【請求項7】
前記ピストンが篏合されている前記ピストン嵌合ピンの先端部周囲にOリングを挿入する空隙を形成したことを特徴とする請求項1から3のいずれか1項に記載の樹脂成形用金型。
【請求項8】
前記他の金型は、スプルブッシュ入子であることを特徴とする請求項1から3のいずれか1項に記載の樹脂成形用金型。
発明の詳細な説明
【技術分野】
【0001】
本開示は、樹脂成形用金型に関するものである。
続きを表示(約 1,800 文字)
【背景技術】
【0002】
熱可塑性樹脂を用いた樹脂部品の成形方法として、一般的によく知られている方法に射出成形がある。この射出成形において樹脂部品を効率よく成形するためには、溶融樹脂の射出、保圧、冷却、計量、金型開閉、および樹脂部品の突出しなどの工程で構成される一連の成形プロセスに要する時間(以下、サイクルタイム)を短縮することが求められる。
【0003】
樹脂部品の形状、サイズ、使用する樹脂、および要求される品質などにより左右されるため一概には言えないが、このサイクルタイムの中で特に時間を要する工程が、冷却工程である。冷却工程は、射出ユニット内部で高温に加熱溶融された樹脂が、金型温調器により30℃から150℃に調整された金型表面に接触するときの熱交換により冷却され、固化する工程である。この冷却工程は、樹脂部品を金型に彫り込んだ形状を転写した状態で金型外に取り出すために不可欠な工程である。
【0004】
例えば、高温で溶融した樹脂が金型内部に射出されるときに最初に通過するスプル部は、特に冷却効率が要求される部品の一つである。スプル部に流れ込んだ溶融樹脂はその時点から金型表面との間で熱交換が開始され、経時的に冷却固化が進んでいく。このスプル部が完全に固化すると、その先に繋がるランナ部、ゲート部、および樹脂部品形状を彫り込んだ製品部に溶融樹脂が充填されず、ショートまたはヒケと言ったあらゆる成形不良を引き起こす原因となる。
【0005】
そのため、スプル部はランナ部などの他の部分に比べて樹脂流路断面積が大きくなるように設計することが一般的であり、その結果、金型内で最後に冷却固化が完了する冷却時間の律速部になることが多い。従って、サイクルタイムを短縮して、樹脂部品の生産性を向上するためには、スプル部の冷却時間を短縮する方法が知られている(例えば、特許文献1参照)。
【先行技術文献】
【特許文献】
【0006】
特開2011-218735号公報
【発明の概要】
【発明が解決しようとする課題】
【0007】
特許文献1では、スプルブッシュの外側に冷却水の通路を設け、この通路を流れる冷却水によってスプル部の樹脂を冷却する。この構成により、スプル部の樹脂の冷却固化が促進されるため、サイクルタイムの短縮が期待できる。冷却水の通路を設けたスプルブッシュを有する樹脂成形用金型の入子を固定型に組み込む場合、固定型と入子の境界面における止水部にOリングを使用するが、長期使用によりOリングに圧縮永久ひずみが生じて十分な反力が得られず、金型外部に漏水してしまうリスクが高まる。
【0008】
また、止水部において完全に水の侵入を防ぐことができず、微小な水の侵入が生じる。この部分では水の対流が起こりにくく、水中に溶存している酸素の供給が停止する結果、温調流路との間で酸素濃度の差に伴う局部電池を形成する。この結果、入子境界面に隙間腐食が生じて、隙間が発生することにより、止水性の低下が誘起される。
【0009】
本開示は、上述のような課題を解決するためになされたもので、長期的な使用においても止水性の低下を抑制でき、要求する冷却効率を長期間保持することができる温調配管を有する樹脂成形用金型を提供することを目的とする。
【課題を解決するための手段】
【0010】
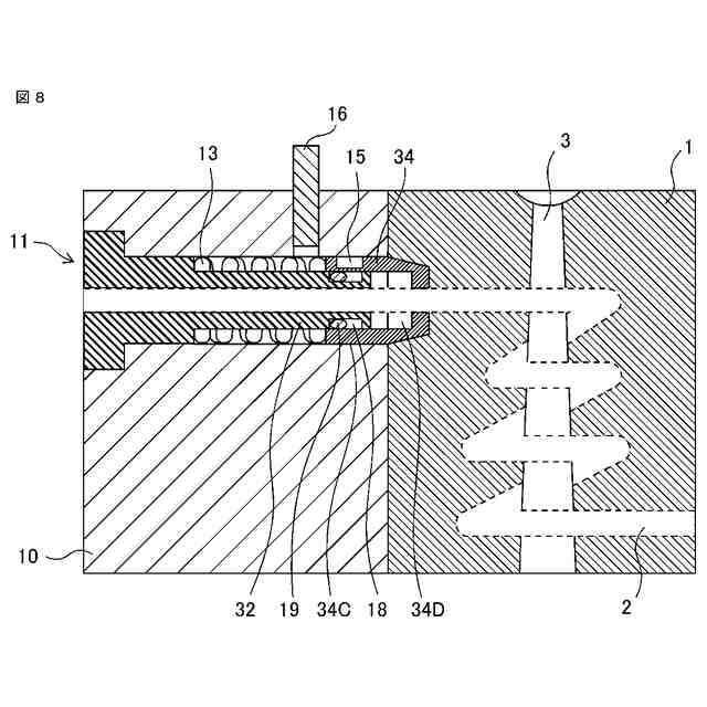
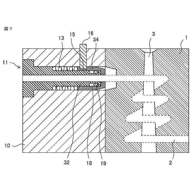
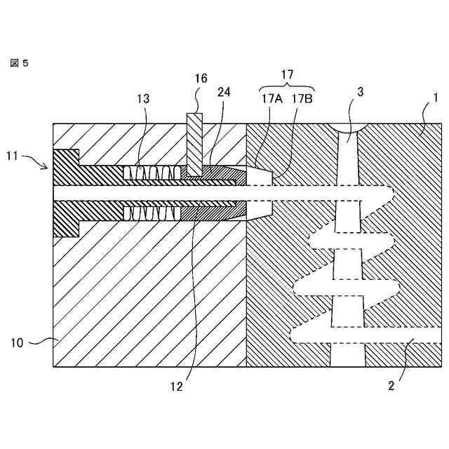
本開示の樹脂成形用金型は、他の金型に形成された温調媒体の流路と接続するための止水機構を有するものであって、この止水機構は、金型に形成された孔に固定され、内部に温調配管が形成されたピストン嵌合ピン、ピストン嵌合ピンに挿入され、孔内に配置された弾性部材、ピストン篏合ピンに篏合され弾性部材と係合するとともにピストン篏合ピンの長手方向に移動可能なピストン、ピストンを弾性部材の弾性力に抗して孔内に収納するように固定する固定部材、を備え、他の金型の流路と接続する場合に、固定部材の固定を解除することによりピストンを他の金型内に前進させ、弾性部材の弾性力によりピストンの先端部が他の金型の流路の周囲を押圧して止水することを特徴とする。
【発明の効果】
(【0011】以降は省略されています)
この特許をJ-PlatPat(特許庁公式サイト)で参照する
関連特許
三菱電機株式会社
増幅器
1日前
三菱電機株式会社
換気扇
10日前
三菱電機株式会社
換気扇
10日前
三菱電機株式会社
換気扇
10日前
三菱電機株式会社
回転電機
26日前
三菱電機株式会社
収集装置
8日前
三菱電機株式会社
照明装置
1か月前
三菱電機株式会社
回転電機
1か月前
三菱電機株式会社
電子機器
11日前
三菱電機株式会社
半導体装置
16日前
三菱電機株式会社
空気調和機
3日前
三菱電機株式会社
半導体装置
1か月前
三菱電機株式会社
加熱調理器
29日前
三菱電機株式会社
給湯システム
29日前
三菱電機株式会社
ねじ締め装置
1日前
三菱電機株式会社
貯湯式給湯機
26日前
三菱電機株式会社
照明システム
16日前
三菱電機株式会社
空調システム
1日前
三菱電機株式会社
送電線保護装置
1か月前
三菱電機株式会社
誘導加熱調理器
10日前
三菱電機株式会社
非常用照明装置
29日前
三菱電機株式会社
樹脂成形用金型
1日前
三菱電機株式会社
電動機制御装置
22日前
三菱電機株式会社
電流切替型DAC
16日前
三菱電機株式会社
全館空調システム
8日前
三菱電機株式会社
換気空調システム
26日前
三菱電機株式会社
空気清浄システム
29日前
三菱電機株式会社
風力発電システム
26日前
三菱電機株式会社
ヒートポンプ装置
4日前
三菱電機株式会社
道路情報補正装置
3日前
三菱電機株式会社
レンズモジュール
8日前
三菱電機株式会社
照明制御システム
23日前
三菱電機株式会社
コントロールセンタ
1か月前
三菱電機株式会社
電池パック及び電池
3日前
三菱電機株式会社
保護継電器及び配電盤
10日前
三菱電機株式会社
照明器具及び照明装置
1か月前
続きを見る
他の特許を見る