TOP
|
特許
|
意匠
|
商標
特許ウォッチ
Twitter
他の特許を見る
10個以上の画像は省略されています。
公開番号
2025161102
公報種別
公開特許公報(A)
公開日
2025-10-24
出願番号
2024064017
出願日
2024-04-11
発明の名称
調光ユニット
出願人
TOPPANホールディングス株式会社
代理人
個人
,
個人
主分類
G02F
1/1345 20060101AFI20251017BHJP(光学)
要約
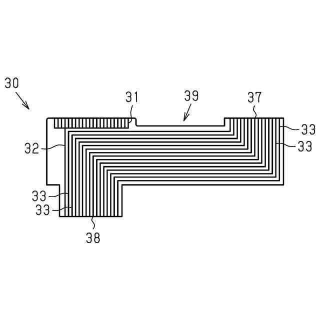
【課題】配線基板の製造に要する初期費用を削減することのできる調光ユニットを提供する。
【解決手段】調光ユニット10は、調光シート11と、第1配線基板30を含む第1配線接続部12と、複数の第2配線基板40を含む第2配線接続部13とを備える。調光シート11は複数の調光領域SLを有する。第2配線基板40は、調光領域SLごとの第2透明電極層に対して1つずつ接続された1以上の第2接続端子部と、各第2接続端子部から1つずつ延びる第2端子引き回し線と、第2接続端子部と同数以上の第2延設引き回し線とを含む。複数の第2配線基板40は調光シート11の外縁に沿って並び、互いに隣り合う第2配線基板40同士が接続されることにより、一方の第2配線基板40の第2端子引き回し線が、他方の第2配線基板40の第2延設引き回し線に接続されている。
【選択図】図1
特許請求の範囲
【請求項1】
液晶組成物を含む調光層と、前記調光層を挟む一対の透明電極層である第1透明電極層および第2透明電極層とを備える調光シートと、
第1配線基板を含む第1配線接続部と、
複数の第2配線基板を含む第2配線接続部と、を備える調光ユニットであって、
前記調光シートの表面と対向する位置から見て、前記調光シートは複数の調光領域を有し、互いに隣り合う前記調光領域間において、前記第2透明電極層は絶縁されており、
前記第1配線基板は、駆動電圧が入力される入力端部を備え、前記第1配線基板が有する第1導体部は、前記第1透明電極層に対して接続された第1接続端子部と、前記第1接続端子部から延びる第1端子引き回し線と、前記第1端子引き回し線と共に前記入力端部に延びる複数の第1延設引き回し線とを含み、
各第2配線基板が有する第2導体部は、前記調光領域ごとの前記第2透明電極層に対して1つずつ接続された1以上の第2接続端子部と、各第2接続端子部から1つずつ延びる第2端子引き回し線と、前記第2接続端子部と同数以上の第2延設引き回し線とを含み、
前記複数の第2配線基板は前記調光シートの外縁に沿って並び、互いに隣り合う前記第2配線基板同士が接続されることにより、前記第1配線基板から遠い方の前記第2配線基板である一方の前記第2配線基板の前記第2端子引き回し線が、他方の前記第2配線基板の前記第2延設引き回し線に接続されており、
前記複数の第2配線基板のうちの端部の前記第2配線基板が前記第1配線基板に接続されることにより、当該第2配線基板の前記第2端子引き回し線および前記第2延設引き回し線の各々が、前記第1延設引き回し線に接続されている
調光ユニット。
続きを表示(約 1,100 文字)
【請求項2】
nは3以上の整数であって、前記第2配線接続部はn個の前記第2配線基板を含み、
前記第2導体部は、前記第2接続端子部のn-1倍の数の前記第2延設引き回し線を含み、
互いに隣り合う前記第2配線基板同士が接続されることにより、前記一方の第2配線基板の前記第2端子引き回し線および前記第2接続端子部のn-2倍の数の前記第2延設引き回し線の各々が、前記他方の第2配線基板の前記第2延設引き回し線に接続されている
請求項1に記載の調光ユニット。
【請求項3】
前記第2延設引き回し線は、前記第2配線基板の端部に位置する接続線と、前記接続線に接続された延伸線とから構成され、
前記第2接続端子部、前記第2端子引き回し線、および、前記延伸線は、前記第2配線基板が有する2つの面の一方に位置し、前記接続線は前記2つの面の他方に位置し、前記接続線と前記延伸線とはスルーホールを介して接続されており、
互いに隣り合う前記第2配線基板同士が接続されることにより、前記一方の第2配線基板の前記第2端子引き回し線が、前記他方の第2配線基板の前記接続線に接続されている
請求項1に記載の調光ユニット。
【請求項4】
前記第2導体部は、前記第2端子引き回し線と前記延伸線との総数と同数の前記接続線を含み、これら複数の前記接続線は、前記第2配線基板の端部に並び、前記複数の接続線には、前記延伸線と接続されていない導体線が含まれ、
互いに隣り合う前記第2配線基板同士が接続されることにより、前記一方の第2配線基板の前記第2端子引き回し線および前記延伸線の各々が、前記他方の第2配線基板の前記接続線に接続されている
請求項3に記載の調光ユニット。
【請求項5】
互いに隣り合う前記調光領域間において、前記第1透明電極層は導通しており、
前記調光シートの表面と対向する位置から見て、前記調光シートは、第1の辺と、前記第1の辺と交差する方向に延びる第2の辺とを有し、前記第2の辺が延びる方向に沿って前記複数の調光領域の端部が並び、
前記第1配線基板は、前記第1の辺に沿って位置し、前記複数の第2配線基板は、前記第2の辺に沿って並ぶ
請求項1に記載の調光ユニット。
【請求項6】
前記第1配線基板および前記第2配線基板の各々は、フレキシブルプリント基板であり、互いに隣り合う前記第2配線基板同士は、異方性導電材料を介して接続されており、前記端部の第2配線基板と前記第1配線基板とは、異方性導電材料を介して接続されている
請求項1に記載の調光ユニット。
発明の詳細な説明
【技術分野】
【0001】
本開示は、光透過率の可変な調光シートを備える調光ユニットに関する。
続きを表示(約 1,800 文字)
【背景技術】
【0002】
調光シートは、液晶組成物を含む調光層と、調光層を挟む一対の透明電極層とを備えている。一対の透明電極層間には、駆動電圧が印加される。駆動電圧の印加の有無に応じて調光層での液晶化合物の配向状態が変わることから、調光層を光が透過する透明状態と、調光層における光の透過が散乱等により抑えられる不透明状態とを切り替えることが可能である。
【0003】
近年、一方の透明電極層を複数の領域に分割することにより、領域ごとに透明状態と不透明状態との切り替えを可能とした調光シートが提案されている(例えば、特許文献1参照)。
【先行技術文献】
【特許文献】
【0004】
特開2020-126153号公報
【発明の概要】
【発明が解決しようとする課題】
【0005】
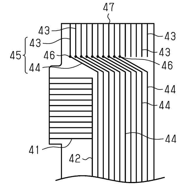
調光シートには、透明電極層を電源装置に接続するための配線接続部が取り付けられる。分割された領域ごとの駆動が可能な調光シートについて、配線接続部の構成の一例を、図8~図11を参照して説明する。
【0006】
図8に示すように、調光シート100は、第1透明電極層を備える第1電極シート101と、第2透明電極層を備える第2電極シート102と、第1電極シート101と第2電極シート102との間に挟まれた調光層103とを備えている。調光シート100の表面と対向する位置から見て、調光シート100は、帯状に延びる複数の調光領域SLを有している。互いに隣り合う調光領域SL間において、第1電極シート101の第1透明電極層は導通しており、第2電極シート102の第2透明電極層は絶縁されている。
【0007】
調光シート100の端部にて、第1電極シート101の第1透明電極層には、第1配線接続部110が接続されている。同様に、第2電極シート102の第2透明電極層には、第2配線接続部120が接続されている。配線接続部110,120は、透明電極層に接合される接続端子部112,122を有した配線基板111,121を備えている。
【0008】
複数の調光領域SL間において第1透明電極層は導通しているため、第1透明電極層に対しては1つの第1接続端子部112が接続される。一方、複数の調光領域SL間において第2透明電極層は絶縁されているため、第2透明電極層に対しては調光領域SLごとに別々の第2接続端子部122が接続される。それゆえ、第2配線接続部120は、複数の第2接続端子部122を有する。1つの配線基板について効率的に製造可能な大きさは限られているため、調光領域SLの数が多い場合や調光領域SLの幅が大きい場合には、第2配線接続部120は、複数の第2配線基板121を備え、各配線基板121が1以上の第2接続端子部122を有するように構成される。
【0009】
図9は、調光シート100と、第1配線基板111と、第2配線基板121とを分離して示した図である。図面に示す例では、調光シート100が15個の調光領域SLを有し、第2配線接続部120が3つの第2配線基板121を備え、各第2配線基板121が5つの第2接続端子部122を有している。3つの第2配線基板121である第2配線基板121a,121b,121cは、調光シート100の一辺に沿ってこの順に並んでいる。互いに隣り合う第2配線基板121同士は接続され、また、端部の第2配線基板121cは、第1配線基板111に接続される。
【0010】
図9と併せて図10および図11を参照して、第2配線基板121が有する導体部の構成を説明する。図10は、第2配線接続部120における第1配線接続部110から最も離れた端部、すなわち第2配線基板121aの端部の周辺を拡大して示す図であって、第2配線基板121aが有する第2導体部125aの配置を実線で示す。第2導体部125aは、5つの第2接続端子部122aと、各第2接続端子部122aから延びる第2端子引き回し線123aとを含む。このうち、図10では、3つの第2接続端子部122aと、これらの第2接続端子部122aから延びる第2端子引き回し線123aとを示している。
(【0011】以降は省略されています)
この特許をJ-PlatPat(特許庁公式サイト)で参照する
関連特許
個人
立体像表示装置
18日前
住友化学株式会社
偏光板
15日前
カンタツ株式会社
光学系
10日前
東レ株式会社
積層フィルム
24日前
株式会社シグマ
結像光学系
4日前
住友化学株式会社
垂直偏光板
15日前
東レ株式会社
赤外線遮蔽構成体
18日前
東レ株式会社
貼合体の製造方法
18日前
日本精機株式会社
ミラーユニット
3日前
古河電気工業株式会社
融着機
10日前
日本電気株式会社
光モジュール
4日前
日本電気株式会社
光集積回路素子
22日前
スタンレー電気株式会社
照明装置
25日前
個人
多方向視差効果のための微細穴加工
5日前
個人
眼鏡装着位置変更具および眼鏡
16日前
三菱電機株式会社
レンズモジュール
15日前
京セラ株式会社
光学系
2日前
住友化学株式会社
偏光板
18日前
住友化学株式会社
偏光板
18日前
AGC株式会社
インフィニティミラー
11日前
住友化学株式会社
積層体
22日前
日東電工株式会社
調光フィルム
23日前
住友化学株式会社
偏光積層体
18日前
日本精機株式会社
ヘッドアップディスプレイ装置
23日前
住友化学株式会社
光学積層体
18日前
新光電気工業株式会社
光導波路部品
15日前
新光電気工業株式会社
光導波路部品
15日前
キヤノン株式会社
レンズ装置および撮像装置
23日前
株式会社タムロン
ズームレンズ及び撮像装置
2日前
住友ベークライト株式会社
積層体の製造方法
23日前
Orbray株式会社
MEMS光スイッチの制御方法
23日前
スタンレー電気株式会社
透光性樹脂部材
2日前
富士通株式会社
波長変換装置および波長変換方法
8日前
古河電気工業株式会社
光モジュール、光接続構造
23日前
住友化学株式会社
偏光板及び画像表示装置
24日前
キヤノン電子株式会社
光学部材、撮像装置及び宇宙航行体
16日前
続きを見る
他の特許を見る