TOP
|
特許
|
意匠
|
商標
特許ウォッチ
Twitter
他の特許を見る
公開番号
2025161226
公報種別
公開特許公報(A)
公開日
2025-10-24
出願番号
2024064237
出願日
2024-04-11
発明の名称
膜蒸留膜、膜蒸留膜の製造方法、膜蒸留モジュール、精製された液体の製造方法
出願人
東京応化工業株式会社
代理人
個人
主分類
B01D
69/02 20060101AFI20251017BHJP(物理的または化学的方法または装置一般)
要約
【課題】膜蒸留を行う場合に、透過流束及び除去率が高く、アルカリ耐性及びファウリング耐性に優れる膜蒸留膜と、当該膜蒸留膜の製造方法と、前述の膜蒸留膜を備える膜蒸留モジュールと、前述の膜蒸留膜を用いた膜蒸留による精製された液体の製造方法とを提供すること。
【解決手段】多孔質層、炭素材料層及び撥水層が、多孔質層が炭素材料層に接し、且つ炭素材料層が撥水層に接した状態で積層されており、多孔質層の炭素材料層と接していない主面である親水性主面の水の接触角が0°超10°未満であり、撥水層の主面である疎水性主面の水の接触角が100°超であり、ラマン分光法によって測定される炭素材料層のラマンスペクトルにおいて、sp
3
混成軌道成分に由来するDバンドのピーク面積(I
D
)とsp
2
混成軌道成分に由来するGバンドのピーク面積(I
G
)との比(I
D
/I
G
)が、0.1以上10以下である、膜蒸留膜を用いる。
【選択図】なし
特許請求の範囲
【請求項1】
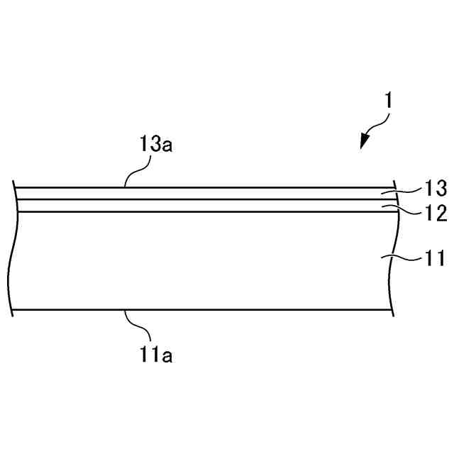
膜蒸留法において、精製対象の粗液体の蒸気を透過させることで、精製された液体を取得するために用いられる膜蒸留膜であって、
前記膜蒸留膜において、多孔質層、炭素材料層、及び撥水層が、前記多孔質層が前記炭素材料層に接し、且つ前記炭素材料層が前記撥水層に接した状態で積層されており、
前記多孔質層の前記炭素材料層と接していない主面である親水性主面の水の接触角が0°超10°未満であり、
前記撥水層の主面である疎水性主面の水の接触角が、100°超であり、
ラマン分光法によって測定される前記炭素材料層のラマンスペクトルにおいて、sp
3
混成軌道成分に由来するDバンドのピーク面積(I
D
)と、sp
2
混成軌道成分に由来するGバンドのピーク面積(I
G
)との比(I
D
/I
G
)が、0.1以上10以下である、膜蒸留膜。
続きを表示(約 910 文字)
【請求項2】
前記炭素材料層が、ダイヤモンドライクカーボン層であり、
前記撥水層が、フッ素化炭化水素、又は含ケイ素化合物を含むガスに由来するプラズマで前記炭素材料層を処理することにより形成されている、請求項1に記載の膜蒸留膜。
【請求項3】
前記撥水層の表面を構成する元素の比率において、フッ素原子の元素比率が10atm%以上であるか、又は、ケイ素原子の元素比率が10atm%以上である、請求項2に記載の膜蒸留膜。
【請求項4】
前記膜蒸留膜のガーレー透気度が、20秒以上150秒以下である、請求項1に記載の膜蒸留膜。
【請求項5】
前記撥水層の厚さが、10nm以上1μm以下である、請求項1に記載の膜蒸留膜。
【請求項6】
前記撥水層の表面張力が、73mN/m以下である、請求項1に記載の膜蒸留膜。
【請求項7】
前記多孔質層は、ポリエーテルスルホン、ポリフッ化ビニリデン、ポリテトラフルオロエチレン、ナイロン、ポリプロピレン及びポリスルホンからなる群から選択される少なくとも一種の樹脂材料からなる、請求項1に記載の膜蒸留膜。
【請求項8】
前記粗液体が、20℃においてpH11以上のアルカリ液である、請求項1に記載の膜蒸留膜。
【請求項9】
前記粗液体を、膜蒸留法により精製する場合において、
前記膜蒸留膜を透過して回収される、単位面積及び単位時間あたりの前記精製された液体の量である透過流束が、15kg/m
2
・h超である、請求項1に記載の膜蒸留膜。
【請求項10】
請求項1~9のいずれか1項に記載の膜蒸留膜の製造方法であって、
前記多孔質層である未処理多孔質膜の表面に前記炭素材料層を形成する炭素材料層形成工程と、
前記炭素材料層の表面を、フッ素化炭化水素、又は含ケイ素化合物を含むガスに由来するプラズマで処理して前記撥水層を形成する、撥水層形成工程と、を有する、膜蒸留膜の製造方法。
(【請求項11】以降は省略されています)
発明の詳細な説明
【技術分野】
【0001】
本発明は、膜蒸留に用いられる膜蒸留膜と、当該膜蒸留膜の製造方法と、前述の膜蒸留膜を備える膜蒸留モジュールと、前述の膜蒸留膜を用いた膜蒸留による精製された液体の製造方法と、に関する。
続きを表示(約 1,900 文字)
【背景技術】
【0002】
膜蒸留法は、多孔質膜で隔てられた2つの液体の温度差から生じる蒸気圧により、多孔質膜に蒸気を透過させ粗液体を精製する方法である。膜蒸留法は、粗液体の精製において逆浸透膜法のように高い圧力を要しない。このため、膜蒸留法は、粗液体の精製の低コスト化に寄与することが期待されている(特許文献1)。
【先行技術文献】
【特許文献】
【0003】
特開2011-200770号公報
【発明の概要】
【発明が解決しようとする課題】
【0004】
粗液体として、下水や工場から排出される工場排水等のアルカリ水を精製する場合、膜蒸留法に用いる多孔質膜(膜蒸留膜)には、アルカリ耐性が求められる。
また、粗液体が含有する、水以外の含有成分(例えば、アルカリ、有機物や微生物)の除去率が高いことも望まれる。
【0005】
そして、粗液体の精製量(処理量)を多くするために、透過流束が高いことも望まれる。
ここで、膜蒸留法において、粗液体が含有する有機物や微生物等が多孔質膜(膜蒸留膜)に付着して膜が汚染されるファウリングが生じると、精製量(処理量)が低下する。このため、膜蒸留法に用いる多孔質膜(膜蒸留膜)には、有機物や微生物等が多孔質膜に付着するファウリングを抑制できること、すなわち、ファウリング耐性に優れることも望まれる。
【0006】
本発明は、このような実情に鑑みてなされたものであり、膜蒸留を行う場合に、透過流束及び除去率が高く、アルカリ耐性及びファウリング耐性に優れる膜蒸留膜と、当該膜蒸留膜の製造方法と、前述の膜蒸留膜を備える膜蒸留モジュールと、前述の膜蒸留膜を用いた膜蒸留による精製された液体の製造方法とを提供することを目的とする。
【課題を解決するための手段】
【0007】
本発明者らは、多孔質層、炭素材料層及び撥水層が、多孔質層が炭素材料層に接し、且つ炭素材料層が撥水層に接した状態で積層されており、多孔質層の炭素材料層と接していない主面である親水性主面の水の接触角が0°超10°未満であり、撥水層の主面である疎水性主面の水の接触角が100°超であり、ラマン分光法によって測定される炭素材料層のラマンスペクトルにおいて、sp
3
混成軌道成分に由来するDバンドのピーク面積(I
D
)とsp
2
混成軌道成分に由来するGバンドのピーク面積(I
G
)との比(I
D
/I
G
)が、0.1以上10以下である、膜蒸留膜を用いることによって、上記課題が解決されること見出し、本発明に至った。具体的には以下のものを提供する。
【0008】
[1]膜蒸留法において、精製対象の粗液体の蒸気を透過させることで、精製された液体を取得するために用いられる膜蒸留膜であって、
前記膜蒸留膜において、多孔質層、炭素材料層、及び撥水層が、前記多孔質層が前記炭素材料層に接し、且つ前記炭素材料層が前記撥水層に接した状態で積層されており、
前記多孔質層の前記炭素材料層と接していない主面である親水性主面の水の接触角が0°超10°未満であり、
前記撥水層の主面である疎水性主面の水の接触角が、100°超であり、
ラマン分光法によって測定される前記炭素材料層のラマンスペクトルにおいて、sp
3
混成軌道成分に由来するDバンドのピーク面積(I
D
)と、sp
2
混成軌道成分に由来するGバンドのピーク面積(I
G
)との比(I
D
/I
G
)が、0.1以上10以下である、膜蒸留膜。
【0009】
[2]前記炭素材料層が、ダイヤモンドライクカーボン層であり、
前記撥水層が、フッ素化炭化水素、又は含ケイ素化合物を含むガスに由来するプラズマで前記炭素材料層を処理することにより形成されている、上記[1]に記載の膜蒸留膜。
【0010】
[3]前記撥水層の表面を構成する元素の比率において、フッ素原子の元素比率が10atm%以上であるか、又は、ケイ素原子の元素比率が10atm%以上である、上記[1]又は[2]に記載の膜蒸留膜。
(【0011】以降は省略されています)
この特許をJ-PlatPat(特許庁公式サイト)で参照する
関連特許
東京応化工業株式会社
電磁波吸収体、及び電磁波吸収体形成用ペースト
3日前
東京応化工業株式会社
レジスト組成物、およびレジストパターン形成方法
21日前
東京応化工業株式会社
レジスト組成物、レジストパターン形成方法、化合物、および酸発生剤
21日前
東京応化工業株式会社
レジスト組成物、レジストパターン形成方法、化合物、及び酸拡散制御剤
14日前
東京応化工業株式会社
膜蒸留膜、膜蒸留膜の製造方法、膜蒸留モジュール、精製された液体の製造方法
7日前
東京応化工業株式会社
レジスト組成物、レジストパターン形成方法、化合物、ラジカル重合開始剤、重合体
16日前
東京応化工業株式会社
レジスト組成物及びレジストパターン形成方法
14日前
東京応化工業株式会社
多孔質膜、多孔質膜の製造方法、膜蒸留モジュール、膜蒸留装置及び精製された液体の製造方法
17日前
株式会社西部技研
除湿装置
15日前
株式会社日本触媒
ドロー溶質
9日前
サンノプコ株式会社
消泡剤
7日前
東レ株式会社
中空糸膜モジュール
28日前
東レ株式会社
遠心ポッティング方法
1日前
大和ハウス工業株式会社
反応装置
22日前
個人
気液混合装置
7日前
松岡紙業 株式会社
油吸着体の製造方法
9日前
富士電機株式会社
ガス処理システム
4日前
大陽日酸株式会社
CO2の回収方法
24日前
株式会社フクハラ
圧縮空気圧回路ユニット
7日前
本田技研工業株式会社
ガス回収装置
24日前
株式会社明電舎
成膜装置
4日前
日本化薬株式会社
直鎖ブテン製造用触媒及びその使用
1日前
本田技研工業株式会社
二酸化炭素回収装置
22日前
本田技研工業株式会社
二酸化炭素回収装置
22日前
本田技研工業株式会社
二酸化炭素回収装置
28日前
本田技研工業株式会社
二酸化炭素回収装置
22日前
ノリタケ株式会社
触媒材料およびその利用
22日前
ノリタケ株式会社
触媒材料およびその利用
22日前
ノリタケ株式会社
触媒材料およびその利用
22日前
本田技研工業株式会社
二酸化炭素回収装置
24日前
本田技研工業株式会社
二酸化炭素回収装置
17日前
本田技研工業株式会社
二酸化炭素回収装置
22日前
株式会社プロテリアル
触媒複合物および触媒前駆体複合物
23日前
日東電工株式会社
吸着材
28日前
個人
フッ化炭素糸物にフッ素をコーティングした浄水手段
7日前
三浦工業株式会社
撹拌装置
4日前
続きを見る
他の特許を見る