TOP
|
特許
|
意匠
|
商標
特許ウォッチ
Twitter
他の特許を見る
公開番号
2025161411
公報種別
公開特許公報(A)
公開日
2025-10-24
出願番号
2024064573
出願日
2024-04-12
発明の名称
回転電機のロータ
出願人
本田技研工業株式会社
代理人
弁理士法人航栄事務所
主分類
H02K
1/276 20220101AFI20251017BHJP(電力の発電,変換,配電)
要約
【課題】保磁力の分布を有する磁石が設けられたロータにおいて、磁石温度の上昇に伴う急激な減磁の発生を抑制できる回転電機のロータを提供する。
【解決手段】回転電機のロータ10は、回転軸心RCを中心とする略円環形状を有するロータコア20と、ロータコア20の周方向に沿って設けられた複数の磁極部30と、を備える。各磁極部30は、ロータコア20に形成された軸方向に延在する磁石収容孔31と、磁石収容孔31に収容された少なくとも1つの永久磁石41と、を有する。永久磁石41には、保磁力の分布が所定の方向に形成されており、永久磁石41は、保磁力の分布の方向が軸方向となるように、且つ、軸方向の外側端部45の保磁力が内側部分の保磁力よりも大きくなるように、磁石収容孔31に収容される。
【選択図】図3
特許請求の範囲
【請求項1】
回転軸心を中心とする略円環形状を有するロータコアと、
前記ロータコアの周方向に沿って設けられた複数の磁極部と、を備える回転電機のロータであって、
各磁極部は、前記ロータコアに形成された軸方向に延在する磁石収容孔と、前記磁石収容孔に収容された少なくとも1つの磁石と、を有し、
前記磁石には、保磁力の分布が所定の方向に形成されており、
前記磁石は、保磁力の分布の方向が前記軸方向となるように、且つ、前記軸方向の外側端部の保磁力が内側部分の保磁力よりも大きくなるように、前記磁石収容孔に収容される、
回転電機のロータ。
続きを表示(約 490 文字)
【請求項2】
請求項1に記載の回転電機のロータであって、
1つの前記磁石収容孔には、複数の磁石が収容されており、
前記軸方向における外側に配置された磁石は、内側に配置された磁石よりも保磁力が大きい、
回転電機のロータ。
【請求項3】
請求項2に記載の回転電機のロータであって、
前記軸方向における外側に配置された前記磁石は、内側に配置された前記磁石よりもサイズが大きい、
回転電機のロータ。
【請求項4】
請求項3に記載の回転電機のロータであって、
前記軸方向における外側に配置された前記磁石は、内側に配置された前記磁石よりも前記軸方向に長い、
回転電機のロータ。
【請求項5】
請求項1から4のいずれか1項に記載の回転電機のロータであって、
各磁極部は、前記周方向に沿って複数の前記磁石収容孔を有し、
各磁極部の前記周方向における外側の前記磁石収容孔に収容された磁石は、内側の前記磁石収容孔に収容された磁石よりも保磁力が大きい、
回転電機のロータ。
発明の詳細な説明
【技術分野】
【0001】
本発明は、保磁力の分布を有する磁石が設けられた、回転電機のロータに関する。
続きを表示(約 1,600 文字)
【背景技術】
【0002】
近年、低炭素社会又は脱炭素社会の実現に向けた取り組みが活発化し、車両においてもCO2排出量の削減やエネルギー効率の改善のために、電動化技術に関する研究開発が行われている。電動化技術として、例えば電動機や発電機といった回転電機があり、回転電機は、例えばバッテリ式電気自動車やハイブリッド車、燃料電池車等の電動車両に搭載される。
【0003】
例えば、特許文献1には、ロータを備え、永久磁石を含むモータが開示されている。特許文献1のモータでは、永久磁石が一個体に保磁力分布を有する磁石であり、モータの内部で高温となっている高温部分に位置にする高温側永久磁石部分の保磁力が、モータの内部で高温側永久磁石部分よりも温度が低くなる低温部分に位置する低温側永久磁石部分の保磁力よりも高く設定してある。これにより、高モータ特性かつ低コストであるモータを実現している。
【先行技術文献】
【特許文献】
【0004】
特許第6841130号公報
【発明の概要】
【発明が解決しようとする課題】
【0005】
特許文献1に記載のような一個体に保磁力分布を有する永久磁石を含むモータでは、永久磁石のうち保磁力の低い部分において、磁石温度の上昇に伴い急激な減磁が発生することがあり、改善の余地があった。
【0006】
本発明は、保磁力の分布を有する磁石が設けられたロータにおいて、磁石温度の上昇に伴う急激な減磁の発生を抑制できる回転電機のロータを提供する。
【課題を解決するための手段】
【0007】
本発明は、
回転軸心を中心とする略円環形状を有するロータコアと、
前記ロータコアの周方向に沿って設けられた複数の磁極部と、を備える回転電機のロータであって、
各磁極部は、前記ロータコアに形成された軸方向に延在する磁石収容孔と、前記磁石収容孔に収容された少なくとも1つの磁石と、を有し、
前記磁石には、保磁力の分布が所定の方向に形成されており、
前記磁石は、保磁力の分布の方向が前記軸方向となるように、且つ、前記軸方向の外側端部の保磁力が内側部分の保磁力よりも大きくなるように、前記磁石収容孔に収容される。
【発明の効果】
【0008】
本発明によれば、磁石温度の上昇に伴う急激な減磁の発生を抑制できる。
【図面の簡単な説明】
【0009】
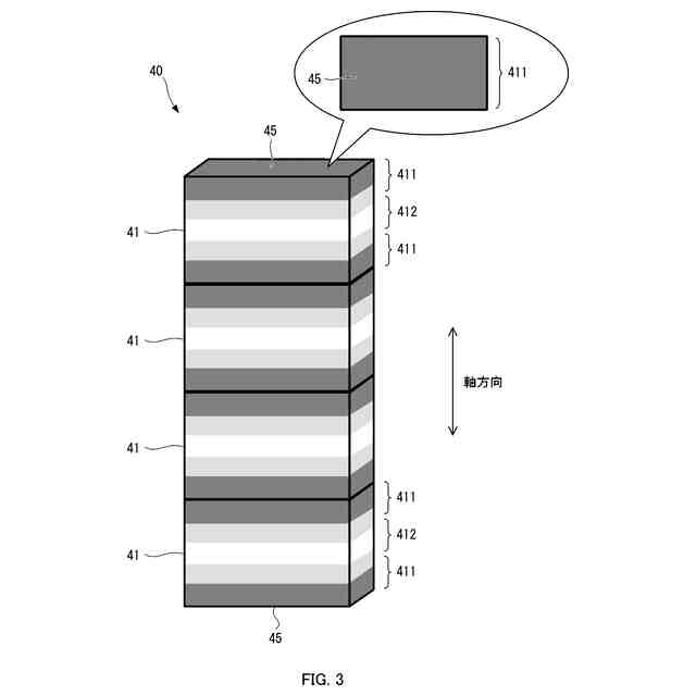
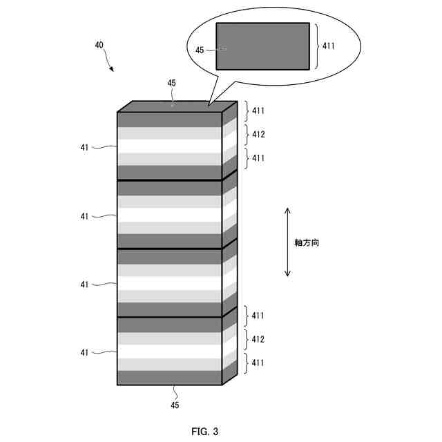
本発明の一実施形態の回転電機のロータ10の斜視図である。
磁石収容孔31に収容された永久磁石41をロータ10の軸方向から見た図である。
保磁力の分布の方向が軸方向となるように磁石収容孔31に収容される永久磁石41の斜視図である。
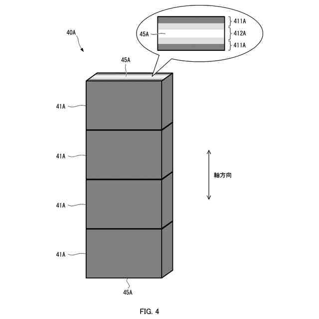
保磁力の分布の方向が径方向となるように磁石収容孔31に収容される永久磁石41Aの斜視図である。
複数種類の永久磁石の耐熱性の比較を示したグラフの一例を示す。
軸方向における両外側にサイズの大きい永久磁石41Lが配置され、内側にサイズの小さい永久磁石41Sが配置された第1変形例の磁石群40の側面図を示す。
磁石収容孔31毎に永久磁石41の保磁力に差異を付けた第2変形例の磁極部30を示す。
【発明を実施するための形態】
【0010】
以下、本発明の回転電機のロータの一実施形態を、添付図面に基づいて説明する。本明細書等では、軸方向、径方向、周方向というときは、ロータの回転軸心を基準にした方向をいう。また、軸方向内側とは、軸方向におけるロータの中央側をいい、軸方向外側とは、軸方向におけるロータの中央から離れる側をいう。また、周方向内側とは、磁極部の周方向中央側をいい、周方向外側とは、磁極部の周方向中央から離れる側をいう。
(【0011】以降は省略されています)
この特許をJ-PlatPat(特許庁公式サイト)で参照する
関連特許
本田技研工業株式会社
車両
15日前
本田技研工業株式会社
車両
16日前
本田技研工業株式会社
車両
16日前
本田技研工業株式会社
車両
15日前
本田技研工業株式会社
車両
8日前
本田技研工業株式会社
移動体
17日前
本田技研工業株式会社
飛行体
16日前
本田技研工業株式会社
バッテリ
23日前
本田技研工業株式会社
保持装置
23日前
本田技研工業株式会社
二次電池
11日前
本田技研工業株式会社
制御装置
15日前
本田技研工業株式会社
触媒装置
11日前
本田技研工業株式会社
固体電池
17日前
本田技研工業株式会社
発電セル
15日前
本田技研工業株式会社
排気装置
15日前
本田技研工業株式会社
固体電池
11日前
本田技研工業株式会社
電気機器
17日前
本田技研工業株式会社
電気機器
17日前
本田技研工業株式会社
エンジン
16日前
本田技研工業株式会社
電気機器
16日前
本田技研工業株式会社
バッテリ
23日前
本田技研工業株式会社
固体電池
15日前
本田技研工業株式会社
電気機器
16日前
本田技研工業株式会社
保管装置
24日前
本田技研工業株式会社
内燃機関
15日前
本田技研工業株式会社
ステータ
22日前
本田技研工業株式会社
内燃機関
16日前
本田技研工業株式会社
会話装置
22日前
本田技研工業株式会社
収容装置
16日前
本田技研工業株式会社
清掃装置
16日前
本田技研工業株式会社
電気部品
16日前
本田技研工業株式会社
排気装置
15日前
本田技研工業株式会社
除草装置
15日前
本田技研工業株式会社
保管装置
24日前
本田技研工業株式会社
切断装置
22日前
本田技研工業株式会社
排気装置
15日前
続きを見る
他の特許を見る