TOP
|
特許
|
意匠
|
商標
特許ウォッチ
Twitter
他の特許を見る
公開番号
2025143150
公報種別
公開特許公報(A)
公開日
2025-10-01
出願番号
2024042929
出願日
2024-03-18
発明の名称
保管装置
出願人
本田技研工業株式会社
代理人
弁理士法人クシブチ国際特許事務所
主分類
H01M
50/204 20210101AFI20250924BHJP(基本的電気素子)
要約
【課題】収容部の底面上の水の滞留を抑制し易くできる保管装置を提供する。
【解決手段】保管装置は、蓄電池(2)が着脱可能に収容される収容部(3)を備える保管装置において、前記収容部(3)の底面(54)は、前記蓄電池(2)が収容された状態において、前記蓄電池(2)と接触する支持部(54e、54f、54g、54i)と、所定の方向に沿って高低差を有し前記蓄電池(2)とは接触しない非支持部(54a)と、を備える。
【選択図】図7
特許請求の範囲
【請求項1】
蓄電池(2)が着脱可能に収容される収容部(3)を備える保管装置において、
前記収容部(3)の底面(54)は、前記蓄電池(2)が収容された状態において、前記蓄電池(2)と接触する支持部(54e、54f、54g、54i)と、所定の方向に沿って高低差を有し前記蓄電池(2)とは接触しない非支持部(54a)と、を備える
ことを特徴とする保管装置。
続きを表示(約 690 文字)
【請求項2】
前記支持部(54e、54f、54g、54i)は、前記所定の方向に沿って延びる複数の突状部(54i)を備えている
ことを特徴とする請求項1に記載の保管装置。
【請求項3】
隣り合う前記突状部(54i)の間に前記非支持部(54a)が配置されている
ことを特徴とする請求項2に記載の保管装置。
【請求項4】
前記収容部(3)には、前記底面(54)と向かい合う位置に、前記蓄電池(2)が挿入可能な開口部(52a)が設けられている
ことを特徴とする請求項1から3のいずれかに記載の保管装置。
【請求項5】
前記底面(54)は、弾性部材によって形成されている
ことを特徴とする請求項1から3のいずれかに記載の保管装置。
【請求項6】
前記蓄電池(2)と、内部機器(30)とを電気的に接続する接続部材(63)を備え、
前記底面(54)には、前記接続部材(63)が配置される第2の開口部(54b)が設けられている
ことを特徴とする請求項1から3のいずれかに記載の保管装置。
【請求項7】
前記第2の開口部(54b)の周囲には、前記底面(54)の一部が高さ方向に突出して形成された壁部(54h)が設けられている
ことを特徴とする請求項6に記載の保管装置。
【請求項8】
前記底面(54)には、高さ方向で低い側の位置に排水口(54d)が形成されている
ことを特徴とする請求項1から3のいずれかに記載の保管装置。
発明の詳細な説明
【技術分野】
【0001】
本発明は、保管装置に関する。
続きを表示(約 1,800 文字)
【背景技術】
【0002】
従来、蓄電池を保管する際に充電する保管装置が知られている(例えば、特許文献1、2参照)。
特許文献1には、移動可能に構成された容器状のバッテリトレイに、蓄電池としてのモバイルバッテリが着脱可能に装着される構成が記載されている。特許文献1に記載のバッテリトレイは、底部は平坦に形成されており、装着時には傾斜状態とされ、充電時には水平状態とされる。特許文献1のバッテリトレイには、バッテリトレイの側面に水抜け穴が設けられており、バッテリトレイが傾斜した場合に排水可能な構成が開示される。
特許文献2には、バッテリが挿抜されるスロットルモジュールが水平方向に対して傾斜して設けられた保管装置が開示される。特許文献2では、略筒状のスロットの下側の側面や、スロットの一端側を塞ぐボトムカバーに、水抜け穴を設けている。特許文献2のボトムカバーの内面は平坦に形成されている。
【先行技術文献】
【特許文献】
【0003】
国際公開第2021/049622号
国際公開第2022/075430号
【発明の概要】
【発明が解決しようとする課題】
【0004】
特許文献1、2に記載の保管装置では、バッテリの挿入方向の奥端が、スロットの平坦な底面と当接する構成であるため、バッテリの挿入方向の奥端とスロットの底面との間に隙間が形成され難い。よって、底面上に水が流れた場合には、底面上に水が滞留する虞がある。
本発明は、上述した事情に鑑みてなされたものであり、収容部の底面上の水の滞留を抑制し易くできる保管装置を提供することを目的とする。
【課題を解決するための手段】
【0005】
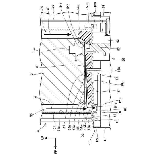
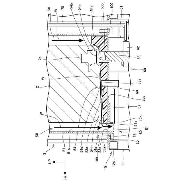
保管装置は、蓄電池が着脱可能に収容される収容部を備える保管装置において、前記収容部の底面は、前記蓄電池が収容された状態において、前記蓄電池と接触する支持部と、所定の方向に沿って高低差を有し前記蓄電池とは接触しない非支持部と、を備えることを特徴とする。
【発明の効果】
【0006】
収容部の底面上の水の滞留を抑制し易くできる保管装置を提供することができる。
【図面の簡単な説明】
【0007】
実施の形態に係る保管装置の分解斜視図である。
実施の形態に係る保管装置の下端部を示す正面図である。
収容スロットの斜視図である。
収容スロットの断面図である。
収容スロットの底面部材の周辺部を示す斜視図である。
図4の斜視図に対応する図である。
収容スロットの下部の縦断面図である。
実施の形態に係る保管装置の横断面図である。
【発明を実施するための形態】
【0008】
以下、図面を参照して本発明の実施の形態について説明する。図において、符号FRは前方を示し、符号UPは上方を示し、符号LHは左方を示す。
【0009】
[実施の形態]
図1は、実施の形態に係る保管装置1の分解斜視図である。
保管装置1は、外観略直方体状に形成されたバッテリ(蓄電池)2を保管する装置である。保管装置1は、保管時にバッテリ2を充電可能に構成される。保管装置1は、バッテリ2を着脱可能に収容する複数の収容スロット(収容部)3と、複数の収容スロット3が固定される搭載フレーム4と、複数の収容スロット3と搭載フレーム4とを収容する筐体5と、を有する。バッテリ2は、外観略直方体形状の一側に握り部2bを備え、外観略直方体形状の他側にバッテリ端子2a(図7参照)を備える。バッテリ2は、ユーザによって持ち運ぶことが可能であり、例えば、電動車両(四輪車、三輪車、二輪車)、芝刈り機、農作業機等の作業機に着脱可能に構成されている。バッテリ2は、MPP(Mobile Power Pack)である。
【0010】
本実施の形態の保管装置1は、複数の収容スロット3が左右方向に沿って並べて載置された横置き、および、複数の収容スロット3が上下方向に並べて載置された縦置きが可能に構成される。以下、特に記載がなければ、横置きの保管装置1について説明する。
(【0011】以降は省略されています)
この特許をJ-PlatPat(特許庁公式サイト)で参照する
関連特許
本田技研工業株式会社
車両
6日前
本田技研工業株式会社
装置
5日前
本田技研工業株式会社
モータ
2日前
本田技研工業株式会社
保管装置
今日
本田技研工業株式会社
固体電池
今日
本田技研工業株式会社
電解装置
13日前
本田技研工業株式会社
通知装置
5日前
本田技研工業株式会社
保管装置
今日
本田技研工業株式会社
内燃機関
5日前
本田技研工業株式会社
車両構造
2日前
本田技研工業株式会社
車両構造
2日前
本田技研工業株式会社
受電装置
今日
本田技研工業株式会社
送電装置
今日
本田技研工業株式会社
断続装置
今日
本田技研工業株式会社
内燃機関
5日前
本田技研工業株式会社
リアクトル
5日前
本田技研工業株式会社
鞍乗型車両
12日前
本田技研工業株式会社
潤滑システム
12日前
本田技研工業株式会社
クラッチ装置
21日前
本田技研工業株式会社
車両制御装置
14日前
本田技研工業株式会社
車両制御装置
12日前
本田技研工業株式会社
運転制御装置
2日前
本田技研工業株式会社
固体二次電池
12日前
本田技研工業株式会社
車両制御装置
6日前
本田技研工業株式会社
鞍乗り型車両
20日前
本田技研工業株式会社
分離システム
2日前
本田技研工業株式会社
電源システム
今日
本田技研工業株式会社
放電処理方法
今日
本田技研工業株式会社
鞍乗り型車両
22日前
本田技研工業株式会社
潤滑システム
今日
本田技研工業株式会社
モータ制御装置
今日
本田技研工業株式会社
モータ支持構造
2日前
本田技研工業株式会社
能動型防振装置
2日前
本田技研工業株式会社
電気的接続構造
13日前
本田技研工業株式会社
バックミラー構造
12日前
本田技研工業株式会社
鞍乗り型電動車両
2日前
続きを見る
他の特許を見る