TOP
|
特許
|
意匠
|
商標
特許ウォッチ
Twitter
他の特許を見る
10個以上の画像は省略されています。
公開番号
2025161528
公報種別
公開特許公報(A)
公開日
2025-10-24
出願番号
2024064796
出願日
2024-04-12
発明の名称
制御装置およびその制御方法
出願人
キヤノン株式会社
代理人
弁理士法人大塚国際特許事務所
主分類
H04N
23/63 20230101AFI20251017BHJP(電気通信技術)
要約
【課題】自動追尾における設定の煩雑さを低減する。
【解決手段】撮像装置は、被写体を追尾して撮影を行う追尾機能と、撮影映像から一部領域を切り出したクロップ映像を生成するクロップ機能と、を有する。撮像装置を制御する制御装置は、追尾機能において被写体が留まる撮影映像内の目標位置を撮像装置に設定する第1の設定手段と、クロップ機能で切り出される撮影映像内のクロップ領域を撮像装置に設定する第2の設定手段と、目標位置の設定とクロップ領域の設定の少なくとも一方を受け付けるグラフィカルユーザインタフェース(GUI)を表示部に表示する表示制御手段と、を備える。表示制御手段は、目標位置を示す第1のGUI部品およびクロップ領域を示す第2のGUI部品を表示部に対して表示する。
【選択図】図6
特許請求の範囲
【請求項1】
撮像装置を制御する制御装置であって、
前記撮像装置は、被写体を追尾して撮影を行う追尾機能と、撮影映像から一部領域を切り出したクロップ映像を生成するクロップ機能と、を有し、
前記制御装置は、
前記追尾機能において前記被写体が留まる前記撮影映像内の目標位置を前記撮像装置に設定する第1の設定手段と、
前記クロップ機能で切り出される前記撮影映像内のクロップ領域を前記撮像装置に設定する第2の設定手段と、
前記目標位置の設定と前記クロップ領域の設定の少なくとも一方を受け付けるグラフィカルユーザインタフェース(GUI)を表示部に表示する表示制御手段と、
を備え、
前記表示制御手段は、前記目標位置を示す第1のGUI部品および前記クロップ領域を示す第2のGUI部品を前記表示部に対して表示する
ことを特徴とする制御装置。
続きを表示(約 2,300 文字)
【請求項2】
前記表示制御手段は、前記第1のGUI部品および前記第2のGUI部品を前記撮影映像に対して重畳表示する
ことを特徴とする請求項1に記載の制御装置。
【請求項3】
前記撮像装置から、該撮像装置が撮像した撮像画像、該撮像装置に設定されている前記目標位置の設定、該撮像装置に設定されている前記クロップ領域の設定、を取得する取得手段をさらに備え、
前記表示制御手段は、前記取得手段により取得された前記目標位置の設定に基づいて前記第1のGUI部品を表示し、前記取得手段により取得された前記クロップ領域の設定に基づいて前記第2のGUI部品を表示する
ことを特徴とする請求項1に記載の制御装置。
【請求項4】
前記表示制御手段は、前記目標位置の設定を受け付ける第1の設定モードである場合、前記第1のGUI部品に対する移動および/または変形を受け付け、前記クロップ領域の設定を受け付ける第2の設定モードである場合、前記第2のGUI部品に対する移動および/または変形を受け付ける
ことを特徴とする請求項3に記載の制御装置。
【請求項5】
前記クロップ機能は、撮影映像からそれぞれ異なる一部領域を切り出した複数のクロップ映像を生成可能であり、
前記撮像装置は、前記複数のクロップ映像に含まれる1以上のクロップ映像を出力する出力部を有し、
前記取得手段は、前記出力部から出力されているクロップ映像に関する出力情報をさらに取得し、
前記表示制御手段は、前記出力情報が示すクロップ映像に対応するクロップ領域の設定のみに基づいて前記第2のGUI部品を表示する
ことを特徴とする請求項3に記載の制御装置。
【請求項6】
前記第1のGUI部品を前記GUIに表示するか否かに関する第1の指定および前記第2のGUI部品を前記GUIに表示するか否かに関する第2の指定を受け付ける受付手段をさらに備え、
前記表示制御手段は、前記第1の指定に基づいて前記第1のGUI部品を前記GUIに表示するか否かを決定し、前記第2の指定に基づいて前記第2のGUI部品を前記GUIに表示するか否かを決定する
ことを特徴とする請求項3に記載の制御装置。
【請求項7】
撮像装置を制御する制御装置であって、
前記撮像装置は、被写体を追尾して撮影を行う追尾機能と、撮影映像から一部領域を切り出したクロップ映像を生成するクロップ機能と、を有し、
前記制御装置は、
前記追尾機能において追尾の対象となる被写体を前記撮影映像内の複数の被写体から選択し前記撮像装置に設定する第1の設定手段と、
前記クロップ機能で切り出される前記撮影映像内のクロップ領域を前記撮像装置に設定する第2の設定手段と、
前記被写体の選択と前記クロップ領域の設定の少なくとも一方を受け付けるグラフィカルユーザインタフェース(GUI)を表示部に表示する表示制御手段と、
を備え、
前記表示制御手段は、選択されている被写体を示す第1のGUI部品および前記クロップ領域を示す第2のGUI部品を前記表示部に対して表示する
ことを特徴とする制御装置。
【請求項8】
撮像装置を制御する制御装置の制御方法であって、
前記撮像装置は、被写体を追尾して撮影を行う追尾機能と、撮影映像から一部領域を切り出したクロップ映像を生成するクロップ機能と、を有し、
前記制御装置は、前記追尾機能において前記被写体が留まる前記撮影映像内の目標位置の設定と、前記クロップ機能で切り出される前記撮影映像内のクロップ領域と、を前記撮像装置に設定可能に構成されており、
前記制御方法は、
前記目標位置の設定と前記クロップ領域の設定の少なくとも一方を受け付けるグラフィカルユーザインタフェース(GUI)を表示部に表示する表示制御工程と、
前記GUIを介して受け付けた前記目標位置の設定と前記クロップ領域の設定を前記撮像装置に設定する設定工程と、
を含み、
前記表示制御工程では、前記目標位置を示す第1のGUI部品および前記クロップ領域を示す第2のGUI部品を前記表示部に対して表示する
ことを特徴とする制御方法。
【請求項9】
撮像装置を制御する制御装置の制御方法であって、
前記撮像装置は、被写体を追尾して撮影を行う追尾機能と、撮影映像から一部領域を切り出したクロップ映像を生成するクロップ機能と、を有し、
前記制御装置は、前記追尾機能において追尾の対象となる被写体の前記撮影映像内の複数の被写体からの選択と、前記クロップ機能で切り出される前記撮影映像内のクロップ領域と、を前記撮像装置に設定可能に構成されており、
前記制御方法は、
前記被写体の選択と前記クロップ領域の設定の少なくとも一方を受け付けるグラフィカルユーザインタフェース(GUI)を表示部に表示する表示制御工程と、
前記GUIを介して受け付けた前記被写体の選択と前記クロップ領域の設定を前記撮像装置に設定する設定工程と、
を含み、
前記表示制御工程では、選択されている被写体を示す第1のGUI部品および前記クロップ領域を示す第2のGUI部品を前記表示部に対して表示する
ことを特徴とする制御方法。
【請求項10】
請求項8または9に記載の制御方法をコンピュータに実行させるためのプログラム。
発明の詳細な説明
【技術分野】
【0001】
本発明は、被写体の追尾制御に関するものである。
続きを表示(約 2,100 文字)
【背景技術】
【0002】
パン・チルト・ズームを制御可能なカメラ(PTZカメラ)において、ユーザから指定された追尾対象となる被写体を撮影画像から検出して自動追尾する技術が知られている。特許文献1には、被写体を自動追尾する目標位置を指定可能とする手法が開示されている。この手法によれば、カメラオペレータが目標位置を調整することで、被写体を所望の位置で捉え続けることができる。
【先行技術文献】
【特許文献】
【0003】
特開2021-108425号公報
【発明の概要】
【発明が解決しようとする課題】
【0004】
しかしながら、寄り画角(撮影画角に占める被写体の割合が高い画角)での撮影において自動追尾を行う場合、被写体の動きが発生すると被写体をロストしてしまうことがある。上述の寄り画角より広い画角で撮影を行い自動追尾制御を行うことで、被写体のロストを低減することが考えられる。ただし、ユーザが所望する画角が寄り画角である場合、別途寄り画角相当の範囲をクロップする必要が生じる。その場合、自動追尾における目標位置設定において、ユーザはクロップ枠を意識しながら設定操作を行うという煩雑さが生じ、ユーザにとって大きな負担となる。
【0005】
本発明は、このような問題に鑑みてなされたものであり、自動追尾制御における設定の煩雑さを低減する技術を提供することを目的としている。
【課題を解決するための手段】
【0006】
上述の問題点を解決するため、本発明に係る制御装置は以下の構成を備える。すなわち、撮像装置を制御する制御装置であって、
前記撮像装置は、被写体を追尾して撮影を行う追尾機能と、撮影映像から一部領域を切り出したクロップ映像を生成するクロップ機能と、を有し、
前記制御装置は、
前記追尾機能において前記被写体が留まる前記撮影映像内の目標位置を前記撮像装置に設定する第1の設定手段と、
前記クロップ機能で切り出される前記撮影映像内のクロップ領域を前記撮像装置に設定する第2の設定手段と、
前記目標位置の設定と前記クロップ領域の設定の少なくとも一方を受け付けるグラフィカルユーザインタフェース(GUI)を表示部に表示する表示制御手段と、
を備え、
前記表示制御手段は、前記目標位置を示す第1のGUI部品および前記クロップ領域を示す第2のGUI部品を前記表示部に対して表示する。
あるいは、撮像装置を制御する制御装置であって、
前記撮像装置は、被写体を追尾して撮影を行う追尾機能と、撮影映像から一部領域を切り出したクロップ映像を生成するクロップ機能と、を有し、
前記制御装置は、
前記追尾機能において追尾の対象となる被写体を前記撮影映像内の複数の被写体から選択し前記撮像装置に設定する第1の設定手段と、
前記クロップ機能で切り出される前記撮影映像内のクロップ領域を前記撮像装置に設定する第2の設定手段と、
前記被写体の選択と前記クロップ領域の設定の少なくとも一方を受け付けるグラフィカルユーザインタフェース(GUI)を表示部に表示する表示制御手段と、
を備え、
前記表示制御手段は、選択されている被写体を示す第1のGUI部品および前記クロップ領域を示す第2のGUI部品を前記表示部に対して表示する。
【発明の効果】
【0007】
本発明によれば、自動追尾制御における設定の煩雑さを低減する技術を提供することができる。
【図面の簡単な説明】
【0008】
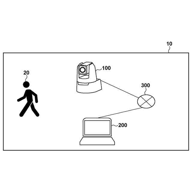
システムの全体構成を示す図である。
各装置のハードウェア構成を示す図である。
追尾動作のフローチャートである。
自動追尾の課題を説明する図である。
ワイプ画面の生成を説明する図である。
自動追尾設定のフローチャートである(第1実施形態)。
GUIにおける表示を説明する図である(第1実施形態)。
自動追尾設定のフローチャートである(第2実施形態)。
GUIにおける表示を説明する図である(第2実施形態)。
【発明を実施するための形態】
【0009】
以下、添付図面を参照して実施形態を詳しく説明する。なお、以下の実施形態は特許請求の範囲に係る発明を限定するものではない。実施形態には複数の特徴が記載されているが、これらの複数の特徴の全てが発明に必須のものとは限らず、また、複数の特徴は任意に組み合わせられてもよい。さらに、添付図面においては、同一若しくは同様の構成に同一の参照番号を付し、重複した説明は省略する。
【0010】
(第1実施形態)
本発明に係る制御装置の第1実施形態として、PTZカメラを制御するコントローラを例に挙げて以下に説明する。
(【0011】以降は省略されています)
この特許をJ-PlatPat(特許庁公式サイト)で参照する
関連特許
キヤノン株式会社
容器
5日前
キヤノン株式会社
トナー
8日前
キヤノン株式会社
トナー
26日前
キヤノン株式会社
トナー
21日前
キヤノン株式会社
トナー
21日前
キヤノン株式会社
トナー
21日前
キヤノン株式会社
電子機器
28日前
キヤノン株式会社
現像装置
12日前
キヤノン株式会社
記録装置
19日前
キヤノン株式会社
撮影装置
19日前
キヤノン株式会社
現像容器
19日前
キヤノン株式会社
記録装置
26日前
キヤノン株式会社
撮像装置
5日前
キヤノン株式会社
撮像装置
5日前
キヤノン株式会社
撮像装置
5日前
キヤノン株式会社
記録装置
5日前
キヤノン株式会社
撮像装置
22日前
キヤノン株式会社
撮像装置
26日前
キヤノン株式会社
測距装置
14日前
キヤノン株式会社
表示装置
1か月前
キヤノン株式会社
電子機器
1か月前
キヤノン株式会社
現像装置
19日前
キヤノン株式会社
現像容器
19日前
キヤノン株式会社
発光装置
1か月前
キヤノン株式会社
現像装置
19日前
キヤノン株式会社
定着装置
20日前
キヤノン株式会社
半導体装置
28日前
キヤノン株式会社
光学センサ
21日前
キヤノン株式会社
現像剤容器
27日前
キヤノン株式会社
モジュール
21日前
キヤノン株式会社
画像表示装置
26日前
キヤノン株式会社
画像形成装置
8日前
キヤノン株式会社
印刷システム
7日前
キヤノン株式会社
画像形成装置
27日前
キヤノン株式会社
画像形成装置
27日前
キヤノン株式会社
情報処理装置
19日前
続きを見る
他の特許を見る