TOP
|
特許
|
意匠
|
商標
特許ウォッチ
Twitter
他の特許を見る
10個以上の画像は省略されています。
公開番号
2025161840
公報種別
公開特許公報(A)
公開日
2025-10-24
出願番号
2025133173,2023186748
出願日
2025-08-08,2019-09-30
発明の名称
画像処理装置、画像処理装置の制御方法及びそのプログラム
出願人
キヤノン株式会社
代理人
弁理士法人ひのき国際特許事務所
主分類
H04N
1/00 20060101AFI20251017BHJP(電気通信技術)
要約
【課題】複数の文書を一度にスキャンして、文書を別々のファイルに分割した上でファイル名等をレコメンドする際、レコメンドからUIを通じてユーザの確認結果を受け付けるまでの一連の処理を、単純に繰り返すとユーザの待ち時間が長かった。
【解決手段】複数の文書の画像データを取得、それを分割して複数のファイルを作成し、さらにOCR関連処理を実行し、ファイルの文書と登録済み文書とのマッチングを行って、文書の種類を判別する。登録済み文書に紐づいたインデックス抽出ルールに従って、前記ファイルの文書からインデックスに関するレコメンド内容を生成しユーザに提示して、ユーザの修正指示に基づきインデックス及びインデックス抽出ルールの修正処理を実行し、前記ファイルにインデックスを付与する。そしてOCR関連処理を含む第1の処理と、修正処理を含む第2の処理を並列処理する画像処理装置。
【選択図】図3
特許請求の範囲
【請求項1】
画像処理装置であって、
複数の文書の画像データを取得する取得手段と、
前記画像データを分割して複数のファイルを作成する作成手段と、
前記ファイルに対してOCR関連処理を実行するOCR関連処理手段と、
前記ファイルの文書と登録済み文書とのマッチングを行い、文書の種類を判別する判別手段と、
前記登録済み文書に紐づいたインデックス抽出ルールに従って、前記ファイルの文書からインデックスに関するレコメンド内容を生成する生成処理手段と、
前記レコメンド内容をユーザに提示して、ユーザの修正指示に基づきインデックス及びインデックス抽出ルールの修正処理を実行する修正処理手段と、
前記ファイルにインデックスを付与する付与手段と、
を備え、
前記OCR関連処理手段を含む第1の処理手段と、前記修正処理手段を含む第2の処理手段が並列して起動される
ことを特徴とする画像処理装置。
発明の詳細な説明
【技術分野】
【0001】
本発明は、複数の文書をスキャンした際にファイル分割を行い、それぞれの文書に対してファイル名等をレコメンドする機能を備えた画像処理装置、画像処理装置の制御方法及びそのプログラムに関するものである。
続きを表示(約 3,400 文字)
【背景技術】
【0002】
帳票等の紙文書を画像読み取り装置でスキャンしてデジタル化する業務フローが存在する。その際には、一般的に、デジタル化した文書画像に、文書の種類・内容に応じたファイル名やメタ情報をつけて、所定のフォルダに格納することが行われる。ここで、ファイル名づけ、メタ情報づけ、送付先の振り分けフォルダの指定を人手で行うことは、デジタル化する紙原稿の枚数が多くなると大きな負荷となる。特に、複合機(MFP)では、ユーザインターフェース(UI)の制約により、ソフトウェアキーボードでファイル名やメタ情報を入力する必要がある場合にはユーザへの負荷はより大きくなる。また、送付先を指定することも、新たなフォルダを作成することが必要な場合は、同様にユーザへの負荷が大きくなる。
【0003】
これを解決する手法として、特許文献1の手法がある。この手法では、まず、あらかじめ、文書の種類と、ファイル名づけルール、メタ情報づけルール、送付先ルールなどのインデックス抽出ルールを関連づけして登録しておく。次に、同じ種類の文書がスキャンされた場合には、文書の種類を認識し、関連付けられたインデックス抽出ルールを利用して、自動的にファイル名、メタ情報、送付先を決定し、ユーザにレコメンドする。このようにすれば、ユーザ作業負荷を大きく軽減することが可能となる。
また、特許文献2の手法では、登録済み文書のレコメンドを行うだけでなく、ユーザによるレコメンド結果の修正や、未登録文書の命名操作を受け付ける確認用のUIを提供する。これにより、インデックス抽出ルールの初期設定を行うことなく、ユーザが命名操作や修正操作を繰り返して行うだけで、インデックス抽出ルールを自動的に学習することが可能となる。
【先行技術文献】
【特許文献】
【0004】
特開2011-15348号公報
特開2018-124656号公報
【発明の概要】
【発明が解決しようとする課題】
【0005】
一方、複数の文書を一度にスキャンして、文書を別々のファイルに分割し、それぞれのファイルに対して、ファイル名やメタ情報、送付先をレコメンドして欲しいという要望がある。しかしながら、特許文献2の技術のように、インデックス抽出ルールを自動学習しながら、複数ファイルのレコメンドを実現するには課題がある。例えば、特許文献2に記載されているレコメンドからUIを通じてユーザの確認結果を受け付けるまでの一連の処理を、ファイル数分繰り返す場合、各ファイルの確認の前にレコメンドに係る処理時間分の待ち時間が毎回発生してしまう。また、待ち時間を減らすために、レコメンドに係る画像処理をユーザの確認操作のバックエンドで先に実施する場合、その場で新規に登録したインデックス抽出ルールを、同一スキャン内の他の文書に適用することができない。その場合、もし同一スキャン内に、未登録の同じ種類の文書や、インデックス抽出ルールに変更の必要がある同じ種類の文書があったとしても、同様の操作を繰り返し行う必要があり、ユーザの手間がかかってしまう。
本発明は、上記事情に鑑みてなされたものであり、インデックス抽出ルールを自動学習しながらの複数ファイルのレコメンドを実現するにあたり、ユーザの手間を減らすことを目的とする。
【課題を解決するための手段】
【0006】
画像処理装置であって、複数の文書の画像データを取得する取得手段と、前記画像データを分割して複数のファイルを作成する作成手段と、前記ファイルに対してOCR関連処理を実行するOCR関連処理手段と、前記ファイルの文書と登録済み文書とのマッチングを行い、文書の種類を判別する判別手段と、前記登録済み文書に紐づいたインデックス抽出ルールに従って、前記ファイルの文書からインデックスに関するレコメンド内容を生成する生成処理手段と、前記レコメンド内容をユーザに提示して、ユーザの修正指示に基づきインデックス及びインデックス抽出ルールの修正処理を実行する修正処理手段と、前記ファイルにインデックスを付与する付与手段と、を備え、前記OCR関連処理手段を含む第1の処理手段と、前記修正処理手段を含む第2の処理手段が並列して起動されることを特徴とする。
【発明の効果】
【0007】
本発明によれば、複数の文書をスキャンした際にファイル分割を行い、それぞれの文書に対してファイル名等のインデックス項目をレコメンドする機能において、ユーザの手間を減らすことができる。特に、同一スキャン内に複数の同じ種類の文書があった場合、ユーザが登録・修正したルールをすぐに適用することができ、ユーザの負荷を削減できる。
【図面の簡単な説明】
【0008】
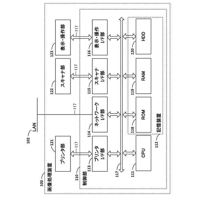
実施例に係るシステムの全体構成を示す図
実施例に係る画像処理装置のハードウェア構成示す図
実施例に係る画像処理手順のフローチャート
実施例に係るファイル分割位置の決定処理例を示す図
実施例に係るOCR関連処理の処理手順のフローチャート
実施例に係るブロックセレクション処理の例を示す図
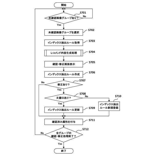
実施例に係る確認・修正処理のフローチャート
実施例に係るファイル分割後の先頭ページの画像例
実施例に係るインデックス抽出ルールの例
実施例に係るインデックス抽出ルールの例
実施例に係るレコメンド内容の生成処理のフローチャート
実施例に係る確認・修正画面を利用したファイル名指定の例
実施例に係る確認・修正画面を利用したファイル名指定の例
実施例に係る確認・修正画面を利用したファイル名レコメンドの例
他の実施例に係る処理手順のフローチャート
他の実施例に係る確認・修正処理のフローチャート
他の実施例に係る第二のインデックス抽出ルールの例
他の実施例に係る第二のインデックス抽出ルールの例
他の実施例に係るレコメンド内容の生成処理のフローチャート
【発明を実施するための形態】
【0009】
以下、添付図面を参照して本発明の実施例を詳しく説明する。なお、以下の実施例は特許請求の範囲に係る本発明を限定するものでなく、また本実施例で説明されている特徴の組み合わせの全てが本発明の解決手段に必須のものとは限らない。
【実施例】
【0010】
<システム構成>
図1は、本実施例を適用可能なシステムの全体構成を示す図である。図1に示すように、画像処理装置100はLAN102に接続され、Internet 103等を介してPCなどの端末101等と通信可能になっている。なお、本実施例の実現にあたっては、PCなどの端末101に関しては、必ずしも必要なくてもよく、画像処理装置100のみの構成だけでも良い。
画像処理装置100は、例えば、表示・操作部、スキャナ部及び、プリンタ部を有する複合機(MFP)であり、スキャナ部を用いて文書原稿をスキャンするスキャン端末として利用することが可能である。また、タッチパネルやハードボタンなどの表示・操作部を有し、ファイル名や格納先のレコメンド結果を表示したり、ユーザからの指示を受け付けたりするためのユーザインタフェースの表示を行う。
なお、本実施例では、画像処理装置100単体で、スキャン処理、ファイル分割処理、OCR関連処理、レコメンド内容の生成処理、ファイル送信を行う例について説明するが、その一部を他の端末101で行うように構成したシステムであっても構わない。例えば、まず、スキャン処理とファイル分割処理とを画像処理装置100で実行して、スキャン画像を他の端末101にネットワークを介して送信する。そして、他の端末101においてOCR関連処理やレコメンド内容の生成処理を実行し、レコメンド結果を画像処理装置100に返信して、画像処理装置100でファイルを生成してファイル送信を行うようにしてもよい。
(【0011】以降は省略されています)
この特許をJ-PlatPat(特許庁公式サイト)で参照する
関連特許
個人
イヤーマフ
5日前
個人
監視カメラシステム
14日前
キーコム株式会社
光伝送線路
15日前
サクサ株式会社
中継装置
21日前
WHISMR合同会社
収音装置
1か月前
個人
スキャン式車載用撮像装置
14日前
サクサ株式会社
中継装置
20日前
アイホン株式会社
電気機器
1か月前
サクサ株式会社
無線通信装置
20日前
キヤノン電子株式会社
画像読取装置
1か月前
個人
ワイヤレスイヤホン対応耳掛け
1か月前
サクサ株式会社
無線通信装置
20日前
株式会社リコー
画像形成装置
7日前
個人
映像表示装置、及びARグラス
今日
サクサ株式会社
無線システム
19日前
キヤノン電子株式会社
画像読取装置
13日前
日本電気株式会社
海底分岐装置
15日前
個人
発信機及び発信方法
19日前
キヤノン株式会社
撮像システム
1か月前
株式会社NTTドコモ
端末
15日前
シャープ株式会社
端末装置
12日前
株式会社NTTドコモ
端末
14日前
株式会社NTTドコモ
端末
15日前
株式会社JVCケンウッド
通信システム
26日前
大日本印刷株式会社
写真撮影装置
1か月前
沖電気工業株式会社
画像形成装置
1か月前
キヤノン電子株式会社
画像処理システム
13日前
株式会社NTTドコモ
端末
14日前
有限会社フィデリックス
マイクロフォン
26日前
沖電気工業株式会社
画像形成装置
22日前
株式会社NTTドコモ
端末
14日前
個人
回動アームを構築する関節モジュール
22日前
株式会社JVCケンウッド
スピーカ
1か月前
ダイハツ工業株式会社
人流取得装置
20日前
技術開発合同会社
電子拡大鏡
今日
日本無線株式会社
無線通信システム
1か月前
続きを見る
他の特許を見る