TOP
|
特許
|
意匠
|
商標
特許ウォッチ
Twitter
他の特許を見る
10個以上の画像は省略されています。
公開番号
2025161951
公報種別
公開特許公報(A)
公開日
2025-10-24
出願番号
2025140925,2021097790
出願日
2025-08-27,2021-06-11
発明の名称
サーバ装置、情報処理システム、情報処理方法及び情報処理プログラム
出願人
東日本旅客鉄道株式会社
代理人
弁理士法人光陽国際特許事務所
主分類
G06Q
50/40 20240101AFI20251017BHJP(計算;計数)
要約
【課題】ユーザが使用するチケットの内容に係る情報がサーバに記憶され、かつ、このようなサーバが複数存在する場合においても、自動改札機においてユーザの入出場に係る処理を行うことができなくなるおそれを低減する。
【解決手段】チケット内容情報D2を取得する第1取得手段(通信部133、233)と、チケット内容情報D2を記憶部132、232に記憶させる記憶制御手段(制御部131、231)と、チケット内容情報D2ごとに、二次元コードデータD12を作成する作成手段(制御部131、231)と、改札装置140、240において読み取られた二次元コードデータD12を取得する第2取得手段(通信部133、233)と、第2取得手段が取得した二次元コードデータD12に対応するチケット内容情報D2が記憶されたチケット発行サーバ130、230を特定する第1特定手段(制御部131、231)と、を備える。
【選択図】図1
特許請求の範囲
【請求項1】
交通機関の利用に用いるチケットの内容に係る情報であるチケット内容情報を取得する第1取得手段と、
前記チケット内容情報を第1記憶手段に記憶させる記憶制御手段と、
前記第1記憶手段に記憶された前記チケット内容情報ごとに、交通機関の利用に用いるチケットに記憶される情報であるチケット記憶情報を作成する作成手段と、
改札装置において読み取られた前記チケット記憶情報を取得する第2取得手段と、
前記第2取得手段が取得した前記チケット記憶情報に対応する前記チケット内容情報が記憶されたサーバ装置を特定する第1特定手段と、
を備えることを特徴とするサーバ装置。
続きを表示(約 1,700 文字)
【請求項2】
前記チケット内容情報が記憶されたサーバ装置を特定可能な情報であるサーバ特定情報を記憶する第2記憶手段を備え、
前記第1特定手段は、前記第2記憶手段に記憶された前記サーバ特定情報を用いて、前記第2取得手段が取得した前記チケット記憶情報に対応する前記チケット内容情報が記憶されたサーバ装置を特定することを特徴とする請求項1に記載のサーバ装置。
【請求項3】
前記作成手段が作成する前記チケット記憶情報は、前記チケット内容情報が記憶されたサーバ装置を特定可能な情報であるサーバ特定情報を含み、
前記第1特定手段は、前記チケット記憶情報に含まれる前記サーバ特定情報を用いて、前記第2取得手段が取得した前記チケット記憶情報に対応する前記チケット内容情報が記憶されたサーバ装置を特定することを特徴とする請求項1に記載のサーバ装置。
【請求項4】
前記第1記憶手段に記憶された前記チケット内容情報ごとに、当該チケット内容情報を特定可能な情報であるチケット特定情報を付与する付与手段を備え、
前記作成手段が作成する前記チケット記憶情報は、前記チケット特定情報をさらに含むことを特徴とする請求項3に記載のサーバ装置。
【請求項5】
前記チケット記憶情報は、一部の情報のみが符号化され、
前記チケット特定情報は符号化された情報に含まれ、
前記サーバ特定情報は符号化されていない情報に含まれることを特徴とする請求項4に記載のサーバ装置。
【請求項6】
前記チケット記憶情報は、複数の記憶領域を有し、
一の記憶領域には、他の記憶領域に含まれる情報を基に第1の変換規則又は計算式に従って変換又は計算を行った結果に係る情報である第1検定情報と、他の記憶領域に含まれる情報を基に第2の変換規則又は計算式に従って所定の変換又は計算を行った結果に係る情報である第2検定情報と、が含まれ、
前記第1の変換規則又は計算式は複数の事業者間で共通に使用される変換規則又は計算式であり、前記第2の変換規則又は計算式は事業者毎に個別に使用される変換規則又は計算式であることを特徴とする請求項1から5のいずれか一項に記載のサーバ装置。
【請求項7】
前記第2取得手段が取得した前記チケット記憶情報を、前記第1特定手段が特定したサーバ装置へと送信手段によって送信させる第1送信制御手段を備えることを特徴とする請求項1から6のいずれか一項に記載のサーバ装置。
【請求項8】
前記第1特定手段が特定したサーバ装置から、前記チケット記憶情報に対応する前記チケット内容情報を用いて判定された前記チケットを所持するユーザの前記改札装置における入場又は出場の可否の判定結果に係る情報である第1判定結果情報を取得する第3取得手段と、
前記第1判定結果情報を、送信手段によって前記改札装置へと送信させる第2送信制御手段と、
を備えることを特徴とする請求項7に記載のサーバ装置。
【請求項9】
前記第1特定手段が特定したサーバ装置から、前記チケット記憶情報に対応する前記チケット内容情報を取得する第4取得手段と、
前記第4取得手段が取得した前記チケット内容情報を用いて、前記改札装置における前記チケットを所持するユーザの入場又は出場の可否につき判定する判定手段と、
前記判定手段による判定結果に係る情報である第2判定結果情報を、送信手段によって前記改札装置へと送信させる第3送信制御手段と、
を備えることを特徴とする請求項7に記載のサーバ装置。
【請求項10】
前記第1特定手段が特定したサーバ装置から、前記チケット記憶情報に対応する前記チケット内容情報を取得する第4取得手段と、
前記第4取得手段が取得した前記チケット内容情報を、送信手段によって前記改札装置へと送信させる第4送信制御手段と、
を備えることを特徴とする請求項7に記載のサーバ装置。
(【請求項11】以降は省略されています)
発明の詳細な説明
【技術分野】
【0001】
本発明は、サーバ装置、情報処理システム、情報処理方法及び情報処理プログラムに関する。
続きを表示(約 2,000 文字)
【背景技術】
【0002】
近年、駅における列車の利用者の改札内への入場の可否及び改札内からの出場の可否の判定は、自動改札機により自動的に行うことが主流となっており、このような自動改札機による処理を円滑に行うことを目的とした種々のシステムが開発されている(例えば、特許文献1参照)。
【先行技術文献】
【特許文献】
【0003】
特許第6668112号公報
【発明の概要】
【発明が解決しようとする課題】
【0004】
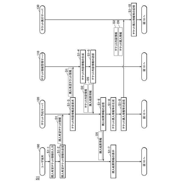
このような自動改札機によるユーザの入出場に係る処理は、ユーザの持つチケットに、当該チケットによる乗車可能区間に係る情報等のチケットの内容に係る情報が全て含まれる場合であれば、自動改札機において、チケットに記憶された情報を読み取ることで、単独で行うことが可能である。
これに対し、ユーザの持つチケットに、当該チケットによる乗車可能区間に係る情報等のチケットの内容に係る情報が全て含まれることなく、このような情報の全部又は一部をサーバに記憶させることも考えられるところ、この場合、自動改札機は、ユーザの入出場に係る処理を行うに際して、所定のサーバとの通信を要することとなる。
【0005】
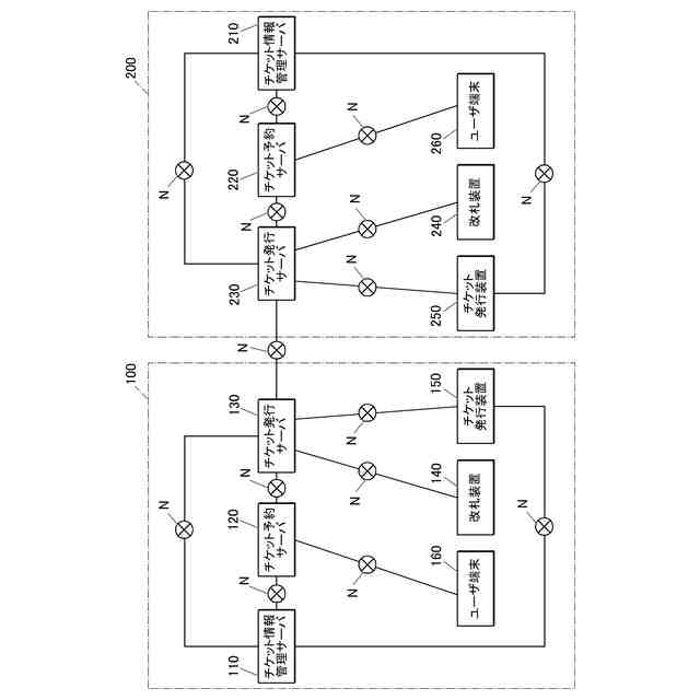
ユーザの持つチケットの内容に係る情報の全部又は一部がサーバに記憶させる構成とした場合、単一のサーバに、あらゆるエリアで使用される、あらゆる事業者が発行するチケットについて、その内容に係る情報を記憶させておくことは現実的ではないことから、自動改札機が通信するサーバが、例えば、エリア毎、事業者毎に分かれて、複数存在することが考えられる。
この場合、自動改札機が通信先のサーバから取得できるのは、当該サーバに記憶されているデータのみであることから、ユーザによって、自動改札機において、当該自動改札機が通信するのと異なるサーバにおいてチケットの内容に係る情報が記憶されているチケットが使用された場合、自動改札機におけるユーザの入出場に係る処理ができなくなるおそれがあった。
【0006】
本発明の課題は、ユーザが使用するチケットの内容に係る情報がサーバに記憶され、かつ、このようなサーバが複数存在する場合においても、自動改札機においてユーザの入出場に係る処理を行うことができなくなるおそれを低減することである。
【課題を解決するための手段】
【0007】
上記課題を解決するために、請求項1に記載の発明は、サーバ装置において、
交通機関の利用に用いるチケットの内容に係る情報であるチケット内容情報を取得する第1取得手段と、
前記チケット内容情報を第1記憶手段に記憶させる記憶制御手段と、
前記第1記憶手段に記憶された前記チケット内容情報ごとに、交通機関の利用に用いるチケットに記憶される情報であるチケット記憶情報を作成する作成手段と、
改札装置において読み取られた前記チケット記憶情報を取得する第2取得手段と、
前記第2取得手段が取得した前記チケット記憶情報に対応する前記チケット内容情報が記憶されたサーバ装置を特定する第1特定手段と、
を備えることを特徴とする。
【0008】
請求項2に記載の発明は、請求項1に記載のサーバ装置において
前記チケット内容情報が記憶されたサーバ装置を特定可能な情報であるサーバ特定情報を記憶する第2記憶手段を備え、
前記第1特定手段は、前記第2記憶手段に記憶された前記サーバ特定情報を用いて、前記第2取得手段が取得した前記チケット記憶情報に対応する前記チケット内容情報が記憶されたサーバ装置を特定することを特徴とする。
【0009】
請求項3に記載の発明は、請求項1に記載のサーバ装置において、
前記作成手段が作成する前記チケット記憶情報は、前記チケット内容情報が記憶されたサーバ装置を特定可能な情報であるサーバ特定情報を含み、
前記第1特定手段は、前記チケット記憶情報に含まれる前記サーバ特定情報を用いて、前記第2取得手段が取得した前記チケット記憶情報に対応する前記チケット内容情報が記憶されたサーバ装置を特定することを特徴とする。
【0010】
請求項4に記載の発明は、請求項3に記載のサーバ装置において、
前記第1記憶手段に記憶された前記チケット内容情報ごとに、当該チケット内容情報を特定可能な情報であるチケット特定情報を付与する付与手段を備え、
前記作成手段が作成する前記チケット記憶情報は、前記チケット特定情報をさらに含むことを特徴とする。
(【0011】以降は省略されています)
この特許をJ-PlatPat(特許庁公式サイト)で参照する
関連特許
個人
詐欺保険
11日前
個人
縁伊達ポイン
11日前
個人
QRコードの彩色
15日前
個人
地球保全システム
24日前
個人
表変換編集支援システム
1か月前
個人
農作物用途分配システム
10日前
個人
残土処理システム
17日前
個人
知的財産出願支援システム
18日前
個人
タッチパネル操作指代替具
4日前
個人
パスワード管理支援システム
1か月前
個人
携帯端末障害問合せシステム
3日前
個人
行動時間管理システム
1か月前
個人
スケジュール調整プログラム
3日前
個人
システム及びプログラム
1か月前
個人
海外支援型農作物活用システム
1か月前
個人
AIキャラクター制御システム
1か月前
株式会社キーエンス
受発注システム
23日前
個人
食品レシピ生成システム
23日前
株式会社キーエンス
受発注システム
23日前
株式会社キーエンス
受発注システム
23日前
トヨタ自動車株式会社
通知装置
1日前
キヤノン株式会社
表示システム
23日前
個人
帳票自動生成型SaaSシステム
18日前
キヤノン株式会社
印刷システム
3日前
エッグス株式会社
情報処理装置
4日前
個人
人格進化型対話応答制御システム
1か月前
個人
SaaS型勤務調整支援システム
1か月前
個人
音声・通知・再配達UX制御構造
18日前
サクサ株式会社
中継装置
1か月前
個人
未来型家系図構築システム
1か月前
大同特殊鋼株式会社
疵判定方法
1か月前
個人
社会還元・施設向け供給支援構造
1か月前
個人
音声対話型帳票生成支援システム
1か月前
中部電力株式会社
学習装置
1か月前
株式会社竹中工務店
管理システム
1か月前
株式会社キーエンス
製品受発注システム
23日前
続きを見る
他の特許を見る