TOP
|
特許
|
意匠
|
商標
特許ウォッチ
Twitter
他の特許を見る
公開番号
2025162032
公報種別
公開特許公報(A)
公開日
2025-10-27
出願番号
2024065121
出願日
2024-04-15
発明の名称
物品定量取り分け装置
出願人
株式会社ケイズベルテック
代理人
個人
,
個人
主分類
B25J
15/10 20060101AFI20251020BHJP(手工具;可搬型動力工具;手工具用の柄;作業場設備;マニプレータ)
要約
【課題】シンプルな構成で比較的廉価にて供給でき、掴み上げた物品が落下するおそれがなく、定量取り分けが可能な物品定量取り分け装置を提供することを課題とする。
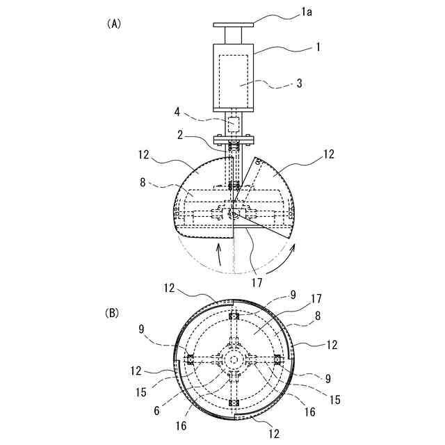
【解決手段】開閉動作する半球状シャッター11により定量の物品を掴み上げて取り分ける装置であり、半球状シャッター11は、縦方向に複数に分割された分割シャッター12により構成されていて、各分割シャッター12の上辺角部にシャッター開閉レバー15の外端が固定され、各分割シャッター12がシャッター開閉レバー15の回転に伴って所定角度旋回することにより、半球状シャッター11が開閉動作し、各シャッター開閉レバー15は、その内端に固定された従動傘歯車16が、駆動用モーターにより駆動される駆動傘歯車6に噛合することにより回転駆動される。
【選択図】図2
特許請求の範囲
【請求項1】
ロボットハンドの先端に取り付けられ、開閉動作する半球状シャッターにより定量の物品を掴み上げて取り分ける装置であり、
前記半球状シャッターは、縦方向に複数に分割された分割シャッターにより構成されていて、前記各分割シャッターの上辺角部にシャッター開閉レバーの外端が固定され、前記各分割シャッターが前記シャッター開閉レバーの回転に伴って所定角度旋回することにより、前記半球状シャッターが開閉動作し、
前記各シャッター開閉レバーは、その内端に固定された従動傘歯車が、駆動用モーターにより駆動される駆動軸に固定された駆動傘歯車に噛合することにより回転駆動されることを特徴とする物品定量取り分け装置。
続きを表示(約 400 文字)
【請求項2】
前記半球状シャッターは、前記駆動用モーターのモーターケースの下側に連結される軸筒の下側に配置され、前記シャッター開閉レバーは、前記軸筒の下側に取り付けられる軸支盤の周壁に設置される軸受により軸支される、請求項1に記載の物品定量取り分け装置。
【請求項3】
前記半球状シャッターは4つの分割シャッターにより形成される、請求項1に記載の物品定量取り分け装置。
【請求項4】
前記分割シャッターは、60度~80度の範囲で旋回する、請求項1に記載の物品定量取り分け装置。
【請求項5】
前記軸支盤の下端面に、前記分割シャッターの内側面に対応するスクレーパーブレードが配備される、請求項1に記載の物品定量取り分け装置。
【請求項6】
前記分割シャッターのエッジに切刃が形成される、請求項1に記載の物品定量取り分け装置。
発明の詳細な説明
【技術分野】
【0001】
本発明は、物品定量取り分け装置に関するものであり、より詳細には、ロボットハンドの先端に取り付けられ、例えば、食品工場や弁当工場等において、ポテトサラダ等の食材その他の保持対象となる物品を定量つかみ上げ、配列された皿や弁当箱等の容器に取り分ける装置に関するものである。
続きを表示(約 1,900 文字)
【背景技術】
【0002】
上記物品取り分け装置に関する発明を開示する先行特許文献として、特開2019-118999号公報(特許文献1)及び特開2019-135073号公報(特許文献2)がある。
【0003】
特許文献1に開示されているロボットハンドは、先端部が基端部及び中間部を通る平面に対して交差するように傾斜した6つの指リンクが食品等の保持対象に差し込まれた後、6つの指リンクの側部の間隔が縮小されることによって保持対象が6つの指リンクの側部に挟み込まれて保持されるというものである。また、特許文献2に開示されている物品保持装置は、先端部が中心軸に向くように屈曲されている3本の保持部材が、押圧円板によって押圧されて密度が高くなった食品等の物品群に差し込まれた後、押圧円板の作用で窄まるように駆動されることにより、物品群が3本の保持部材の内側に挟み込まれて保持されるというものである。
【0004】
しかるに、上記特許文献1のロボットハンドの場合は、各指リンクの側部で食品等の保持対象を圧縮するものであるため、指リンクの側部によって食品等の保持対象を傷めてしまうおそれがあり、特許文献2の装置の場合には、各保持部材の側面で食品等の物品群を圧縮するものであるため、保持部材の側部によって食品等の物品群を傷めてしまうおそれがある。
【0005】
そして、このような問題を解決するために、物品の傷みを抑えると共に、所定量の物品を取り分けることができる物品取り分け装置が提案されている(特開2022-75464号公報(特許文献3))。この提案に係る物品取り分け装置は、少なくとも物品保持位置と物品開放位置との間で移動可能な複数の物品保持部材と、前記複数の物品保持部材が移動可能に取り付けられた基体と、前記複数の物品保持部材を駆動する駆動機構(ピニオンギア)とを備えていて、前記物品保持位置における前記物品保持部材の形状が前記物品保持部材の移動軌跡に沿う形状(半円形状)であることを特徴とするものである。
【0006】
上記提案に係る物品取り分け装置における物品保持部材は、上半部の側面にピニオンギアに噛合する連結ギアを設けた半円形部材で、断面が四角形又は円形の棒体であり、ピニオンギアの回転に伴って連結ギア部分が円弧状に移動することにより、物品保持部材が開閉動作して、物品を掴み上げ、また、落下させるものである。
【先行技術文献】
【特許文献】
【0007】
特開2019-118999号公報
特開2019-135073号公報
特開2022-75464号公報
【発明の概要】
【発明が解決しようとする課題】
【0008】
上記のとおり、上記提案に係る物品取り分け装置の場合は、上半部の側面にピニオンギアに噛合する連結ギアを設けた半円形の棒状体である物品保持部材が、ピニオンギアの回転に伴って連結ギア部分が円弧状に移動することにより開閉動作して、物品を掴み上げ、また、落下させるが、構成が複雑であるだけでなく、物品保持部材が棒状体であるために物品内に入り込みにくく、また、例えば、4本の物品保持部材によって物品を掴み上げるものであって、物品保持部材間に大きな隙間ができるので、ペースト状、粉状体、粒状体等の物品を対象とすることができない。
【0009】
本発明は、上記提案に係る物品取り分け装置の欠点を克服するためになされたもので、シンプルな構成で比較的廉価にて供給でき、掴み上げた物品が落下するおそれがないので、ペースト状、粉状体、粒状体等の物品も対象とすることができる物品定量取り分け装置を提供することを課題とする。
【課題を解決するための手段】
【0010】
上記課題を解決するための請求項1に記載の発明は、ロボットハンドの先端に取り付けられ、開閉動作する半球状シャッターにより定量の物品を掴み上げて取り分ける装置であり、
前記半球状シャッターは、縦方向に複数に分割された分割シャッターにより構成されていて、前記各分割シャッターの上辺角部にシャッター開閉レバーの外端が固定され、前記各分割シャッターが前記シャッター開閉レバーの回転に伴って所定角度旋回することにより、前記半球状シャッターが開閉動作し、
前記各シャッター開閉レバーは、その内端に固定された従動傘歯車が、駆動用モーターにより駆動される駆動軸に固定された駆動傘歯車に噛合することにより回転駆動されることを特徴とする物品定量取り分け装置である。
(【0011】以降は省略されています)
この特許をJ-PlatPat(特許庁公式サイト)で参照する
関連特許
個人
フラワーホッチキス。
17日前
川崎重工業株式会社
ロボット
1か月前
株式会社三協システム
移載装置
1か月前
株式会社竹中工務店
補助セット
29日前
株式会社不二越
ロボット
29日前
川崎重工業株式会社
ハンド
21日前
株式会社マキタ
ハンマドリル
4日前
株式会社マキタ
ハンマドリル
4日前
トヨタ自動車株式会社
ロボット
24日前
工機ホールディングス株式会社
作業機
21日前
株式会社不二越
移動ロボットシステム
1か月前
川崎重工業株式会社
塗装システム
21日前
株式会社安川電機
ロボット
1日前
株式会社不二越
エッジ仕上げ装置
1か月前
本田技研工業株式会社
装置
1か月前
株式会社不二越
ロボットシステム
1か月前
株式会社不二越
垂直多関節ロボット
1か月前
トヨタ自動車株式会社
軌道生成装置
24日前
アネックスツール株式会社
ドライバービット
28日前
トヨタ自動車株式会社
ロボットハンド
1日前
シンフォニアテクノロジー株式会社
搬送装置
1か月前
ライオン株式会社
移載システム
1か月前
工機ホールディングス株式会社
作業機
21日前
株式会社不二越
ロボットに用いる伝送路
14日前
株式会社マキタ
現場用作業機
10日前
ワールド技研株式会社
ロボットセル装置
29日前
株式会社マキタ
回転打撃工具
24日前
川崎重工業株式会社
ワーク搬送ロボット
21日前
倉敷紡績株式会社
ハンドおよびコネクタ接続方法
1か月前
セイコーエプソン株式会社
ロボット
28日前
山九株式会社
レンチ保持治具
24日前
トヨタ自動車株式会社
ロボットの制御装置
28日前
NTN株式会社
ハンド
1か月前
株式会社マキタ
電動工具
1か月前
NTN株式会社
作業装置
28日前
NTN株式会社
把持装置
1か月前
続きを見る
他の特許を見る