TOP
|
特許
|
意匠
|
商標
特許ウォッチ
Twitter
他の特許を見る
10個以上の画像は省略されています。
公開番号
2025162469
公報種別
公開特許公報(A)
公開日
2025-10-27
出願番号
2024065806
出願日
2024-04-15
発明の名称
接合構造
出願人
株式会社大林組
代理人
個人
主分類
E04B
1/04 20060101AFI20251020BHJP(建築物)
要約
【課題】鉄筋コンクリート部材の接合構造において、接合性能を維持しつつ、従来よりも間詰め幅を縮小することが可能な接合構造を提供する。
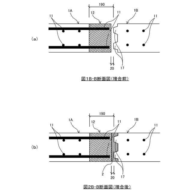
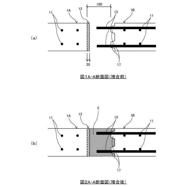
【解決手段】一方の鉄筋コンクリート部材1Aの接合端部には、鉄筋コンクリート部材1A、1Bの接続軸方向に延びる鉄筋11を繊維補強セメント系複合材料によって埋設して凹凸形状を有する突設部12が形成され、前記一方の鉄筋コンクリート部材1Aに対向する他方の鉄筋コンクリート部材1Bの接合端部には、該接合端部から突出する継手鉄筋13が突設され、前記一方の鉄筋コンクリート部材1Aの前記突設部12の凹部に前記他方の鉄筋コンクリート部材1Bの前記継手鉄筋13が配置されるとともに、前記一方の鉄筋コンクリート部材1Aの接合端部と前記他方の鉄筋コンクリート部材1Bの接合端部とは、間詰材2によって接着されることを特徴とする。
【選択図】図2
特許請求の範囲
【請求項1】
互いに対向して離間する鉄筋コンクリート部材の接合構造であって、
一方の鉄筋コンクリート部材の接合端部には、前記鉄筋コンクリート部材の接続軸方向に延びる鉄筋を繊維補強セメント系複合材料によって埋設して凹凸形状を有する突設部が形成され、
前記一方の鉄筋コンクリート部材に対向する他方の鉄筋コンクリート部材の接合端部には、該接合端部から突出する継手鉄筋が突設され、
前記一方の鉄筋コンクリート部材の前記突設部の凹部に前記他方の鉄筋コンクリート部材の前記継手鉄筋が配置されるとともに、前記一方の鉄筋コンクリート部材の接合端部と前記他方の鉄筋コンクリート部材の接合端部とは、間詰材によって接着される
ことを特徴とする接合構造。
続きを表示(約 480 文字)
【請求項2】
前記他方の鉄筋コンクリート部材の接合端部から突出する前記継手鉄筋の根元部は、繊維補強セメント系複合材料によって埋設されるとともに、前記接続軸方向に凹凸形状を有する
ことを特徴とする請求項1に記載の接続構造。
【請求項3】
前記一方の鉄筋コンクリート部材の接合端部に形成される前記突設部の凹部は、前記他方の鉄筋コンクリート部材の接合端部に突設される継手鉄筋を挿入可能な挿入孔である
ことを特徴とする請求項1に記載の接合構造。
【請求項4】
前記一方の鉄筋コンクリート部材と前記他方の鉄筋コンクリート部材とのうち少なくともいずれかはプレテンション部材を備える
ことを特徴とする請求項1~3のいずれかに記載の接合構造。
【請求項5】
前記間詰材は、繊維補強セメント系複合材料である
ことを特徴とする請求項1~3のいずれかに記載の接合構造。
【請求項6】
前記間詰材は、繊維補強セメント系複合材料である
ことを特徴とする請求項4に記載の接合構造。
発明の詳細な説明
【技術分野】
【0001】
本発明は、鉄筋コンクリート部材の接合構造に関する。
続きを表示(約 1,300 文字)
【背景技術】
【0002】
一般に、鉄筋コンクリート部材同士を接合する場合、接合面に作用する引張力に抵抗する必要がある。そこで従来は、引張力に抵抗するために鉄筋を連結するための継手が必要であったり、接合面にプレストレスを導入して、引張力が作用しないようにする必要があった。
【0003】
また、鉄筋コンクリート部材同士を接合する方法として、例えば特許文献1には、プレキャストコンクリート床版の端部に凸型多段せん断キーを形成し、接続部に打設される打継ぎコンクリートとの間に付着抵抗とせん断抵抗を得て、接続部における剛性を高めた発明が開示されている。
【0004】
さらに、特許文献2には、プレキャストコンクリート床版の端部に、橋軸直角方向に凹凸を形成し、プレキャストコンクリート床版の端部に生じる引張り力に対して、抵抗力を向上させた発明が開示されている。
【先行技術文献】
【特許文献】
【0005】
特許第6988189号公報
特開2019-183425号公報
【発明の概要】
【発明が解決しようとする課題】
【0006】
しかしながら、上記各特許文献の図からわかるように、鉄筋の重ね継手長によって接合部の幅が決定されることから、接合部における間詰め幅を狭くすることができなかった。したがって、間詰め幅が大きいことによって、間詰め材料の打設手間や材料コストの低減が課題となっている。
【0007】
そこで、本願発明は、上記した問題点に鑑み、鉄筋コンクリート部材の接合構造において、接合性能を維持しつつ、従来よりも間詰め幅を縮小することが可能な接合構造を提供することを目的とする。
【課題を解決するための手段】
【0008】
(1)に係る発明は、互いに対向して離間する鉄筋コンクリート部材の接合構造であって、一方の鉄筋コンクリート部材の接合端部には、前記鉄筋コンクリート部材の接続軸方向に延びる鉄筋を繊維補強セメント系複合材料によって埋設して凹凸形状を有する突設部が形成され、前記一方の鉄筋コンクリート部材に対向する他方の鉄筋コンクリート部材の接合端部には、該接合端部から突出する継手鉄筋が突設され、前記一方の鉄筋コンクリート部材の前記突設部の凹部に前記他方の鉄筋コンクリート部材の前記継手鉄筋が配置されるとともに、前記一方の鉄筋コンクリート部材の接合端部と前記他方の鉄筋コンクリート部材の接合端部とは、間詰材によって接着されることを特徴とする接合構造である。
【0009】
(2)に係る発明は、前記他方の鉄筋コンクリート部材の接合端部から突出する前記継手鉄筋の根元部は、繊維補強セメント系複合材料によって埋設されるとともに前記接続軸方向に凹凸形状を有することを特徴とする上記(1)に記載の接続構造である。
【0010】
(3)に係る発明は、前記一方の鉄筋コンクリート部材の接合端部に形成される前記突設部の凹部は、前記他方の鉄筋コンクリート部材の接合端部に突設される継手鉄筋を挿入可能な挿入孔であることを特徴とする上記(1)に記載の接合構造である。
(【0011】以降は省略されています)
この特許をJ-PlatPat(特許庁公式サイト)で参照する
関連特許
株式会社大林組
操縦装置
5日前
株式会社大林組
接合構造
1か月前
株式会社大林組
加熱装置
2日前
株式会社大林組
接続構造
5日前
株式会社大林組
開封装置
2日前
株式会社大林組
接合構造
5日前
株式会社大林組
飛込み台
1か月前
株式会社大林組
測定方法
1か月前
株式会社大林組
仮設建築物
1か月前
株式会社大林組
ドリル装置
5日前
株式会社大林組
建物の構造
1か月前
株式会社大林組
折畳み構造物
8日前
株式会社大林組
スロープ構造
2日前
株式会社大林組
床板の設置方法
1か月前
株式会社大林組
可搬式充電設備
1か月前
株式会社大林組
リフトアップ装置
1か月前
株式会社大林組
リフトアップ装置
1か月前
株式会社大林組
鋼矢板の圧入方法
29日前
株式会社大林組
繊維材供給システム
2日前
株式会社大林組
電動式運搬補助装置
4日前
株式会社大林組
袋体付き排水パイプ
1か月前
株式会社大林組
袋体付き排水パイプ
1か月前
株式会社大林組
建築物及び建築方法
1か月前
株式会社大林組
自動屋根開閉システム
8日前
株式会社大林組
建物の構築方法及び建物
1か月前
株式会社大林組
継手装置及び複合支持杭
1か月前
株式会社大林組
クレーンの自動運転装置
29日前
株式会社大林組
散水装置及び異物除去方法
1か月前
株式会社大林組
飛込み台及びその施工方法
1か月前
株式会社大林組
多孔質部材の漏洩検知方法
1か月前
株式会社大林組
クレーン自動運転システム
29日前
株式会社大林組
耐火構造、耐火板支持構造
22日前
株式会社大林組
制振システム、及び制振方法
1か月前
株式会社大林組
リフトアップ装置の制御装置
2日前
株式会社大林組
施工支援装置及び施工支援方法
4日前
株式会社大林組
施工支援装置及び施工支援方法
4日前
続きを見る
他の特許を見る