TOP
|
特許
|
意匠
|
商標
特許ウォッチ
Twitter
他の特許を見る
公開番号
2025136526
公報種別
公開特許公報(A)
公開日
2025-09-19
出願番号
2024035165
出願日
2024-03-07
発明の名称
多孔質部材の漏洩検知方法
出願人
株式会社大林組
代理人
弁理士法人一色国際特許事務所
主分類
G01M
3/02 20060101AFI20250911BHJP(測定;試験)
要約
【課題】多孔質部材に対して効率的に精度よく、表面から裏面に至る漏洩を生じる可能性のある不具合の存否を検知することである。
【解決手段】多孔質部材の表面から裏面に至る漏洩を生じる不具合を検知する、多孔質部材の漏洩検知方法であって、前記前記多孔質部材の表面に設定した評価対象領域の気密性を評価する気密性確認工程を含み、該気密性確認工程は、前記評価対象領域に漏洩検知液を塗布するとともに、その周囲にシール部を設けて気密処理したのち、前記評価対象領域に負圧を載荷する。
【選択図】図4
特許請求の範囲
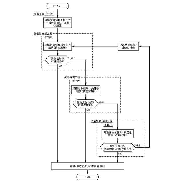
【請求項1】
多孔質部材の表面から裏面に至る漏洩を生じる可能性のある不具合を検知する、多孔質部材の漏洩検知方法であって、
前記多孔質部材の表面に設定した評価対象領域の気密性を評価する気密性確認工程を含み、
該気密性確認工程は、
前記評価対象領域に漏洩検知液を塗布するとともに、その周囲にシール部を設けて気密処理したのち、前記評価対象領域に負圧を載荷することを特徴とする多孔質部材の漏洩検知方法。
続きを表示(約 620 文字)
【請求項2】
請求項1に記載の多孔質部材の漏洩検知方法において、
前記気密性確認工程で発泡を確認した場合に、
前記気密性確認工程を再度実施して、発泡発生位置を特定する発泡再現工程を含むことを特徴とする多孔質部材の漏洩検知方法。
【請求項3】
請求項1または2に記載の多孔質部材の漏洩検知方法において、
前記気密性確認工程もしくは前記発泡再現工程で前記発泡発生位置を特定した場合に、
該発泡発生位置で透気試験を実施し、透気係数を算定する透気係数確認工程を含むことを特徴とする多孔質部材の漏洩検知方法。
【請求項4】
請求項1に記載の多孔質部材の漏洩検知方法において、
前記多孔質部材が、コンクリート部材であることを特徴とする多孔質部材の漏洩検知方法。
【請求項5】
請求項4に記載の多孔質部材の漏洩検知方法において、
前記評価対象領域が、前記コンクリート部材の打継ぎ目であり、
前記シール部は、前記打継ぎ目を挟んだ両側に形成する帯状シール部を含むことを特徴とする特徴とする多孔質部材の漏洩検知方法。
【請求項6】
請求項5に記載の多孔質部材の漏洩検知方法において、
前記打継ぎ目を長手方向に分割する複数の区画を設定し、
該区画ごとに、前記気密性確認工程を実施することを特徴とする多孔質部材の漏洩検知方法。
発明の詳細な説明
【技術分野】
【0001】
本発明は、コンクリート造などの多孔質部材において、表面から裏面に至る漏洩を生じる可能性のある不具合を検知するための、多孔質部材の漏洩検知方法に関する。
続きを表示(約 1,300 文字)
【背景技術】
【0002】
従来より、鋼製の船などに対する漏洩試験の一つに、鋼船規則に規定された真空試験がある。真空試験は、鋼製の船の水密性を気密性にて評価する試験であり、鋼材の溶接継ぎ目などに試験液を塗布して負圧を載荷し、発泡の有無によって水密性を評価する。このような真空試験は、コンクリート部材にも適用される場合がある。
【0003】
例えば、コンクリートを打継いで浮体を構築すると、打継ぎ目を介して外表面から中空部に漏水を生じる可能性がある。このため、必要に応じて上記の真空試験を適用し、漏洩を生じる可能性のある不具合の存否を検知する。ところが、コンクリートは多孔質体であるため、浮体の壁の内外における気密性に問題がなく健全であったとしても、壁内に内包する空気により表面に気泡が発生する場合があり、漏洩を生じる可能性のある不具合を精度よく検知することが困難である。
【0004】
他方、コンクリート部材の緻密性を評価する試験の一つである透気試験を実施して、漏洩を生じる可能性のある不具合の存否を検知する方法も考えられる。透気試験は、コンクリート組織の緻密さを評価する試験であり、例えば特許文献1の従来技術に開示されているように、実構造物で測定を行う方法としてトレント(Torrent)法などが広く一般に知られている。
【先行技術文献】
【特許文献】
【0005】
特開2013-238415号公報
【発明の概要】
【発明が解決しようとする課題】
【0006】
ところが、トレント(Torrent)法などの透気試験は、試験対象範囲が直径数cm程度と小さいことから、例えば、コンクリート構造物に存在する長大な打継ぎ目などに適用すると、多大な作業時間と手間を要することとなる。
【0007】
本発明は、かかる課題に鑑みなされたものであって、その主な目的は、多孔質部材に対して効率的に精度よく、表面から裏面に至る漏洩を生じる可能性のある不具合の存否を検知することである。
【課題を解決するための手段】
【0008】
かかる目的を達成するため、本発明の多孔質部材の漏洩検知方法は、多孔質部材の表面から裏面に至る漏洩を生じる可能性のある不具合を検知する、多孔質部材の漏洩検知方法であって、前記多孔質部材の表面に設定した評価対象領域の気密性を評価する気密性確認工程を含み、該気密性確認工程は、前記評価対象領域に漏洩検知液を塗布するとともに、その周囲にシール部を設けて気密処理したのち、前記評価対象領域に負圧を載荷することを特徴とする。
【0009】
本発明の漏洩検知方法は、前記気密性確認工程で発泡を確認した場合に、前記気密性確認工程を再度実施して、発泡発生位置を特定する発泡再現工程を含むことを特徴とする。
【0010】
本発明の多孔質部材の漏洩検知方法は、前記気密性確認工程もしくは前記発泡再現工程で前記発泡発生位置を特定した場合に、該発泡発生位置で透気試験を実施し、透気係数を算定する透気係数確認工程を含むことを特徴とする。
(【0011】以降は省略されています)
この特許をJ-PlatPat(特許庁公式サイト)で参照する
関連特許
株式会社大林組
建物
2か月前
株式会社大林組
建物
2か月前
株式会社大林組
加泥材
2か月前
株式会社大林組
基礎構造
1か月前
株式会社大林組
測定方法
16日前
株式会社大林組
接続構造
2か月前
株式会社大林組
飛込み台
16日前
株式会社大林組
減衰装置
2か月前
株式会社大林組
接合構造
4日前
株式会社大林組
減衰装置
2か月前
株式会社大林組
免震建築物
1か月前
株式会社大林組
仮設建築物
16日前
株式会社大林組
建物の構造
3日前
株式会社大林組
摩擦ダンパー
2か月前
株式会社大林組
耐火被覆構造
2か月前
株式会社大林組
空調システム
1か月前
株式会社大林組
監視システム
1か月前
株式会社大林組
摩擦ダンパー
2か月前
株式会社大林組
耐火被覆構造
2か月前
株式会社大林組
ルーバー構造
1か月前
株式会社大林組
土壌改良方法
2か月前
株式会社大林組
屋根構築方法
3か月前
株式会社大林組
耐火被覆構造
27日前
株式会社大林組
免震建物構造
3か月前
株式会社大林組
積層材成型方法
1か月前
株式会社大林組
可搬式充電設備
3日前
株式会社大林組
建物の躯体構造
1か月前
株式会社大林組
建物の躯体構造
1か月前
株式会社大林組
床板の設置方法
16日前
株式会社大林組
粉塵飛散抑制剤
3か月前
株式会社大林組
シャッター装置
2か月前
株式会社大林組
地震損失評価方法
2か月前
株式会社大林組
作業支援システム
1か月前
株式会社大林組
日射遮蔽発電装置
1か月前
株式会社大林組
安全支援システム
1か月前
株式会社大林組
鋼矢板の圧入方法
2日前
続きを見る
他の特許を見る