TOP
|
特許
|
意匠
|
商標
特許ウォッチ
Twitter
他の特許を見る
公開番号
2025162366
公報種別
公開特許公報(A)
公開日
2025-10-27
出願番号
2024065630
出願日
2024-04-15
発明の名称
接続構造
出願人
株式会社大林組
,
藤寿産業株式会社
代理人
個人
,
個人
主分類
E04B
1/58 20060101AFI20251020BHJP(建築物)
要約
【課題】木質軸材を軸接続材で接続する接続構造において、木質軸材に割裂破壊が生じにくくなる接続構造を提供する。
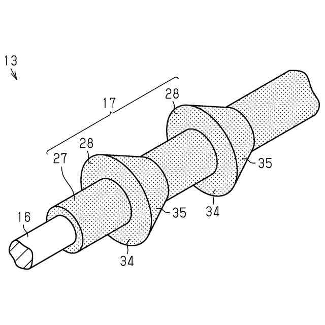
【解決手段】軸接続材13は、接続孔15に挿入される軸芯材16と、軸芯材16を内包する内包部27と内包部27よりも幅が大きい拡幅部28とを有する充填材17と、を有する。拡幅部28は、内包部27から外方に向かって延びる拡幅面34と、軸芯材16を接続孔15に押し込む押込方向側へ拡幅面34の外周端から延びて、軸方向の軸断面において内包部27に向かう斜線状をなす縮径面35と、を有して、軸方向に間隔を空けて複数形成されている。
【選択図】図3
特許請求の範囲
【請求項1】
軸方向に延びる接続孔を有する木質軸材と、
前記接続孔に一部が挿入される軸芯材と、
前記接続孔に充填され、前記軸芯材を内包する内包部と前記内包部よりも径の大きい拡幅部とを有する充填材と、を備え、
前記拡幅部は、
前記内包部から外方に向かって延びる拡幅面と、前記軸芯材を前記接続孔に押し込む押込方向側へ前記拡幅面の外周端から延びて、前記軸方向の軸断面において前記内包部に向かう縮径面と、を有して、前記軸方向に間隔を空けて複数形成されている
接続構造。
続きを表示(約 530 文字)
【請求項2】
前記縮径面は、前記軸方向の軸断面において、前記押込方向側の端部における傾斜角が鋭角に形成され、
前記拡幅面は、前記軸方向の軸断面において、前記押込方向の反対方向である引抜方向側の端部における端面角が前記傾斜角に対する余角以上に形成されている
請求項1に記載の接続構造。
【請求項3】
軸方向に延びる第1接続孔が形成された第1木質軸材と、
前記軸方向に延びる第2接続孔が形成された第2木質軸材と、
前記第1接続孔に挿入される部位と前記第2接続孔に挿入される部位とを有する軸芯材と、
前記第1接続孔に充填される第1充填材と、
前記第2接続孔に充填される第2充填材と、を備え、
前記第1充填材および前記第2充填材の各々は、
前記軸芯材を内包する内包部と前記内包部よりも径の大きい拡幅部とを有し、
前記拡幅部は、
前記内包部から外方に向かって延びる拡幅面と、前記軸芯材を押し込む押込方向側へ前記拡幅面の外周端から延びて、前記軸方向の軸断面において前記内包部に向かう縮径面と、を有して、前記軸方向に間隔を空けて複数形成されている
接続構造。
発明の詳細な説明
【技術分野】
【0001】
本発明は、木質軸材と他部材とを接続する接続構造に関する。
続きを表示(約 1,700 文字)
【背景技術】
【0002】
木質軸材と他部材と接続する接続構造として、木質軸材に形成した接続孔に鋼製の軸芯材を挿入したのち、木質軸材と軸芯材との間の隙間を充填材で充填する構造が知られている。また、こうした接続構造として、特許文献1には、軸芯材(棒状材)が挿入される軸芯材挿入部と軸芯材挿入部に設けられる接続孔拡幅部(拡張充填溝)とで接続孔を形成することが開示されている。接続孔拡幅部は、木質軸材の軸方向に沿う断面である軸断面において半円状をなしており、木質軸材の軸方向に所定間隔で設けられている。
【先行技術文献】
【特許文献】
【0003】
特開2018-123628号公報
【発明の概要】
【発明が解決しようとする課題】
【0004】
しかしながら、特許文献1に記載の構造では、軸接続材を軸芯材挿入部に押し込むような押込力や軸接続材を軸芯材挿入部から引き抜く引抜力が作用したとき、その力に抵抗する力が集中的に木質軸材に生じやすいため、割裂破壊が生じやすかった。
【課題を解決するための手段】
【0005】
上記課題を解決する接続構造は、軸方向に延びる接続孔を有する木質軸材と、前記接続孔に一部が挿入される軸芯材と、前記接続孔に充填され、前記軸芯材を内包する内包部と前記内包部よりも径の大きい拡幅部とを有する充填材と、を備える。前記拡幅部は、前記内包部から外方に向かって延びる拡幅面と、前記軸芯材を前記接続孔に押し込む押込方向側へ前記拡幅面の外周端から延びて、前記軸方向の軸断面において前記内包部に向かう縮径面と、を有して、前記軸方向に間隔を空けて複数形成されている。
【発明の効果】
【0006】
本発明によれば、木質軸材に割裂破壊が生じにくくなる。
【図面の簡単な説明】
【0007】
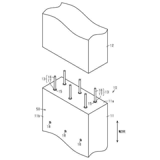
図1は、接続構造の一実施形態を構成する木質軸材および軸接続材の概略構成を他部材とともに示す斜視図である。
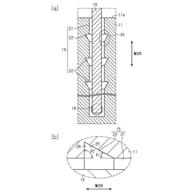
図2(a)は軸方向に沿う軸断面において接続孔に軸芯材が挿入された状態を示す図であり、図2(b)は2b線で囲まれた部分の拡大図である。
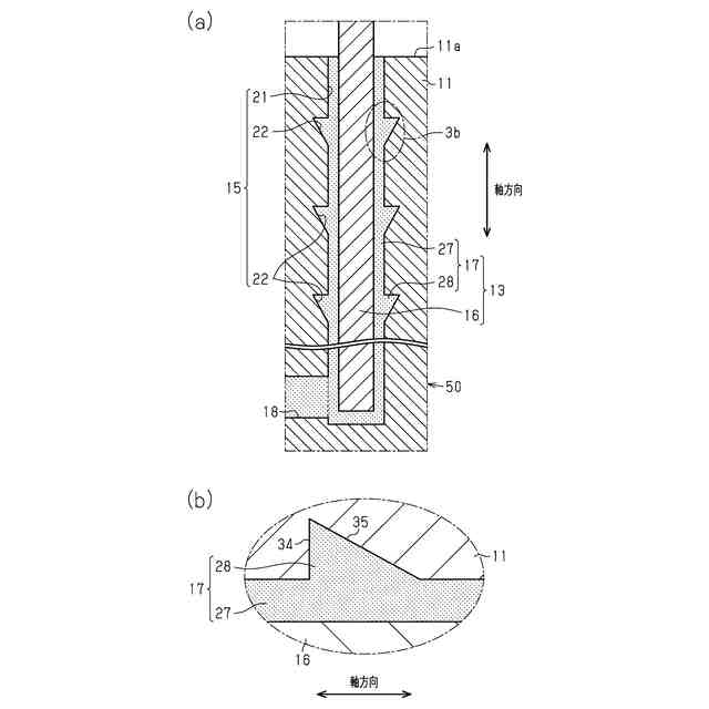
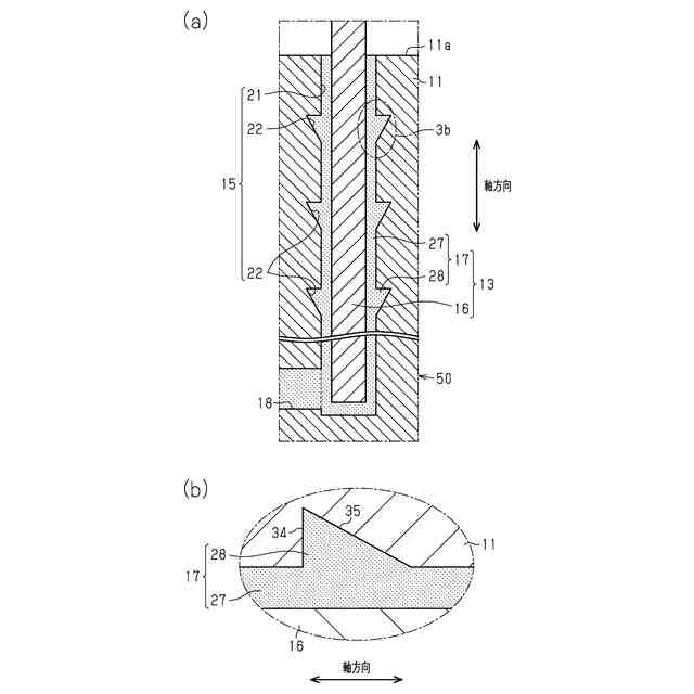
図3(a)は軸方向に沿う軸断面において充填材が形成された状態を示す図であり、図3(b)は3b線で囲まれた部分の拡大図である。
図4は、軸接続材を示す部分斜視図である。
図5は、第1木質軸材と第2木質軸材との接続方法における過程を模式的に示す断面図である。
【発明を実施するための形態】
【0008】
図1~図5を参照して、接続構造の一実施形態について説明する。
図1に示すように、接続構造10は、木質軸材11と他部材12とを軸方向に軸接続材13で接続する。木質軸材11は、例えば柱や梁など、建築物を構成する部材の一部である。他部材12は、例えば柱や梁、仕口など、建築物を構成する部材の一部である。他部材12は、木質材であってもよいし、プレキャスト材であってもよい。
【0009】
木質軸材11には、接続孔15が形成されている。接続孔15は、軸方向における一端面である接続面11aに開口を有して軸方向に延びる非貫通孔である。接続孔15には、軸接続材13を構成する軸芯材16が挿入される。「軸方向」とは、軸芯材16が延びる方向である。軸芯材16は、接続面11aから軸方向に突出している。木質軸材11は、軸芯材16の突出部分を利用して他部材12と接続される。軸芯材16は、例えば、異形鉄筋、全ねじボルト、グラスファイバー筋など、木質軸材11よりも強度の高い部材で構成することができる。
【0010】
木質軸材11の接続孔15には、木質軸材11と軸芯材16とを一体化させる充填材17が形成されている。充填材17は、流動性を有する充填材料が硬化したものである。充填材料は、例えば無収縮モルタルなどのセメント系材料である。木質軸材11に充填材17で軸芯材16を一体化させたものを軸接続材付木質軸材50という。
(【0011】以降は省略されています)
この特許をJ-PlatPat(特許庁公式サイト)で参照する
関連特許
株式会社大林組
操縦装置
11日前
株式会社大林組
接続構造
11日前
株式会社大林組
加熱装置
8日前
株式会社大林組
開封装置
8日前
株式会社大林組
接合構造
1か月前
株式会社大林組
接合構造
11日前
株式会社大林組
飛込み台
1か月前
株式会社大林組
測定方法
1か月前
株式会社大林組
仮設建築物
1か月前
株式会社大林組
免震建築物
2か月前
株式会社大林組
建物の構造
1か月前
株式会社大林組
ドリル装置
11日前
株式会社大林組
耐火被覆構造
2か月前
株式会社大林組
ルーバー構造
2か月前
株式会社大林組
折畳み構造物
14日前
株式会社大林組
空調システム
2か月前
株式会社大林組
監視システム
2か月前
株式会社大林組
スロープ構造
8日前
株式会社大林組
建物の躯体構造
2か月前
株式会社大林組
床板の設置方法
1か月前
株式会社大林組
可搬式充電設備
1か月前
株式会社大林組
災害時支援装置
今日
株式会社大林組
梁筋の配筋方法
今日
株式会社大林組
大梁胴縁接続構造
2日前
株式会社大林組
鋼矢板の圧入方法
1か月前
株式会社大林組
安全支援システム
2か月前
株式会社大林組
リフトアップ装置
1か月前
株式会社大林組
リフトアップ装置
1か月前
株式会社大林組
電動式運搬補助装置
10日前
株式会社大林組
建築物及び建築方法
1か月前
株式会社大林組
繊維材供給システム
8日前
株式会社大林組
袋体付き排水パイプ
1か月前
株式会社大林組
袋体付き排水パイプ
1か月前
株式会社大林組
構造物及び施工方法
今日
株式会社大林組
CO2固定量測定方法
2か月前
株式会社大林組
建設現場支援システム
1日前
続きを見る
他の特許を見る