TOP
|
特許
|
意匠
|
商標
特許ウォッチ
Twitter
他の特許を見る
10個以上の画像は省略されています。
公開番号
2025161208
公報種別
公開特許公報(A)
公開日
2025-10-24
出願番号
2024064204
出願日
2024-04-11
発明の名称
自動屋根開閉システム
出願人
株式会社大林組
代理人
個人
,
個人
,
個人
主分類
E04B
1/343 20060101AFI20251017BHJP(建築物)
要約
【課題】雨が降ったときに自動的に開く自動屋根開閉システムを提供することである。
【解決手段】地面102の上に設置された複数本の支柱101と、折畳み状態と展開状態とに開閉自在であり、複数本の支柱101の上端に架け渡された屋根1と、地面102の下方に設けられ、弾性体111により上下方向に移動自在に支持された貯水槽110と、地面102に設けられ、貯水槽110に連通する流出孔を備えた水路120と、それぞれ対応する支柱101に沿って設けられ、支柱101とともに変形自在の複数本の駆動ロッド130と、貯水槽110と駆動ロッド130との間に設けられ、貯水槽110の上下方向の移動を駆動ロッド130の回転に変換する第1変換機構と、駆動ロッド130の回転により支柱101を上端が互いに離間するように変形させる第2変換機構と、を有する自動屋根開閉システム100。
【選択図】図9
特許請求の範囲
【請求項1】
それぞれ複数本の棒材を上下方向にヒンジで連結して構成され、地面の上に設置された複数本の支柱と、
折畳み状態と展開状態とに開閉自在であり、複数本の前記支柱の上端に架け渡された屋根と、
前記地面の下方に設けられ、弾性体により上下方向に移動自在に支持された貯水槽と、
前記地面に設けられ、前記貯水槽に連通する流出孔を備えた水路と、
それぞれ対応する前記支柱に沿って設けられ、前記支柱とともに変形自在の複数本の駆動ロッドと、
前記貯水槽と前記駆動ロッドとの間に設けられ、前記貯水槽の上下方向の移動を前記駆動ロッドの回転に変換する第1変換機構と、
それぞれの前記駆動ロッドに設けられたウォームギヤと前記ヒンジに設けられた平ギヤとを備え、前記駆動ロッドの回転により前記支柱を上端が互いに離間するように変形させる第2変換機構と、を有することを特徴とする自動屋根開閉システム。
続きを表示(約 85 文字)
【請求項2】
前記流出孔に、前記流出孔を閉じるとともに降雨を検知したときに前記流出孔を開く止水弁が設けられている、請求項1に記載の自動屋根開閉システム。
発明の詳細な説明
【技術分野】
【0001】
本発明は、自動屋根開閉システムに関する。
続きを表示(約 1,700 文字)
【背景技術】
【0002】
例えば公園や広場などのスペースに設置される構造物として、雨除けのための屋根を備えた屋根付き構造物が知られている。このような屋根付き構造物は、地面に設置された支柱と、支柱に支持された屋根とを有する構成とされるのが一般的である。(例えば特許文献1参照)
【先行技術文献】
【特許文献】
【0003】
特開2023-105058号公報
【発明の概要】
【発明が解決しようとする課題】
【0004】
しかし、上記従来の屋根付き構造物は、所定の形状を有する屋根が支柱に固定された構成であるので、日陰の部分を生じさせたり、風の流れを遮ったりするなど、雨が降っていないときに周辺の環境に負荷を与える虞があり、雨が降ったときにのみ開く開閉式の屋根を備えたものが求められていた。
【0005】
本発明は、このような課題に鑑みてなされたものであり、その目的は、雨が降ったときに自動的に開く自動屋根開閉システムを提供することにある。
【課題を解決するための手段】
【0006】
本発明の自動屋根開閉システムは、それぞれ複数本の棒材を上下方向にヒンジで連結して構成され、地面の上に設置された複数本の支柱と、折畳み状態と展開状態とに開閉自在であり、複数本の前記支柱の上端に架け渡された屋根と、前記地面の下方に設けられ、弾性体により上下方向に移動自在に支持された貯水槽と、前記地面に設けられ、前記貯水槽に連通する流出孔を備えた水路と、それぞれ対応する前記支柱に沿って設けられ、前記支柱とともに変形自在の複数本の駆動ロッドと、前記貯水槽と前記駆動ロッドとの間に設けられ、前記貯水槽の上下方向の移動を前記駆動ロッドの回転に変換する第1変換機構と、それぞれの前記駆動ロッドに設けられたウォームギヤと前記ヒンジに設けられた平ギヤとを備え、前記駆動ロッドの回転により前記支柱を上端が互いに離間するように変形させる第2変換機構と、を有することを特徴とする。
【0007】
本発明の自動屋根開閉システムは、上記構成において、前記流出孔に、前記流出孔を閉じるとともに降雨を検知したときに前記流出孔を開く止水弁が設けられているのが好ましい。
【発明の効果】
【0008】
本発明によれば、雨が降ったときに自動的に開く自動屋根開閉システムを提供することができる。
【図面の簡単な説明】
【0009】
本発明の一実施形態に係る自動屋根開閉システムに屋根として用いられる折畳み構造物の、(a)は平面図、(b)は側面図である。
図1に示す折畳み構造物の展開図である。
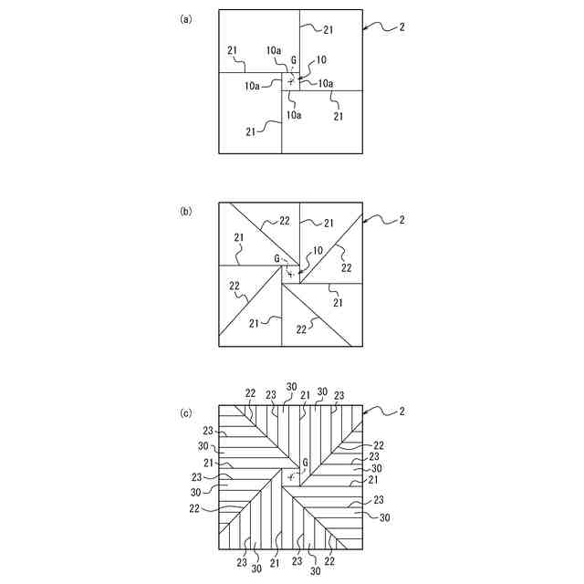
(a)は、図1に示す展開図の、第1折曲げ部のみを示した図であり、(b)は、図1に示す展開図の、第1折曲げ部と第2折曲げ部のみを示した図であり、(c)は、図1に示す展開図の、第1折曲げ部、第2折曲げ部及び第3折曲げ部のみを示した図である。
図1に示す折畳み構造物の、折畳み状態から開き始めた状態を示す図である。
図1に示す折畳み構造物の、図4に示す状態からさらに開かれた状態を示す図である。
図1に示す折畳み構造物の、展開状態における平面図である。
図2に示す展開図の要部を拡大して示す図である。
図1に示す折畳み構造物の他の実施形態の展開図である。
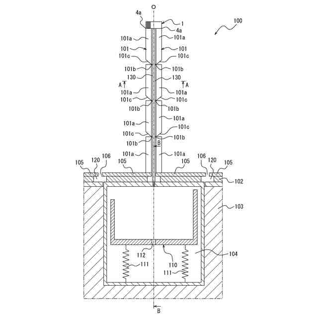
本発明の一実施形態に係る自動屋根開閉システムの構成を概略で示す図である。
図9におけるA-A線に沿う断面図である。
図9におけるB-B線に沿う断面図である。
図11におけるC-C線に沿う断面図である。
第2変換機構の構造を示す斜視図である。
図9に示す自動屋根開閉システムの、屋根を開き始めた状態を示す図である。
図9に示す自動屋根開閉システムの、屋根を展開状態となった状態を示す図である。
【発明を実施するための形態】
【0010】
以下、図面を参照しつつ本発明の一実施形態に係る自動屋根開閉システムについて詳細に例示説明する。
(【0011】以降は省略されています)
この特許をJ-PlatPat(特許庁公式サイト)で参照する
関連特許
株式会社大林組
飛込み台
1か月前
株式会社大林組
操縦装置
3日前
株式会社大林組
加熱装置
今日
株式会社大林組
開封装置
今日
株式会社大林組
接合構造
29日前
株式会社大林組
接続構造
3日前
株式会社大林組
接合構造
3日前
株式会社大林組
測定方法
1か月前
株式会社大林組
建物の構造
28日前
株式会社大林組
仮設建築物
1か月前
株式会社大林組
免震建築物
2か月前
株式会社大林組
ドリル装置
3日前
株式会社大林組
耐火被覆構造
1か月前
株式会社大林組
ルーバー構造
1か月前
株式会社大林組
折畳み構造物
6日前
株式会社大林組
空調システム
2か月前
株式会社大林組
スロープ構造
今日
株式会社大林組
監視システム
2か月前
株式会社大林組
可搬式充電設備
28日前
株式会社大林組
建物の躯体構造
2か月前
株式会社大林組
床板の設置方法
1か月前
株式会社大林組
建物の躯体構造
2か月前
株式会社大林組
安全支援システム
2か月前
株式会社大林組
日射遮蔽発電装置
2か月前
株式会社大林組
鋼矢板の圧入方法
27日前
株式会社大林組
リフトアップ装置
1か月前
株式会社大林組
リフトアップ装置
1か月前
株式会社大林組
袋体付き排水パイプ
1か月前
株式会社大林組
袋体付き排水パイプ
1か月前
株式会社大林組
繊維材供給システム
今日
株式会社大林組
電動式運搬補助装置
2日前
株式会社大林組
建築物及び建築方法
1か月前
株式会社大林組
新設床版の設置工法
2か月前
株式会社大林組
自動屋根開閉システム
6日前
株式会社大林組
CO2固定量測定方法
1か月前
株式会社大林組
継手装置及び複合支持杭
1か月前
続きを見る
他の特許を見る