TOP
|
特許
|
意匠
|
商標
特許ウォッチ
Twitter
他の特許を見る
10個以上の画像は省略されています。
公開番号
2025162591
公報種別
公開特許公報(A)
公開日
2025-10-28
出願番号
2024065834
出願日
2024-04-16
発明の名称
冷蔵庫
出願人
三菱電機株式会社
代理人
個人
,
個人
,
個人
,
個人
,
個人
,
個人
主分類
F25D
23/02 20060101AFI20251021BHJP(冷凍または冷却;加熱と冷凍との組み合わせシステム;ヒートポンプシステム;氷の製造または貯蔵;気体の液化または固体化)
要約
【課題】省エネルギー性能に優れた冷蔵庫を提供する。
【解決手段】冷蔵庫100は、貯蔵室の開口を開閉する観音開き式の左扉6及び右扉と、扉に取り付けられ、開口を閉じた際に左扉6と右扉との隙間を塞ぐ回動可能な仕切り体8と、仕切り体8が取り付けられた扉を開閉する際に仕切り体8を回動させるガイド部品40と、扉を閉じた際に仕切り体8に接触するガスケット11aと、仕切り体8を加熱する加熱部と、を備える。ガイド部品40は、扉を開閉する際に仕切り体8と当接する突起部40aと、突起部40aを支持し内箱101bの内壁面101cに取り付けられた支持部40bとを有し、仕切り体8は上部に、扉を閉じた際にガスケット11aと接触する伝熱部25bを有し、伝熱部25bは、ガスケット11aと支持部40bとの間まで延出している。
【選択図】図10
特許請求の範囲
【請求項1】
外箱と前記外箱の内側に設けられた内箱とで形成された貯蔵室と、
前記貯蔵室の開口を開閉する観音開き式の左扉と右扉と、
前記左扉と前記右扉のうちいずれか一方に取り付けられ、前記開口を閉じた際に前記左扉と前記右扉との隙間を塞ぐ回動可能な仕切り体と、
前記仕切り体が取り付けられた扉を開閉する際に前記仕切り体を回動させるガイド部品と、
前記左扉および前記右扉に各々設けられ、扉を閉じた際に前記仕切り体に接触するガスケットと、
前記仕切り体に設けられ、前記仕切り体を加熱する加熱部と、を備え、
前記ガイド部品は、扉を開閉する際に前記仕切り体と当接する突起部と、前記突起部を支持し前記内箱の内壁面に取り付けられた支持部とを有し、
前記仕切り体は上部に、扉を閉じた際に前記ガスケットと接触する伝熱部を有し、
前記伝熱部は、前記ガスケットと前記支持部との間まで延出している、
冷蔵庫。
続きを表示(約 1,100 文字)
【請求項2】
外箱と前記外箱の内側に設けられた内箱とで形成された貯蔵室と、
前記貯蔵室の開口を開閉する観音開き式の左扉と右扉と、
前記左扉と前記右扉のうちいずれか一方に取り付けられ、前記開口を閉じた際に前記左扉と前記右扉との隙間を塞ぐ回動可能な仕切り体と、
前記仕切り体が取り付けられた扉を開閉する際に前記仕切り体を回動させるガイド部品と、
前記左扉および前記右扉に各々設けられ、扉を閉じた際に前記仕切り体に接触するガスケットと、
前記仕切り体に設けられ、前記仕切り体を加熱する加熱部と、を備え、
前記ガイド部品は、扉を開閉する際に前記仕切り体と当接する突起部と、前記突起部を支持し前記外箱と前記内箱との間に取り付けられた支持部とを有し、
前記仕切り体は上部に、扉を閉じた際に前記ガスケットと接触する伝熱部を有し、
前記伝熱部は、前記ガスケットと前記内箱との間まで延出している、
冷蔵庫。
【請求項3】
前記支持部には、前記仕切り体が回動する際に前記伝熱部との干渉を防ぐための窪みが形成されている、
請求項1に記載の冷蔵庫。
【請求項4】
前記内箱には、前記仕切り体が回動する際に前記伝熱部との干渉を防ぐための窪みが形成されている、
請求項2に記載の冷蔵庫。
【請求項5】
前記伝熱部は、前記仕切り体の上面から上方に突出して形成されている、
請求項1または2に記載の冷蔵庫。
【請求項6】
前記伝熱部は、前記仕切り体の上面から上方に突出しており、
前記支持部の下面と前記仕切り体の前記上面との間には、上下方向に隙間が形成されており、
扉を閉じた際に、前記伝熱部は、前記隙間を前方から覆う、
請求項1に記載の冷蔵庫。
【請求項7】
前記伝熱部は、前記仕切り体の上面から上方に突出しており、
前記内箱と前記仕切り体の前記上面との間には、上下方向に隙間が形成されており、
扉を閉じた際に、前記伝熱部は、前記隙間を前方から覆う、
請求項2に記載の冷蔵庫。
【請求項8】
前記ガイド部品と前記ガスケットの間には、隙間が設けられている、
請求項1、3または6に記載の冷蔵庫。
【請求項9】
前記仕切り体は、閉じた扉に対向する金属製の前面板を有し、
前記前面板は、前記伝熱部の少なくとも一部を形成する、
請求項1、2、3、4、6または7に記載の冷蔵庫。
発明の詳細な説明
【技術分野】
【0001】
本開示は、冷蔵庫に関するものである。
続きを表示(約 2,500 文字)
【背景技術】
【0002】
近年、家庭用大型冷蔵庫の最上段に配置した貯蔵室の扉は、左右に開く観音開き式タイプが主流となっており、その左右の扉の合わせ部を密閉するために、左右どちらか一方の扉の内面に回動する仕切り体が配置される場合が多い。冷蔵庫本体と扉の間、および仕切り体と扉の間には、柔軟性のあるガスケットを配置し、マグネットで吸着することで貯蔵室の密閉性を高めている。
【0003】
貯蔵室内の温度が下がると、冷蔵庫外郭、仕切り体、及びガスケットが内部から冷やされる。そして、外気と触れる表面の温度が冷蔵庫周囲環境の露点を下回ると結露が発生する。さらに仕切り体の上部や下部など隙間が設けられた箇所は、より結露が発生しやすくなる。従来、結露対策として仕切り体の内部にヒータを設けて加熱し、仕切り体およびガスケットの温度を上げる方法が採用されている。しかし、加温のためにヒータ電力を上げると冷蔵庫の消費電力が上昇する。消費電力を抑える対策として、例えば特許文献1には、仕切り体上部に冷蔵庫内部からの冷気が当たらないようにすることにより、結露を防止しヒータによる消費電力を低減する技術が開示されている。
【先行技術文献】
【特許文献】
【0004】
特開2012―037182号
【発明の概要】
【発明が解決しようとする課題】
【0005】
特許文献1の技術では、貯蔵室の天面から下方に向かって垂れ下がる構造を設けることにより、仕切り体の上部付近の冷気流を制御している。しかし、仕切り体上部と貯蔵室との間には隙間が存在しており、隙間への冷気侵入を完全に妨げることができない。そのため、ガスケットが貯蔵室内の冷気と直接接触するためガスケットの温度が低下しやすく、加温のためにヒータ電力を投入することで消費電力が上昇しやすいという課題がある。
【0006】
本開示は、上記の問題点を解決するためになされたものであり、省エネルギー性能に優れた冷蔵庫を提供することを目的とする。
【課題を解決するための手段】
【0007】
本開示に係る冷蔵庫は、外箱と前記外箱の内側に設けられた内箱とで形成された貯蔵室と、前記貯蔵室の開口を開閉する観音開き式の左扉と右扉と、前記左扉と前記右扉のうちいずれか一方に取り付けられ、前記開口を閉じた際に前記左扉と前記右扉との隙間を塞ぐ回動可能な仕切り体と、前記仕切り体が取り付けられた扉を開閉する際に前記仕切り体を回動させるガイド部品と、前記左扉および前記右扉に各々設けられ、扉を閉じた際に前記仕切り体に接触するガスケットと、前記仕切り体に設けられ、前記仕切り体を加熱する加熱部と、を備える。前記ガイド部品は、扉を開閉する際に前記仕切り体と当接する突起部と、前記突起部を支持し前記内箱の内壁面に取り付けられた支持部とを有し、前記仕切り体は上部に、扉を閉じた際に前記ガスケットと接触する伝熱部を有し、前記伝熱部は、前記ガスケットと前記支持部との間まで延出している。
【発明の効果】
【0008】
本開示によれば、仕切り体の上部に設けられた伝熱部を、ガスケットと支持部との間まで延出させている。これにより、ガスケットと仕切り体との接触面積を増やすことができ、加熱部からの熱を効率よくガスケットに伝え、結露を抑制することができる。このように加熱部の伝熱効率が上がる分、加熱部の投入電力を抑制することが可能となり、省エネルギー性能に優れた冷蔵庫を提供することができる。
【図面の簡単な説明】
【0009】
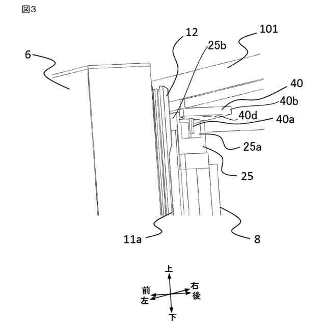
実施の形態1に係る冷蔵庫の正面を示す模式図。
図1中のB部を拡大した図
図1中のB部の斜視図
実施の形態1に係る冷蔵庫に設けられた仕切り体の分解斜視図
図2中の断面線C-Cで切断した断面図
実施の形態1に係る冷蔵庫に設けられた貯蔵室左扉を貯蔵室側から見た模式図
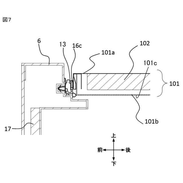
図2中の断面線E-Eで切断した断面図
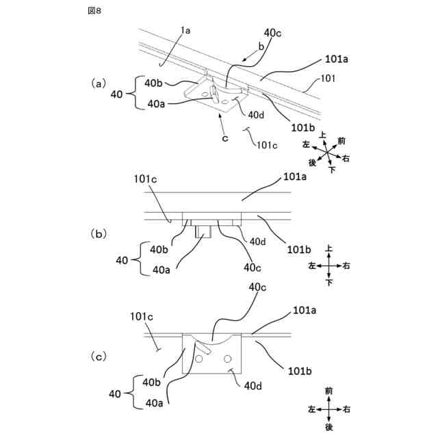
実施の形態1に係る冷蔵庫に設けられた回動ガイドを示す模式図であり、(a)は斜視図、(b)は図8(a)中の矢印bの方向からみた正面図、(c)は図8(a)中の矢印cの方向からみた下面図
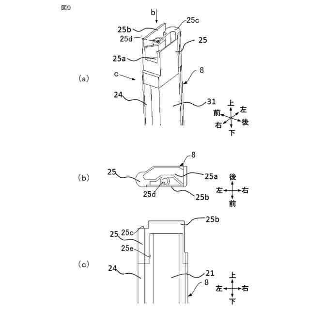
実施の形態1に係る冷蔵庫に設けられた仕切り体の上部を示す模式図であり、(a)は斜視図、(b)は図9(a)中の矢印bの方向からみた平面図、(c)は図9(a)中の矢印cの方向からみた側面図
図2中の断面線F-Fで切断した断面図
実施の形態2に係る冷蔵庫の図2に相当する拡大図。
実施の形態2に係る冷蔵庫の図3に相当する斜視図
実施の形態2に係る冷蔵庫に設けられた回動ガイドを示す図であり、(a)は斜視図、(b)は図13(a)中の矢印bの方向からみたは正面図、(c)は図13(a)中の矢印cの方向からみた下面図
実施の形態2に係る冷蔵庫に設けられた回動ガイドの分解斜視図
図11中の断面線H―Hで切断した断面図
実施の形態3に係る冷蔵庫に設けられた仕切り体の上部を示す模式図であり、(a)は斜視図、(b)は図16(a)中の矢印bの方向からみた平面図、(c)は図16(a)中の矢印cの方向からみた側面図
実施の形態4に係る冷蔵庫の図10に相当する断面図
【発明を実施するための形態】
【0010】
(実施の形態1)
本開示の実施の形態1について、図面を参照しながら説明する。以下の説明において、本開示の理解を容易にするために、図1の手前方向、すなわち冷蔵庫100の正面に立ったユーザが位置する方向を冷蔵庫100の前方、その反対の方向を冷蔵庫100の後方とし、冷蔵庫100に対して正面視したときの上下左右の方向を、そのまま冷蔵庫100の上下左右方向として説明する。なお、図2及び図3においては、貯蔵室1の内部と仕切り体8を図示するため、貯蔵室右扉7を開放した状態を示している。
(【0011】以降は省略されています)
この特許をJ-PlatPat(特許庁公式サイト)で参照する
関連特許
三菱電機株式会社
扇風機
1日前
三菱電機株式会社
換気扇
16日前
三菱電機株式会社
換気扇
16日前
三菱電機株式会社
換気扇
16日前
三菱電機株式会社
増幅器
7日前
三菱電機株式会社
冷蔵庫
3日前
三菱電機株式会社
照明器具
1か月前
三菱電機株式会社
回転電機
1か月前
三菱電機株式会社
収集装置
14日前
三菱電機株式会社
回転電機
1か月前
三菱電機株式会社
電子機器
17日前
三菱電機株式会社
照明装置
1か月前
三菱電機株式会社
回転電機
1か月前
三菱電機株式会社
照明装置
1か月前
三菱電機株式会社
回転電機
2か月前
三菱電機株式会社
換気装置
1か月前
三菱電機株式会社
保護リレー
2日前
三菱電機株式会社
加熱調理器
1か月前
三菱電機株式会社
半導体装置
1か月前
三菱電機株式会社
半導体装置
1か月前
三菱電機株式会社
半導体装置
1か月前
三菱電機株式会社
半導体装置
1か月前
三菱電機株式会社
空気調和機
9日前
三菱電機株式会社
半導体装置
1か月前
三菱電機株式会社
半導体装置
22日前
三菱電機株式会社
半導体装置
2日前
三菱電機株式会社
電力変換装置
1か月前
三菱電機株式会社
空調システム
7日前
三菱電機株式会社
ねじ締め装置
7日前
三菱電機株式会社
空気調和装置
1か月前
三菱電機株式会社
回転電機装置
1か月前
三菱電機株式会社
給湯システム
1か月前
三菱電機株式会社
点検管理装置
1日前
三菱電機株式会社
ネジ取出機構
1か月前
三菱電機株式会社
車両制御装置
1か月前
三菱電機株式会社
貯湯式給湯機
1か月前
続きを見る
他の特許を見る