TOP
|
特許
|
意匠
|
商標
特許ウォッチ
Twitter
他の特許を見る
10個以上の画像は省略されています。
公開番号
2025145231
公報種別
公開特許公報(A)
公開日
2025-10-03
出願番号
2024045309
出願日
2024-03-21
発明の名称
全固体電池
出願人
太陽誘電株式会社
代理人
個人
主分類
H01M
10/0585 20100101AFI20250926BHJP(基本的電気素子)
要約
【課題】 電池特性の向上、信頼性の向上、および歩留まり率向上を実現することができる全固体電池を提供する。
【解決手段】 固体電解質層と内部電極層とが第1方向に交互に積層された積層チップを備え、複数の内部電極層は、積層チップにおいて第1方向に直交する第2方向において互いに対向する2端面に交互に引き出され、内部電極層の周囲に余白部が設けられており、第1方向から見た場合に、第1方向と第2方向と直交する第3方向において、内部電極層の周縁部と余白部の一部とが重なる重なり部が形成され、第3方向における内部電極層の余白部側の先端点E1と余白部の内部電極層側の先端点E2とを結ぶ直線と、内部電極層の第3方向の両端を結ぶ直線とがなす角度をθとし、余白部の厚みをt1とし、第3方向における先端点E1と先端点E2との長さをdとした場合に、0.1×t1/tanθ≦d≦2.0×t1/tanθの関係が成立する。
【選択図】 図6
特許請求の範囲
【請求項1】
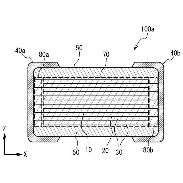
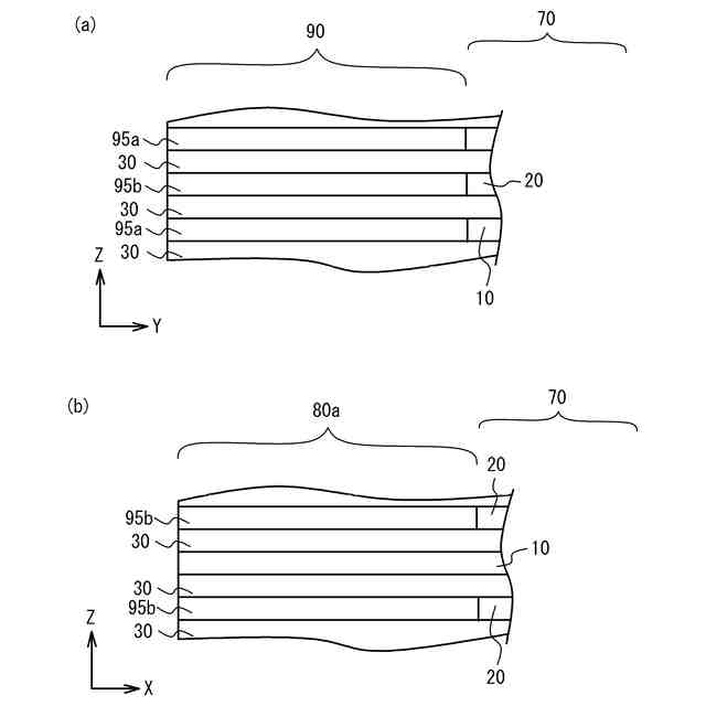
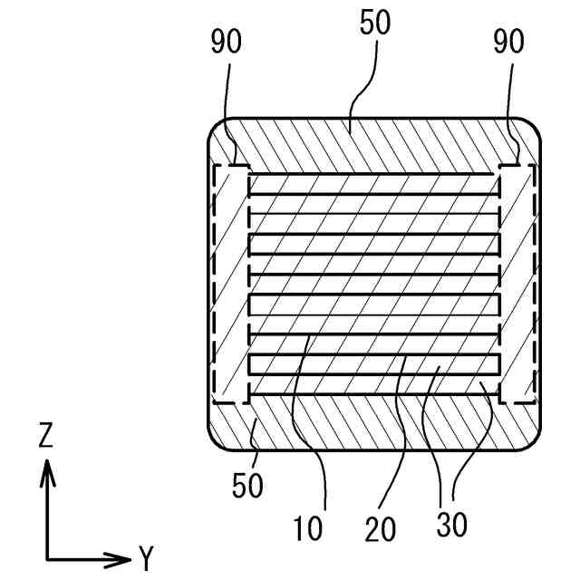
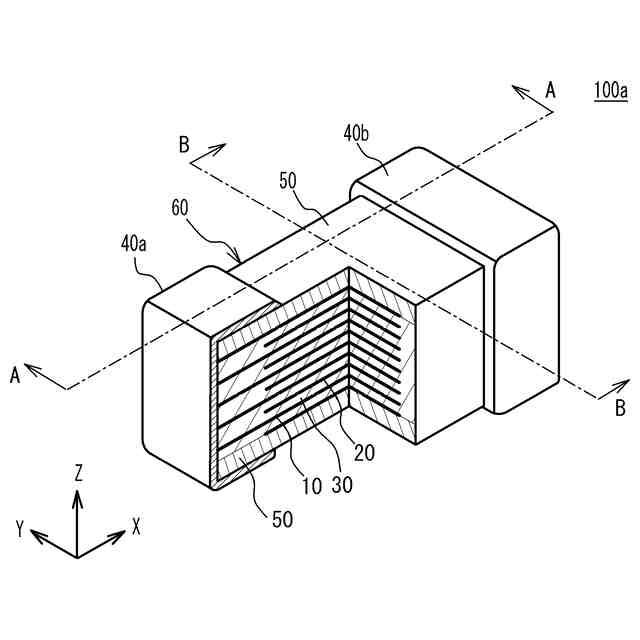
第1方向において互いに対向する2主面と、前記第1方向に直交する第2方向において互いに対向する2端面と、前記第1方向および前記第2方向と直交する第3方向において互いに対向する2側面を有する固体電解質層と、
前記固体電解質層の一方の主面上に形成され、一方の端面に引き出された第1内部電極層と、
前記固体電解質層の他方の主面上に形成され、他方の端面に引き出された第2内部電極層と、
前記固体電解質層の一方の主面上において前記第1内部電極層の周囲に形成され、前記固体電解質層および前記第1内部電極層と組成が異なる第1余白部と、
前記固体電解質層の他方の主面上において前記第2内部電極層の周囲に形成され、前記固体電解質層および前記第2内部電極層と組成が異なる第2余白部と、
前記第1方向から見た場合に、前記第3方向において、前記第1内部電極層の周縁部と前記第1余白部の一部とが重なる第1重なり部および前記第2内部電極層の周縁部と前記第2余白部の一部とが重なる第2重なり部と、を含み、
前記第1重なり部または前記第2重なり部のいずれかにおいて、前記第3方向における前記内部電極層の前記余白部側の先端点E1と前記余白部の前記内部電極層側の先端点E2とを結ぶ直線と、前記内部電極層の前記第3方向の両端を結ぶ直線とがなす角度をθとし、前記第1方向における前記余白部の厚みをt1とし、前記第3方向における前記先端点E1と前記先端点E2との長さをdとした場合に、0°<θ<90°であって、0.1×t1/tanθ≦d≦2.0×t1/tanθの関係が成立する、全固体電池。
続きを表示(約 780 文字)
【請求項2】
前記θは、5°以上90°未満である、請求項1に記載の全固体電池。
【請求項3】
前記t1は、5μm以上200μm以下である、請求項1に記載の全固体電池。
【請求項4】
前記第1方向および前記第3方向を含む断面において、前記第1重なり部または前記第2重なり部のいずれかにおける前記内部電極層の外形状が曲率を有している、請求項1に記載の全固体電池。
【請求項5】
前記第1方向および前記第3方向を含む断面において、前記第1重なり部または前記第2重なり部のいずれかにおける前記内部電極層の外形状は、前記先端点E1から前記先端点E2まで曲率を有している、請求項4に記載の全固体電池。
【請求項6】
前記先端点E1が前記内部電極層の厚みにおいて前記第1方向の一方側に位置する場合、前記内部電極層の外形状は、前記第1方向の他方側に凸になって湾曲している、請求項4に記載の全固体電池。
【請求項7】
前記第1方向および前記第3方向を含む断面において、前記第1重なり部または前記第2重なり部のいずれかにおける前記内部電極層の外形状の曲率半径r1は、1μm以上500μm以下である、請求項4に記載の全固体電池。
【請求項8】
r1/t1(%)は、100%以上1000%以下である、請求項7に記載の全固体電池。
【請求項9】
前記内部電極層の積層数は、2層以上200層以下である、請求項1に記載の全固体電池。
【請求項10】
前記複数の内部電極層のうち、全層数の90%以上の内部電極層において、0.1×t1/tanθ≦d≦2.0×t1/tanθの関係が成立する、請求項1に記載の全固体電池。
(【請求項11】以降は省略されています)
発明の詳細な説明
【技術分野】
【0001】
本発明は、全固体電池に関する。
続きを表示(約 1,600 文字)
【背景技術】
【0002】
積層型の全固体電池は、発火や漏液の心配がなく、またリフロー半田付けが可能であり、安全で取り扱いが容易な二次電池である(例えば、特許文献1参照)。従来の電解液を使用したリチウムイオン電池からの移行が検討されており、幅広い分野での利用に展開されることが期待されている。
【先行技術文献】
【特許文献】
【0003】
特開2014-116136号公報
【発明の概要】
【発明が解決しようとする課題】
【0004】
電池容量確保の観点から、内部電極層の端部は薄くなっていないことが好ましい。しかしながら、充放電が繰り返されると、内部電極層は体積膨張および体積収縮を繰り返す。したがって、内部電極層の端部が厚くなっていると、固体電解質層と内部電極層との間で界面クラックが生じ、電池特性が劣化するおそれがある。そこで、界面クラックを抑制する観点から、内部電極層の端部では、先端が薄く、先端から内方に向かって次第に厚くなっていることが好ましい。
【0005】
しかしながら、内部電極層の端部において、先端から内方に向かって次第に厚くなる形状を実現しようとすると、固体電解質層と内部電極層との間の位置ずれ、圧着時の変形や圧着不良、焼結時の変形、などに起因して、電池特性および信頼性が低下するおそれがある。また、圧着時の変形によりクラックが発生し、歩留まり率が低下するおそれがある。
【0006】
本発明は、上記課題に鑑みなされたものであり、電池特性の向上、信頼性の向上、および歩留まり率向上を実現することができる全固体電池を提供することを目的とする。
【課題を解決するための手段】
【0007】
本発明に係る全固体電池は、第1方向において互いに対向する2主面と、前記第1方向に直交する第2方向において互いに対向する2端面と、前記第1方向および前記第2方向と直交する第3方向において互いに対向する2側面を有する固体電解質層と、前記固体電解質層の一方の主面上に形成され、一方の端面に引き出された第1内部電極層と、前記固体電解質層の他方の主面上に形成され、他方の端面に引き出された第2内部電極層と、前記固体電解質層の一方の主面上において前記第1内部電極層の周囲に形成され、前記固体電解質層および前記第1内部電極層と組成が異なる第1余白部と、前記固体電解質層の他方の主面上において前記第2内部電極層の周囲に形成され、前記固体電解質層および前記第2内部電極層と組成が異なる第2余白部と、前記第1方向から見た場合に、前記第3方向において、前記第1内部電極層の周縁部と前記第1余白部の一部とが重なる第1重なり部および前記第2内部電極層の周縁部と前記第2余白部の一部とが重なる第2重なり部と、を含み、前記第1重なり部または前記第2重なり部のいずれかにおいて、前記第3方向における前記内部電極層の前記余白部側の先端点E1と前記余白部の前記内部電極層側の先端点E2とを結ぶ直線と、前記内部電極層の前記第3方向の両端を結ぶ直線とがなす角度をθとし、前記第1方向における前記余白部の厚みをt1とし、前記第3方向における前記先端点E1と前記先端点E2との長さをdとした場合に、0°<θ<90°であって、0.1×t1/tanθ≦d≦2.0×t1/tanθの関係が成立する。
【0008】
上記全固体電池において、前記θは、5°以上90°未満であってもよい。
【0009】
上記全固体電池において、前記t1は、1μm以上200μm以下であってもよい。
【0010】
上記全固体電池の前記第1方向および前記第3方向を含む断面において、前記第1重なり部または前記第2重なり部のいずれかにおける前記内部電極層の外形状が曲率を有していてもよい。
(【0011】以降は省略されています)
この特許をJ-PlatPat(特許庁公式サイト)で参照する
関連特許
太陽誘電株式会社
全固体電池
今日
太陽誘電株式会社
導波路装置
今日
太陽誘電株式会社
導波路装置およびレーダ装置
今日
太陽誘電株式会社
バッテリパック及び車両の制御装置
今日
太陽誘電株式会社
圧電トランスデューサおよび電気音響装置
2日前
太陽誘電株式会社
弾性波デバイス、フィルタ、及びマルチプレクサ
今日
太陽誘電株式会社
多重モード型フィルタ、フィルタ、及びマルチプレクサ
今日
太陽誘電株式会社
積層セラミック電子部品、及び積層セラミック電子部品の製造方法
今日
太陽誘電株式会社
セラミック電子部品
3日前
太陽誘電株式会社
弾性波デバイス、フィルタ、マルチプレクサ、及び弾性波デバイスの製造方法
今日
日本発條株式会社
積層体
4日前
ローム株式会社
半導体装置
2日前
個人
防雪防塵カバー
4日前
ローム株式会社
半導体装置
2日前
ローム株式会社
半導体装置
2日前
ローム株式会社
半導体装置
今日
株式会社ティラド
面接触型熱交換器
15日前
株式会社GSユアサ
蓄電装置
4日前
個人
半導体パッケージ用ガラス基板
3日前
株式会社ホロン
冷陰極電子源
今日
株式会社GSユアサ
蓄電装置
今日
太陽誘電株式会社
全固体電池
今日
日本特殊陶業株式会社
保持装置
4日前
日本特殊陶業株式会社
保持装置
今日
マクセル株式会社
配列用マスク
15日前
日本特殊陶業株式会社
保持装置
今日
トヨタ自動車株式会社
二次電池
4日前
ローム株式会社
電子装置
4日前
TDK株式会社
電子部品
今日
日本特殊陶業株式会社
保持装置
2日前
TDK株式会社
コイル部品
今日
ローム株式会社
半導体装置
4日前
日本特殊陶業株式会社
電極
今日
矢崎総業株式会社
コネクタ
7日前
株式会社カネカ
正極活物質
4日前
個人
多層樹脂シート電池の電流制限方法
14日前
続きを見る
他の特許を見る