TOP
|
特許
|
意匠
|
商標
特許ウォッチ
Twitter
他の特許を見る
10個以上の画像は省略されています。
公開番号
2025163691
公報種別
公開特許公報(A)
公開日
2025-10-29
出願番号
2025067697
出願日
2025-04-16
発明の名称
レジスト組成物、化合物、樹脂及びレジストパターンの製造方法
出願人
住友化学株式会社
代理人
弁理士法人新樹グローバル・アイピー
主分類
G03F
7/038 20060101AFI20251022BHJP(写真;映画;光波以外の波を使用する類似技術;電子写真;ホログラフイ)
要約
【課題】良好なラインエッジラフネスを有するレジストパターンを製造することができる化合物、樹脂、レジスト組成物を提供する。
【解決手段】式(IP)で表される構造単位を含む樹脂を含有するレジスト組成物。
<com:Image com:imageContentCategory="Drawing"> <com:ImageFormatCategory>TIFF</com:ImageFormatCategory> <com:FileName>2025163691000209.tif</com:FileName> <com:HeightMeasure com:measureUnitCode="Mm">63</com:HeightMeasure> <com:WidthMeasure com:measureUnitCode="Mm">144</com:WidthMeasure> </com:Image>
[式中、R
bb1
はH原子等;X
10
は単結合、-O-等;L
10
は単結合又は置換/非置換の炭化水素基;R
5A
及びR
5B
は其々-X
1
-R
10
等。]
【選択図】なし
特許請求の範囲
【請求項1】
式(IP)で表される構造単位を含む樹脂を含有するレジスト組成物。
TIFF
2025163691000196.tif
63
144
[式(IP)中、
R
bb1
は、水素原子、ハロゲン原子又はハロゲン原子を有していてもよい炭素数1~6のアルキル基を表す。
X
10
は、単結合、又は、-O-、-CO-、-S-、-SO-、-SO
2
-、-NR
7
-、置換基を有してもよいフェニレン基もしくはこれらを組み合わせた基を表す。
R
7
は、水素原子又は炭素数1~6のアルキル基を表す。
L
10
は、単結合又は置換基を有してもよい炭素数1~36の炭化水素基を表し、該炭化水素基に含まれる-CH
2
-は、-O-、-S-、-SO
2
-、-SO-、-NR
7
-又は-CO-に置き換わっていてもよい。
R
5A
及びR
5B
は、それぞれ独立に、-X
1
-R
10
又は-X
2
-L
11
-X
1
-R
10
を表す。
X
1
は、*-CO-O-、*-O-CO-、*-O-CO-O-又は*-O-(但し、*は、L
1A
もしくはAr
1
、L
1B
もしくはAr
2
又はL
11
との結合部位を表す。)を表す。
X
2
は、*-CO-O-、*-O-CO-、*-O-CO-O-又は*-O-(但し、*は、L
1A
もしくはAr
1
又はL
1B
もしくはAr
2
との結合部位を表す。)を表す。
L
11
は、置換基を有してもよい炭素数1~28の炭化水素基を表し、該炭化水素基に含まれる-CH
2
-は、-O-、-S-、-SO
2
-、-SO-、-NR
7
-又は-CO-に置き換わっていてもよい。
R
10
は、1以上の置換基を有する炭素数3~36の脂環式炭化水素基を表し、該置換基の少なくとも1つは、-OR
11
又は-I基である。
R
11
は、水素原子又は酸不安定基を表す。
L
1A
、L
1B
、L
続きを表示(約 3,200 文字)
【請求項2】
L
1A
、L
1B
、L
2
及びL
3
は、それぞれ独立に、単結合又はハロゲン原子を有してもよい炭素数1~4のアルカンジイル基である請求項1に記載のレジスト組成物。
【請求項3】
m3が1以上の整数であり、R
3
がフッ素原子、ヨウ素原子、ヒドロキシ基、カルボキシ基、炭素数1~4のヒドロキシアルキル基、炭素数1~4のアルコキシ基又は炭素数1~3のペルフルオロアルキル基である請求項1又は2に記載のレジスト組成物。
【請求項4】
m6が1以上の整数であり、R
6
がフッ素原子、ヨウ素原子、ヒドロキシ基、カルボキシ基、炭素数1~4のヒドロキシアルキル基、炭素数1~4のアルコキシ基又は炭素数1~3のペルフルオロアルキル基である請求項1又は2に記載のレジスト組成物。
【請求項5】
(m2+m4)が1又は2である請求項1又は2に記載のレジスト組成物。
【請求項6】
Ar
1
及びAr
2
が、それぞれ独立に、炭素数6~14の芳香族炭化水素基である請求項1又は2に記載のレジスト組成物。
【請求項7】
R
10
が、1以上の置換基を有する炭素数3~12の脂環式炭化水素基であり、
該置換基の少なくとも1つは、-OR
11
であり、
R
11
は、水素原子又は酸不安定基であり、
該酸不安定基が、式(1a)で表される基又は式(2a)で表される基である請求項1に記載の請求項1又は2に記載のレジスト組成物。
TIFF
2025163691000197.tif
22
68
[式(1a)中、R
aa1
、R
aa2
及びR
aa3
は、それぞれ独立に、炭素数1~8のアルキル基、炭素数2~8のアルケニル基、炭素数3~20の脂環式炭化水素基、炭素数6~18の芳香族炭化水素基又はこれらを組み合わせた基を表すか、又はR
aa1
及びR
aa2
は互いに結合してそれらが結合する炭素原子とともに炭素数3~20の脂環式炭化水素基を形成し、該アルキル基、該アルケニル基、該脂環式炭化水素基及び該芳香族炭化水素基は、ハロゲン原子を有してもよい。
naaは、0又は1を表す。
*は結合部位を表す。]
TIFF
2025163691000198.tif
23
59
[式(2a)中、R
aa1’
及びR
aa2’
は、それぞれ独立に、水素原子又は炭素数1~12の炭化水素基を表し、R
aa3’
は、炭素数1~20の炭化水素基を表すか、又はR
aa2’
及びR
aa3’
は互いに結合してそれらが結合する-C-X
a
-とともに炭素数3~20の複素環基を形成し、該炭化水素基及び該複素環基に含まれる-CH
2
-は、-O-又は-S-で置き換わってもよく、該炭化水素基及び該複素環基は、ハロゲン原子を有してもよい。
X
a
は、酸素原子又は硫黄原子を表す。
*は結合部位を表す。]
【請求項8】
R
10
が、1以上の置換基を有する炭素数3~12の脂環式炭化水素基であり、
該置換基の少なくとも1つは、ヨウ素原子である請求項1又は2に記載のレジスト組成物。
【請求項9】
X
10
が、単結合又は式(X
10
-1)~式(X
10
-10)のいずれかで表される基である請求項1又は2に記載のレジスト組成物。
TIFF
2025163691000199.tif
43
162
[式(X
10
-1)~式(X
10
-10)中、
*、**は結合部位であり、*はR
bb1
が結合した炭素原子との結合部位を表す。
Rxは、ハロゲン原子、ヒドロキシ基、炭素数1~6のフッ化アルキル基、炭素数1~18のアルキル基又は炭素数1~6のアルコキシ基を表す。
mxは、0~4のいずれかの整数を表す。mxが2以上の整数の場合、複数のRxは互いに同じでも異なっていてもよい。
X
20
は、-O-又は-NR
7
-を表す。
R
7
は、水素原子又は炭素数1~6のアルキル基を表す。]
【請求項10】
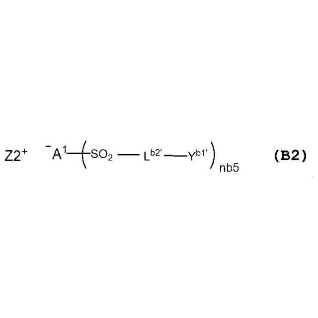
さらに、酸発生剤を含有し、該酸発生剤が、式(B1)で表される塩又は式(B2)で表される塩を含む請求項1又は2に記載のレジスト組成物。
TIFF
2025163691000200.tif
13
96
[式(B1)中、
L
b1
は、単結合又は置換基を有してもよい(nb1+1)価の炭化水素基を表し、該炭化水素基に含まれる-CH
2
-は、-O-、-S-、-CO-又は-SO
2
-に置き換わっていてもよい。
L
b2
は、単結合又は置換基を有してもよい炭素数1~24の2価の炭化水素基を表し、該炭化水素基に含まれる-CH
2
-は、-O-、-S-、-CO-又は-SO
2
-で置き換わっていてもよい。
Y
b1
は、置換基を有していてもよいメチル基又は置換基を有していてもよい炭素数3~24の環状炭化水素基を表し、該環状炭化水素基に含まれる-CH
2
-は、-O-、-S-、-SO
2
-又は-CO-に置き換わっていてもよい。
nb1は、1~6のいずれかの整数を表す。nb1が2以上のとき、複数の括弧内の基は、互いに同一であっても異なっていてもよい。
Z1
+
は、有機カチオンを表す。]
TIFF
2025163691000201.tif
12
92
[式(B2)中、
A
1
は、窒素原子又は炭素原子を表す。
L
b2’
は、単結合又は置換基を有してもよい炭素数1~24の2価の炭化水素基を表し、該炭化水素基に含まれる-CH
2
-は、-O-、-S-、-CO-又は-SO
2
-で置き換わっていてもよい。
Y
b1’
は、置換基を有してもよいメチル基又は置換基を有してもよい炭素数3~24の環状炭化水素基を表し、該環状炭化水素基に含まれる-CH
2
-は、-O-、-S-、-CO-又は-SO
2
-で置き換わっていてもよい。
nb5は、2又は3の整数を表す。A
1
が窒素原子の場合、nb5が2であり、A
1
が炭素原子の場合、nb5が3である。複数の括弧内の基は、互いに同一であっても異なっていてもよく、2つの括弧内の基が結合してA
1
を含む環を形成してもよい。
Z2
+
は、有機カチオンを表す。]
(【請求項11】以降は省略されています)
発明の詳細な説明
【技術分野】
【0001】
本発明は、化合物に由来する構造単位を含む樹脂、該樹脂を含むレジスト組成物及び該レジスト組成物を用いるレジストパターンの製造方法等に関する。
続きを表示(約 5,600 文字)
【背景技術】
【0002】
特許文献1には、下記構造式の化合物に由来する構造単位を含む樹脂を含有するレジスト組成物が記載されている。
TIFF
2025163691000001.tif
23
47
【先行技術文献】
【特許文献】
【0003】
特開2012-048067号公報
【発明の概要】
【発明が解決しようとする課題】
【0004】
上記化合物に由来する構造単位を含む樹脂を含有するレジスト組成物から形成されたレジストパターンよりも、ラインエッジラフネス(LER)が良好なレジストパターンを形成するレジスト組成物を提供することを課題とする。
【課題を解決するための手段】
【0005】
本発明は、以下の発明を含む。
〔1〕式(IP)で表される構造単位を含む樹脂を含有するレジスト組成物。
TIFF
2025163691000002.tif
63
144
[式(IP)中、
R
bb1
は、水素原子、ハロゲン原子又はハロゲン原子を有していてもよい炭素数1~6のアルキル基を表す。
X
10
は、単結合、又は、-O-、-CO-、-S-、-SO-、-SO
2
-、-NR
7
-、置換基を有してもよいフェニレン基もしくはこれらを組み合わせた基を表す。
R
7
は、水素原子又は炭素数1~6のアルキル基を表す。
L
10
は、単結合又は置換基を有してもよい炭素数1~36の炭化水素基を表し、該炭化水素基に含まれる-CH
2
-は、-O-、-S-、-SO
2
-、-SO-、-NR
7
-又は-CO-に置き換わっていてもよい。
R
5A
及びR
5B
は、それぞれ独立に、-X
1
-R
10
又は-X
2
-L
11
-X
1
-R
10
を表す。
X
1
は、*-CO-O-、*-O-CO-、*-O-CO-O-又は*-O-(但し、*は、L
1A
もしくはAr
1
、L
1B
もしくはAr
2
又はL
11
との結合部位を表す。)を表す。
X
2
は、*-CO-O-、*-O-CO-、*-O-CO-O-又は*-O-(但し、*は、L
1A
もしくはAr
1
又はL
1B
もしくはAr
2
との結合部位を表す。)を表す。
L
11
は、置換基を有してもよい炭素数1~28の炭化水素基を表し、該炭化水素基に含まれる-CH
2
-は、-O-、-S-、-SO
2
-、-SO-、-NR
7
-又は-CO-に置き換わっていてもよい。
R
10
は、1以上の置換基を有する炭素数3~36の脂環式炭化水素基を表し、該置換基の少なくとも1つは、-OR
11
又は-I基である。
R
11
は、水素原子又は酸不安定基を表す。
L
1A
、L
【発明の効果】
【0006】
本発明のレジスト組成物を用いることにより、良好なラインエッジラフネス(LER)でレジストパターンを製造することができる。
【発明を実施するための形態】
【0007】
本明細書において、「(メタ)アクリル系モノマー」とは、「アクリル系モノマー及びメタクリル系モノマーの少なくとも1種」を意味する。「(メタ)アクリレート」及び「(メタ)アクリル酸」等の記載も同様の意味を表す。本明細書中に記載する基において、直鎖構造と分岐構造の両方をとり得るものについては、そのいずれでもよい。炭化水素基等に含まれる-CH
2
-が-O-、-S-、-CO-、-SO-、-NR
X
-(Xは任意の符号)又は-SO
2
-で置き換わる場合、各基において同様の例を適用するものとし、置き換わる前の炭素数を炭化水素基等の炭素数とする。「組み合わせた基」とは、例示した基を2種以上結合させた基を意味し、それら基の価数は結合形態によって適宜変更してもよい。「由来する」又は「誘導される」とは、その分子中に含まれる重合性C=C結合が重合により-C-C-基(単結合)となることを指す。立体異性体が存在する場合は、全ての立体異性体を含む。各基は、置換基の数等によって、その基に含まれる任意の位置及び数の水素原子が結合部位に置き換わることがある。置換基における炭素数は、被置換基の炭素数には含めない。「酸不安定基」とは、酸(例えば、トリフルオロメタンスルホン酸等)と接触すると、脱離基が脱離して、親水性基(例えば、ヒドロキシ基又はカルボキシ基等)を形成する基を意味する。「塩基不安定基」とは、塩基(例えば、トリメチルアミン、テトラメチルアンモニウムヒドロキシド等)と接触すると、脱離基が脱離して、親水性基(例えば、カルボキシ基又はヒドロキシ基等)を形成する基を意味する。
本明細書において、「レジスト組成物の固形分」とは、レジスト組成物の総量から、後述する溶剤(E)を除いた成分の合計を意味する。
【0008】
<レジスト組成物>
本発明のレジスト組成物は、式(IP)で表される構造単位(以下「構造単位(IP)」という場合がある)を含む樹脂を含有する。式(IP)で表される構造単位は、式(I)で表される化合物(以下「化合物(I)」という場合がある)に由来する。
本発明のレジスト組成物は、さらに、酸発生剤(以下、「酸発生剤(B)」という場合がある)、樹脂、酸発生剤から発生する酸よりも酸性度の弱い酸を発生する塩等のクエンチャー(以下「クエンチャー(C)」という場合がある)等を含有していてもよい。樹脂としては、酸不安定基を有する構造単位を含む樹脂(以下「樹脂(A)」という場合がある)及び/又は樹脂(A)以外の樹脂が挙げられる。本願明細書において、「酸不安定基」は、脱離基を有し、酸(例えば、トリフルオロメタンスルホン酸等)との接触により脱離基が脱離して、親水性基(例えば、ヒドロキシ基又はカルボキシ基等)を形成する基を意味する。また、本発明のレジスト組成物は、光重合開始剤(以下「光重合開始剤(F)」という場合がある)を含有していてもよい。
本発明のレジスト組成物は、溶剤(以下「溶剤(E)」という場合がある)を含有することが好ましい。
【0009】
〈化合物(I)〉
化合物(I)は、以下の式で表される化合物である。
TIFF
2025163691000014.tif
53
126
[式(I)中、全ての符号は、それぞれ前記と同じ意味を表す。]
ただし、式(I)で表される化合物は、少なくとも一つのハロゲン原子を有する。
【0010】
R
bb1
のハロゲン原子としては、フッ素原子、塩素原子、臭素原子及びヨウ素原子等が挙げられる。
アルキル基としては、メチル基、エチル基、プロピル基、イソプロピル基、ブチル基、イソブチル基、tert-ブチル基、ペンチル基、ヘキシル基等のアルキル基が挙げられる。アルキル基の炭素数は、好ましくは1~4であり、より好ましくは1~3であり、さらに好ましくは1又は2であり、より一層好ましくは1である。
ハロゲン原子を有するアルキル基としては、炭素数1~6のフッ化アルキル基、炭素数1~6の塩化アルキル基、炭素数1~6の臭化アルキル基、炭素数1~6のヨウ化アルキル基等が挙げられる。具体的には、ペルフルオロアルキル基(トリフルオロメチル基、ペンタフルオロエチル基、ヘプタフルオロプロピル基、ノナフルオロブチル基等)、2,2,2-トリフルオロエチル基、3,3,3-トリフルオロプロピル基、4,4,4-トリフルオロブチル基、3,3,4,4,4-ペンタフルオロブチル基、クロロメチル基、ブロモメチル基、ヨードメチル基、フルオロメチル基、ジフルオロメチル基等が挙げられる。
R
bb1
は、水素原子又は炭素数1~4のアルキル基であることが好ましく、水素原子又は炭素数1~3のアルキル基であることがより好ましく、水素原子、メチル基又はエチル基であることがさらに好ましく、水素原子又はメチル基であることがより一層好ましい。
X
10
は、単結合、-O-、-CO-、-NR
7
-、置換基を有してもよいフェニレン基又はこれらを組み合わせた基であることが好ましく、単結合、*-O-**、*-CO-O-**、*-O-CO-O-**、*-CO-NR
7
-**、*-O-CO-NR
7
-**又は*-Ax-Ph-Ay-**であることがより好ましい。
上記の基において、*及び**は、結合部位を表し、*は、R
bb1
が結合した炭素原子との結合部位を表す。Ax及びAyは、それぞれ独立に、単結合、エーテル結合、チオエーテル結合、アミド結合、エステル結合及び炭酸エステル結合から構成される群から選択される1種以上の結合種を表す。Phは、置換基を有していてもよいフェニレン基を表す。
R
7
のアルキル基としては、メチル基、エチル基、プロピル基、イソプロピル基、ブチル基、sec-ブチル基、tert-ブチル基、ペンチル基、ヘキシル基等が挙げられる。
X
10
は、*-Ax-Ph-Ay-**で表される基の場合、以下の式(X10)で表される連結基であることが好ましい。*及び**は、結合部位を表し、*は、R
bb1
が結合した炭素原子との結合部位を表す。
TIFF
2025163691000015.tif
34
49
[式(X10)中、
Axは、R
bb1
が結合した炭素原子と結合する結合種を表し、単結合、エーテル結合、チオエーテル結合、エステル結合、アミド結合及び炭酸エステル結合から構成される群から選択される1種以上の結合種を表す。
Ayは、L
10
と結合する結合種を表し、単結合、エーテル結合、チオエーテル結合、エステル結合、アミド結合及び炭酸エステル結合から構成される群から選択される1種以上の結合種を表す。
Rxは、ハロゲン原子、ヒドロキシ基、炭素数1~6のフッ化アルキル基、炭素数1~18のアルキル基又は炭素数1~6のアルコキシ基を表す。
mxは、0~4のいずれかの整数を表し、mxが2以上の整数の場合、複数のRxは互いに同じでも異なっていてもよい。]
Ax及びAyのどちらかの一方が、単結合である場合、他方は、エーテル結合、チオエーテル結合、エステル結合、アミド結合及び炭酸エステル結合から構成される群から選択される1種以上であることが好ましい。
Ax及びAyのいずれかがアミド結合の場合、-CO-NR
7
-で表される結合であることが好ましい。
Rxは、フッ素原子、ヨウ素原子、トリフルオロメチル基、メチル基又はエチル基が好ましい。
mxは、0、1又は2が好ましい。
フェニレン基におけるAyの結合位置は、Axの結合位置に対して、m位又はp位であることが好ましく、p位であることがより好ましい。
X
10
としては、例えば、単結合又は以下の式(X
10
-1)~式(X
10
-10)のいずれかで表される基が挙げられる。*は-R
bb1
が結合する炭素原子との結合部位を表す。**は、L
10
と結合する結合部位を表す。
TIFF
2025163691000016.tif
46
170
[式(X
10
-1)~式(X
10
-10)中、
*、**は結合部位であり、*はR
bb1
が結合した炭素原子との結合部位を表す。
Rxは、ハロゲン原子、ヒドロキシ基、炭素数1~6のフッ化アルキル基、炭素数1~18のアルキル基又は炭素数1~6のアルコキシ基を表す。
mxは、0~4のいずれかの整数を表す。mxが2以上の整数の場合、複数のRxは互いに同じでも異なっていてもよい。
X
20
は、-O-又は-NR
7
-を表す。
R
7
は、水素原子又は炭素数1~6のアルキル基を表す。]
(【0011】以降は省略されています)
この特許をJ-PlatPat(特許庁公式サイト)で参照する
関連特許
住友化学株式会社
偏光板
14日前
住友化学株式会社
偏光板
17日前
住友化学株式会社
偏光板
17日前
住友化学株式会社
積層体
21日前
住友化学株式会社
発光素子
17日前
住友化学株式会社
発光素子
17日前
住友化学株式会社
発光素子
17日前
住友化学株式会社
フィルター
17日前
住友化学株式会社
偏光積層体
17日前
住友化学株式会社
垂直偏光板
14日前
住友化学株式会社
光学積層体
17日前
住友化学株式会社
フィルター
17日前
住友化学株式会社
フィルター
17日前
住友化学株式会社
電気化学センサ
1日前
住友化学株式会社
金属有機構造体
17日前
住友化学株式会社
積層体および表示装置
21日前
住友化学株式会社
光学積層体及び偏光積層体
17日前
住友化学株式会社
無機アルミニウム化合物粉末
1日前
住友化学株式会社
液晶性高分子膜及びその製造方法
21日前
住友化学株式会社
リサイクル正極活物質の製造方法
21日前
住友化学株式会社
リサイクル正極活物質の製造方法
22日前
住友化学株式会社
リサイクル正極活物質の製造方法
22日前
住友化学株式会社
リサイクル正極活物質の製造方法
22日前
住友化学株式会社
リサイクル正極活物質の製造方法
22日前
住友化学株式会社
光学積層体及び光学積層体の製造方法
17日前
住友化学株式会社
アルミニウム加工材およびその製造方法
22日前
住友化学株式会社
組成物、光電変換素子、及び光センサー
17日前
住友化学株式会社
磁気トンネル接合素子及び磁気デバイス
7日前
住友化学株式会社
粘着剤組成物、及び粘着剤層付き光学フィルム
17日前
住友化学株式会社
粘着剤組成物、及び粘着剤層付き光学フィルム
17日前
住友化学株式会社
粘着剤組成物、及び粘着剤層付き光学フィルム
17日前
住友化学株式会社
着色硬化性樹脂組成物、カラーフィルタ、及び表示装置
17日前
住友化学株式会社
偏光板
1日前
住友化学株式会社
活性エネルギー線硬化型接着剤組成物および光学積層体
17日前
住友化学株式会社
レジスト組成物及びレジストパターンの製造方法並びに塩
10日前
住友化学株式会社
化合物、組成物、インク、光電変換素子、及び光センサー
21日前
続きを見る
他の特許を見る