TOP
|
特許
|
意匠
|
商標
特許ウォッチ
Twitter
他の特許を見る
公開番号
2025164322
公報種別
公開特許公報(A)
公開日
2025-10-30
出願番号
2024068189
出願日
2024-04-19
発明の名称
サポートプログラム
出願人
ブラザー工業株式会社
代理人
弁理士法人コスモス国際特許商標事務所
主分類
G06F
3/12 20060101AFI20251023BHJP(計算;計数)
要約
【課題】OS標準の汎用印刷プログラムが組み込まれた情報処理装置において、適切なフチなし印刷をプリンタに行わせる技術を提供することにある。
【解決手段】汎用印刷プログラム41をサポートする補助プログラム42は、CPU11に、編集アプリ43から印刷指示があり、印刷設定にフチなし印刷が指定されていた場合に、印刷設定に指定された印刷用紙サイズに基づいて、フチなし印刷に対応する画像サイズを、汎用印刷プログラムに通知する通知処理と、印刷指示による印刷対象の画像を示す中間データであって、通知処理にて通知された画像サイズに従って汎用印刷プログラムによって生成された中間データを、汎用印刷プログラムから取得する取得処理と、取得処理にて取得された中間データに基づく印刷データによる印刷をプリンタに行わせるための処理を行う印刷処理と、を実行させる。
【選択図】図7
特許請求の範囲
【請求項1】
情報処理装置のコンピュータによって実行可能であり、前記情報処理装置と接続するプリンタに対応し、前記情報処理装置のオペレーティングシステムが有する汎用印刷プログラムをサポートするサポートプログラムであって、
前記コンピュータに、
前記情報処理装置に組み込まれているアプリケーションプログラムから出力された印刷指示であって、前記汎用印刷プログラムに対して画像の印刷を前記プリンタに行わせる前記印刷指示があり、前記印刷指示の印刷設定にフチなし印刷が指定されていた場合に、
前記印刷指示の前記印刷設定に指定された印刷用紙サイズに基づいて、フチなし印刷に対応する画像サイズを、前記汎用印刷プログラムに通知する通知処理と、
前記印刷指示による印刷対象の前記画像を示す中間データであって、前記通知処理にて通知された前記画像サイズに従って前記汎用印刷プログラムによって生成された前記中間データを、前記汎用印刷プログラムから取得する取得処理と、
前記取得処理にて取得された前記中間データに基づく印刷データによる印刷を前記プリンタに行わせるための処理を行う印刷処理と、
を実行させる、
ように構成されるサポートプログラム。
続きを表示(約 1,500 文字)
【請求項2】
請求項1に記載されるサポートプログラムにおいて、
前記通知処理では、
前記プリンタが前記印刷指示の前記印刷設定に指定された前記印刷用紙サイズについて余白量を0とする印刷が可能である場合に、フチなし印刷に対応する前記画像サイズとして、前記印刷指示に指定された印刷用紙サイズと同等の画像サイズを、前記汎用印刷プログラムに通知する、
ように構成されるサポートプログラム。
【請求項3】
請求項1に記載されるサポートプログラムにおいて、
前記通知処理では、
フチなし印刷に対応する前記画像サイズとして、前記印刷指示に指定された印刷用紙サイズよりも大きい画像サイズを、前記汎用印刷プログラムに通知する、
ように構成されるサポートプログラム。
【請求項4】
請求項1から請求項3のいずれか1つに記載されるサポートプログラムにおいて、
前記コンピュータに、
前記プリンタの能力を示す能力情報を取得する能力取得処理を実行させ、前記能力情報には、フチなし印刷と併用できない印刷設定に関する情報が含まれ、
前記コンピュータにさらに、
前記印刷指示があり、前記印刷指示にフチなし印刷が指定されていた場合に、
前記能力取得処理にて取得された前記能力情報に基づいて、前記印刷指示による印刷設定にフチなし印刷と併用不可の設定が含まれるか否かを判断させ、フチなし印刷と併用不可の設定が含まれると判断された場合に、前記印刷指示による前記印刷設定を印刷可能な設定内容に変更する変更処理を実行させる、
ように構成されるサポートプログラム。
【請求項5】
請求項1に記載されるサポートプログラムにおいて、
前記コンピュータに、
前記プリンタでの印刷に用いる印刷設定を受け付ける設定画面を、前記情報処理装置のユーザインタフェースを用いて表示する表示処理を実行させ、前記設定画面には、フチなし印刷を行うか否かの設定項目が含まれ、
前記コンピュータにさらに、
前記プリンタの能力を示す能力情報を取得する能力取得処理を実行させ、前記能力情報には、フチなし印刷と併用できない印刷設定に関する情報が含まれ、
前記コンピュータにさらに、
前記設定画面にてフチなし印刷を行う設定がなされている場合、前記能力取得処理にて取得された前記能力情報に基づいて、前記設定画面でのフチなし印刷と併用できない印刷設定の受け付けを制限させる、
ように構成されるサポートプログラム。
【請求項6】
請求項5に記載されるサポートプログラムにおいて、
前記能力取得処理にて取得された前記能力情報には、フチなし印刷をサポートするか否かを判断するための情報が含まれ、
前記コンピュータに、
前記能力取得処理にて取得された前記能力情報に基づいて、前記プリンタがフチなし印刷をサポートしていないと判断した場合に、前記設定画面にてフチなし印刷を行う設定を受け付けさせない、
ように構成されるサポートプログラム。
【請求項7】
請求項6に記載されるサポートプログラムにおいて、
前記能力取得処理にて取得された前記能力情報には、前記プリンタで設定可能な用紙サイズごとの余白量が含まれ、
前記コンピュータに、
前記プリンタで設定可能な用紙サイズに、余白量が0の用紙サイズが1つでもあれば、フチなし印刷をサポートしていると判断させ、余白量が0の用紙サイズが1つもなければ、フチなし印刷をサポートしていないと判断させる、
ように構成されるサポートプログラム。
発明の詳細な説明
【技術分野】
【0001】
本明細書に開示される技術分野は、プリンタの制御をサポートするサポートプログラムに関する。
続きを表示(約 2,100 文字)
【背景技術】
【0002】
近年、プリンタベンダから提供されるプリンタドライバを利用せず、オペレーティングシステム(OS)の一部を構成するOS標準の汎用印刷プログラムによってプリンタを制御する技術が実用化されている。この技術では、OSがプリンタを検知するとOS標準の汎用印刷プログラムとの関連付けを行い、以後、そのプリンタに対する印刷指示を受け付けた場合に、プリンタベンダから提供されるプリンタドライバを用いずに、OS標準の汎用印刷プログラムが印刷データを生成することで、OS標準の汎用印刷プログラムによる印刷が可能になる。
【0003】
OS標準の汎用印刷プログラムに関連する技術を開示した文献としては、例えば特許文献1がある。特許文献1には、印刷データを生成する印刷データ生成ソフトウェアの機能を拡張するための拡張アプリケーションのプログラムであって、印刷装置の属性データと印刷機能を示すデータとを取得し、特定の機能を示す情報が印刷機能を示すデータの中に含まれていない場合に、属性データに含まれる属性情報に基づいて、特定の機能に関連する情報を追加し、追加された特定の機能に関連する情報に基づき、特定の機能の設定アイテムを含む設定画面を表示する構成が開示されている。
【先行技術文献】
【特許文献】
【0004】
特開2021-108001号公報
【発明の概要】
【発明が解決しようとする課題】
【0005】
汎用印刷プログラムでは、いわゆるフチなし印刷を指定することはできるが、実際の印刷結果がフチなしにならないケースがある。特許文献1には、フチなし印刷機能を有するか否かの設定値がプリンタから得られることや、フチなし印刷時のはみ出し量を指定できることが開示されているが、フチなし印刷時にサポートプログラムが行う処理について具体的に記載されておらず、改善の余地がある。
【課題を解決するための手段】
【0006】
上述した課題の解決を目的としてなされたものであり、情報処理装置のコンピュータによって実行可能であり、前記情報処理装置と接続するプリンタに対応し、前記情報処理装置のオペレーティングシステムが有する汎用印刷プログラムをサポートするサポートプログラムであって、
前記コンピュータに、
前記情報処理装置に組み込まれているアプリケーションプログラムから出力された印刷指示であって、前記汎用印刷プログラムに対して画像の印刷を前記プリンタに行わせる前記印刷指示があり、前記印刷指示の印刷設定にフチなし印刷が指定されていた場合に、
前記印刷指示の前記印刷設定に指定された印刷用紙サイズに基づいて、フチなし印刷に対応する画像サイズを、前記汎用印刷プログラムに通知する通知処理と、
前記印刷指示による印刷対象の前記画像を示す中間データであって、前記通知処理にて通知された前記画像サイズに従って前記汎用印刷プログラムによって生成された前記中間データを、前記汎用印刷プログラムから取得する取得処理と、
前記取得処理にて取得された前記中間データに基づく印刷データによる印刷を前記プリンタに行わせるための処理を行う印刷処理と、
を実行させる。
【0007】
本明細書に開示される技術によれば、印刷設定にフチなし印刷が指定されていた場合に、サポートプログラムによって、印刷設定の印刷用紙サイズに基づいて、印刷結果がフチなし印刷となる画像サイズを汎用印刷プログラムに通知し、汎用印刷プログラムがその画像サイズに従って中間データを生成することで、汎用印刷プログラムが中間データの画像サイズを決める場合と比較して、用紙のフチまで印刷された印刷物を得られる可能性が高まる。
【発明の効果】
【0008】
本明細書に開示される技術によれば、OS標準の汎用印刷プログラムが組み込まれた情報処理装置において、適切なフチなし印刷をプリンタに行わせる技術が実現される。
【図面の簡単な説明】
【0009】
PCの電気的構成の概略を示すブロック図である。
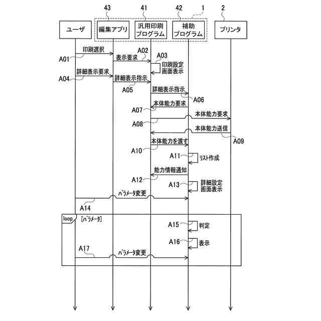
フチなし印刷をする際の印刷設定処理の手順の例を示すシーケンス図である。
印刷設定画面の例を示す説明図である。
詳細印刷設定画面の例を示す説明図である。
フチなし印刷において、印刷設定の各項目と、その項目に対して設定可能なパラメータとの関係を示す説明図である。
不適合通知画面の例を示す説明図である。
印刷実行処理の手順の例を示すシーケンス図である。
【発明を実施するための形態】
【0010】
以下、本形態のサポートプログラムを利用するパーソナルコンピュータ(以下、「PC」とする)について、添付図面を参照しつつ詳細に説明する。本明細書は、PCにて実行されるサポートプログラムを開示する。
(【0011】以降は省略されています)
この特許をJ-PlatPat(特許庁公式サイト)で参照する
関連特許
ブラザー工業株式会社
ホルダ
21日前
ブラザー工業株式会社
ミシン
21日前
ブラザー工業株式会社
ボビン
23日前
ブラザー工業株式会社
空調機
22日前
ブラザー工業株式会社
ミシン
21日前
ブラザー工業株式会社
固定具
23日前
ブラザー工業株式会社
結紮装置
22日前
ブラザー工業株式会社
縫製装置
23日前
ブラザー工業株式会社
制御装置
22日前
ブラザー工業株式会社
制御装置
22日前
ブラザー工業株式会社
塗工装置
21日前
ブラザー工業株式会社
印刷媒体
21日前
ブラザー工業株式会社
スキャナ
17日前
ブラザー工業株式会社
スキャナ
17日前
ブラザー工業株式会社
印刷媒体
21日前
ブラザー工業株式会社
印刷媒体
21日前
ブラザー工業株式会社
塗工装置
21日前
ブラザー工業株式会社
結紮装置
22日前
ブラザー工業株式会社
塗布装置
21日前
ブラザー工業株式会社
印刷装置
14日前
ブラザー工業株式会社
印刷装置
23日前
ブラザー工業株式会社
塗工装置
21日前
ブラザー工業株式会社
回収装置
21日前
ブラザー工業株式会社
印刷装置
2日前
ブラザー工業株式会社
糸巻回装置
23日前
ブラザー工業株式会社
糸巻回装置
23日前
ブラザー工業株式会社
画像形成装置
21日前
ブラザー工業株式会社
画像形成装置
21日前
ブラザー工業株式会社
画像形成装置
21日前
ブラザー工業株式会社
画像形成装置
21日前
ブラザー工業株式会社
画像形成装置
1日前
ブラザー工業株式会社
画像形成装置
21日前
ブラザー工業株式会社
静電塗工装置
21日前
ブラザー工業株式会社
画像形成装置
1日前
ブラザー工業株式会社
画像読取装置
22日前
ブラザー工業株式会社
画像形成装置
22日前
続きを見る
他の特許を見る