TOP
|
特許
|
意匠
|
商標
特許ウォッチ
Twitter
他の特許を見る
公開番号
2025164364
公報種別
公開特許公報(A)
公開日
2025-10-30
出願番号
2024068294
出願日
2024-04-19
発明の名称
外観検査装置
出願人
株式会社村田製作所
代理人
弁理士法人WisePlus
主分類
G01N
21/85 20060101AFI20251023BHJP(測定;試験)
要約
【課題】 従来よりも高速に部品をハンドリングすることができる外観検査装置を提供する。
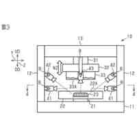
【解決手段】 部品が収容される収容穴(20a、20b、20c、20d、20e、20f)を複数備える円盤状の搬送ロータ(1)と、上記搬送ロータ(1)を回転駆動させる回転機構(15)と、上記搬送ロータを振動させる振動機構(40)と、上記収容穴に収容されている部品を撮像するイメージセンサ(50)と、を備える、ことを特徴とする外観検査装置(100)。
【選択図】 図1
特許請求の範囲
【請求項1】
部品が収容される収容穴を複数備える円盤状の搬送ロータと、
前記搬送ロータを回転駆動させる回転機構と、
前記搬送ロータを振動させる振動機構と、
前記収容穴に収容されている部品を撮像するイメージセンサと、を備える、ことを特徴とする外観検査装置。
続きを表示(約 510 文字)
【請求項2】
前記振動機構により前記搬送ロータに加えられる振動の方向は、前記回転機構により前記搬送ロータに加えられる回転の回転軸に略平行な方向である、請求項1に記載の外観検査装置。
【請求項3】
前記搬送ロータの主面は、鉛直方向に対して45°以上、90°未満の角度で傾斜している、請求項1又は2に記載の外観検査装置。
【請求項4】
前記搬送ロータに対して光を照射する光源を更に備える、請求項1又は2に記載の外観検査装置。
【請求項5】
さらに、前記搬送ロータを底面で支持する円盤状の支持テーブルを備え、
前記搬送ロータの外周端には、さらに、前記搬送ロータの前記外周端を、前記支持テーブルの外周に沿って回転させるガイドプレートが設けられている、請求項1又は2に記載の外観検査装置。
【請求項6】
さらに、前記搬送ロータを底面で支持する円盤状の支持テーブルを備え、
前記支持テーブルには、さらに、開閉により、前記搬送ロータの前記収容穴に収容された部品の保持及び排出を調整する開閉機構が設けられている、請求項1又は2に記載の外観検査装置。
発明の詳細な説明
【技術分野】
【0001】
本発明は、外観検査装置に関する。
続きを表示(約 1,000 文字)
【背景技術】
【0002】
電子部品をハンドリングする方法として、例えば、特許文献1には、電子部品を収容可能な貫通孔である部品台を放射状に並べて配置したディスク状試験プレートを回転させて、電子部品を部品台に装着、保持する方法が開示されている。
【0003】
特許文献1では、部品が部品台に収容されやすくするために、ディスク状試験プレートの底部に真空プレートを配置し、真空吸引する方法を開示している。
【先行技術文献】
【特許文献】
【0004】
特表2000-501174号公報
【発明の概要】
【発明が解決しようとする課題】
【0005】
しかしながら、真空吸引を採用する場合、吸引するために一定のスペースが必要となり、ディスク状試験プレートに部品台を多数設けることが困難になる。
このため、特許文献1の方法では、ディスク状試験プレートに占める部品台の数が不足しており、単位時間あたりの部品のハンドリング数が少なく、より高速なハンドリング方法が求められていた。
【0006】
一方で、真空吸引を採用しない場合には、部品台に部品が収容されないことが多く、部品台の利用率が低いという問題があった。
【0007】
本発明は、上記の問題を解決するためになされたものであり、従来よりも高速に部品をハンドリングすることができる外観検査装置を提供することを目的とする。
【課題を解決するための手段】
【0008】
本発明の外観検査装置は、部品が収容される収容穴を複数備える円盤状の搬送ロータと、上記搬送ロータを回転駆動させる回転機構と、上記搬送ロータを振動させる振動機構と、上記収容穴に収容されている部品を撮像するイメージセンサと、を備える、ことを特徴とする。
【発明の効果】
【0009】
本発明によれば、従来よりも高速に部品をハンドリングすることができる外観検査装置を提供することができる。
【図面の簡単な説明】
【0010】
図1は、本発明の外観検査装置の一例を模式的に示す斜視図である。
図2は、図1に示す外観検査装置の側面視図である。
図3は、本発明の外観検査装置を構成する搬送ロータの一例を模式的に示す平面視図である。
【発明を実施するための形態】
(【0011】以降は省略されています)
特許ウォッチbot のツイートを見る
この特許をJ-PlatPat(特許庁公式サイト)で参照する
関連特許
株式会社村田製作所
測定装置
28日前
株式会社村田製作所
二次電池
20日前
株式会社村田製作所
移相回路
26日前
株式会社村田製作所
コイル部品
26日前
株式会社村田製作所
電子聴診器
26日前
株式会社村田製作所
コイル部品
26日前
株式会社村田製作所
電池パック
28日前
株式会社村田製作所
ネブライザ
26日前
株式会社村田製作所
コイル部品
14日前
株式会社村田製作所
高周波回路
27日前
株式会社村田製作所
フィルタ装置
今日
株式会社村田製作所
フィルタ装置
27日前
株式会社村田製作所
電力増幅回路
6日前
株式会社村田製作所
外観検査装置
6日前
株式会社村田製作所
電力システム
15日前
株式会社村田製作所
電池モジュール
26日前
株式会社村田製作所
インダクタ部品
8日前
株式会社村田製作所
伸縮性コイル部品
13日前
株式会社村田製作所
高周波モジュール
6日前
株式会社村田製作所
積層体の切断装置
今日
株式会社村田製作所
積層体の切断装置
今日
株式会社村田製作所
電子部品包装装置
28日前
株式会社村田製作所
コンデンサモジュール
26日前
株式会社村田製作所
ファブリペロー干渉計
27日前
株式会社村田製作所
造粒粉及びインダクタ
27日前
株式会社村田製作所
積層セラミック電子部品
27日前
株式会社村田製作所
積層セラミック電子部品
12日前
株式会社村田製作所
積層セラミック電子部品
27日前
株式会社村田製作所
積層セラミック電子部品
27日前
株式会社村田製作所
濾過装置および濾過方法
27日前
株式会社村田製作所
積層セラミックコンデンサ
27日前
株式会社村田製作所
積層セラミックコンデンサ
27日前
株式会社村田製作所
二次電池および電池パック
27日前
株式会社村田製作所
二次電池および電池パック
27日前
株式会社村田製作所
高周波回路および通信装置
28日前
株式会社村田製作所
プラグの端子構造及びプラグ
27日前
続きを見る
他の特許を見る