TOP
|
特許
|
意匠
|
商標
特許ウォッチ
Twitter
他の特許を見る
10個以上の画像は省略されています。
公開番号
2025160968
公報種別
公開特許公報(A)
公開日
2025-10-24
出願番号
2024063745
出願日
2024-04-11
発明の名称
積層セラミック電子部品
出願人
株式会社村田製作所
代理人
個人
,
個人
主分類
H01G
4/30 20060101AFI20251017BHJP(基本的電気素子)
要約
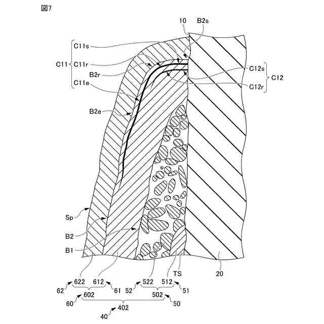
【課題】積層体のクラックの発生を抑制できる積層セラミック電子部品を提供すること。
【解決手段】積層セラミック電子部品1は、外部電極40を備え、外部電極40は、主面側下地電極層502と、主面側めっき層602と、を有し、長さ方向および高さ方向に平行な面での断面において、主面側めっき層602は、主面側下地電極層502と主面側めっき層602の境界線と、主面側めっき層602の表面のプロファイルラインSpと、の間の領域内に延びる1以上の亀裂部Cを有する。
【選択図】図5
特許請求の範囲
【請求項1】
積層された複数のセラミック層および複数の内部導体層を含み、高さ方向に相対する第1の主面および第2の主面と、高さ方向に直交する幅方向に相対する第1の側面および第2の側面と、高さ方向および幅方向に直交する長さ方向に相対する第1の端面および第2の端面と、を有する積層体と、
前記第1の端面上に配置された第1の外部電極と、前記第2の端面上に配置された第2の外部電極と、
を有する積層セラミック電子部品であって、
前記第1の外部電極および前記第2の外部電極の少なくとも一方は、
前記第1の主面上および前記第2の主面上の少なくともいずれかに配置された主面側下地電極層と、
前記主面側下地電極層よりも上層に形成された主面側めっき層と、を有し、
長さ方向および高さ方向に平行な面での断面において、前記主面側めっき層は、前記主面側下地電極層と前記主面側めっき層の境界線と、前記主面側めっき層の表面のプロファイルラインと、の間の領域内に延びる1以上の亀裂部を有する、積層セラミック電子部品。
続きを表示(約 990 文字)
【請求項2】
前記主面側めっき層は、
前記主面側下地電極層上に配置された主面側下層めっき層と、
前記主面側めっき層における最上層に位置する主面側上層めっき層と、を含む、請求項1に記載の積層セラミック電子部品。
【請求項3】
前記主面側上層めっき層は、前記主面側下層めっき層上に配置されており、長さ方向および高さ方向に平行な面での断面において、前記亀裂部は、前記境界線と、前記主面側下層めっき層と前記主面側上層めっき層の境界線であるめっき層間境界線と、の間の領域内において延びている、請求項2に記載の積層セラミック電子部品。
【請求項4】
前記主面側下層めっき層は、Niめっき層であり、前記主面側上層めっき層は、Snめっき層であり、前記亀裂部は、前記Niめっき層内において延びている、請求項3に記載の積層セラミック電子部品。
【請求項5】
1以上の前記亀裂部のうちの少なくとも1つは、前記めっき層間境界線に沿った形状で延びている、請求項3に記載の積層セラミック電子部品。
【請求項6】
前記主面側めっき層は、前記主面側下層めっき層と前記主面側上層めっき層の間に配置された主面側中間めっき層を有し、
前記亀裂部は、前記境界線と、前記主面側下層めっき層と前記主面側中間めっき層の境界線である第1めっき層間境界線と、の間の領域内において延びている、請求項2に記載の積層セラミック電子部品。
【請求項7】
前記主面側めっき層は、前記主面側下層めっき層と前記主面側上層めっき層の間に配置された主面側中間めっき層を有し、
前記亀裂部は、前記主面側下層めっき層と前記主面側中間めっき層の境界線である第1めっき層間境界線と、前記主面側中間めっき層と前記主面側上層めっき層の境界線である第2めっき層間境界線との間の領域内において延びている、請求項2に記載の積層セラミック電子部品。
【請求項8】
前記主面側下地電極層は、主面側導電性樹脂層を含む、請求項1または2に記載の積層セラミック電子部品。
【請求項9】
前記1以上の亀裂部は、複数の亀裂部であり、前記複数の亀裂部は、相互に平行曲線状に延びている、請求項1または2に記載の積層セラミック電子部品。
発明の詳細な説明
【技術分野】
【0001】
本発明は、積層セラミック電子部品に関する。
続きを表示(約 2,100 文字)
【背景技術】
【0002】
従来、積層セラミック電子部品として積層セラミックコンデンサが知られている。一般に、積層セラミックコンデンサは、誘電体層と内部電極層とが交互に複数積層された積層体と、積層体の両端面に設けられた外部電極と、を備えている。例えば特許文献1には、上述の構造を有し、かつ、外部電極が、焼き付けにより形成された下地電極層を含む積層セラミックコンデンサが開示されている。
【先行技術文献】
【特許文献】
【0003】
特開2003-243249号公報
【発明の概要】
【発明が解決しようとする課題】
【0004】
ここで、特許文献1に記載の積層セラミックコンデンサにおいて、外部電極(外部電極層)は、内部電極(内部電極層)と電気的に接続する役割を有する。一方、この外部電極に力が加わることで積層セラミックコンデンサの積層体にクラックが発生するおそれがあった。
【0005】
本発明は、積層体のクラックの発生を抑制できる積層セラミック電子部品を提供することを目的とする。
【課題を解決するための手段】
【0006】
本発明に係る積層セラミック電子部品は、積層された複数のセラミック層および複数の内部導体層を含み、高さ方向に相対する第1の主面および第2の主面と、高さ方向に直交する幅方向に相対する第1の側面および第2の側面と、高さ方向および幅方向に直交する長さ方向に相対する第1の端面および第2の端面と、を有する積層体と、前記第1の端面上に配置された第1の外部電極と、前記第2の端面上に配置された第2の外部電極と、を有する積層セラミック電子部品であって、前記第1の外部電極および前記第2の外部電極の少なくとも一方は、前記第1の主面上および前記第2の主面上の少なくともいずれかに配置された主面側下地電極層と、前記主面側下地電極層よりも上層に形成された主面側めっき層と、を有し、長さ方向および高さ方向に平行な面での断面において、前記主面側めっき層は、前記主面側下地電極層と前記主面側めっき層の境界線と、前記主面側めっき層の表面のプロファイルラインと、の間の領域内に延びる1以上の亀裂部を有する。
【発明の効果】
【0007】
本発明によれば、積層体のクラックの発生を抑制できる積層セラミック電子部品を提供することができる。
【図面の簡単な説明】
【0008】
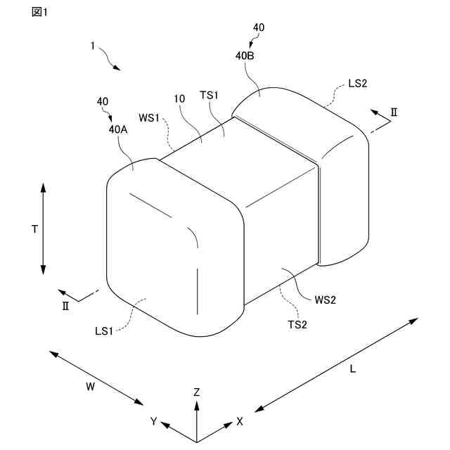
本実施形態の積層セラミックコンデンサの外観斜視図である。
図1に示す積層セラミックコンデンサのII-II線に沿った断面図である。
図2に示す積層セラミックコンデンサのIII-III線に沿った断面図である。
図2に示す積層セラミックコンデンサのIV-IV線に沿った断面図である。
図2に示す積層セラミックコンデンサのV部における外部電極断面の拡大図である。
第1の変形例の積層セラミックコンデンサにおける、図5に相当する図である。
第2の変形例の積層セラミックコンデンサにおける、図5に相当する図である。
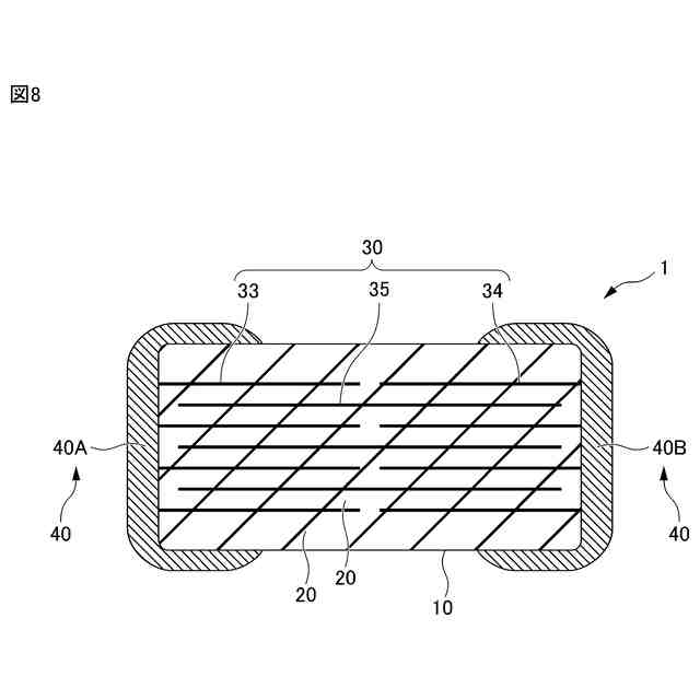
2連構造の積層セラミックコンデンサの構成の一例を示す模式図である。
3連構造の積層セラミックコンデンサの構成の一例を示す模式図である。
4連構造の積層セラミックコンデンサの構成の一例を示す模式図である。
【発明を実施するための形態】
【0009】
<実施形態>
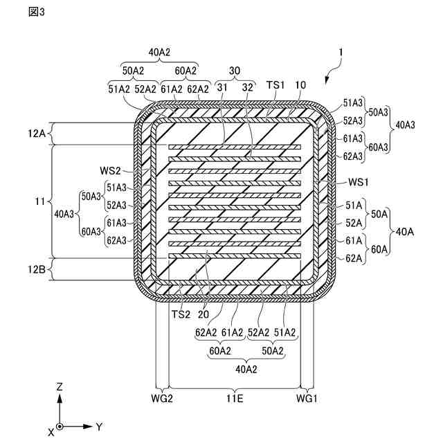
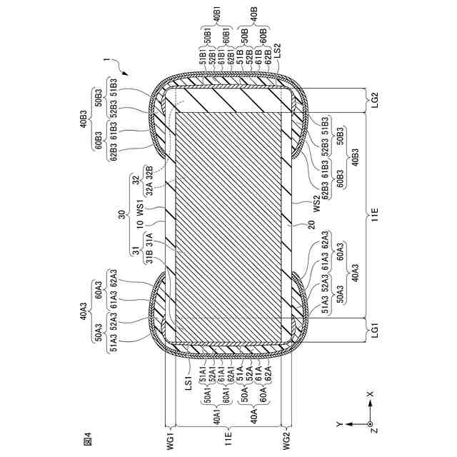
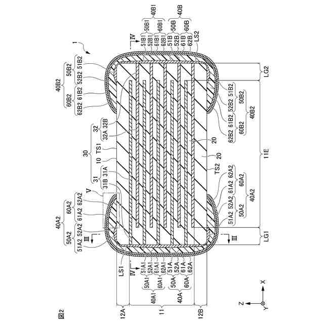
以下、本開示の一実施形態に係る積層セラミック電子部品としての積層セラミックコンデンサ1について、図1~図4を用いて説明する。図1は、本実施形態の積層セラミックコンデンサ1の外観斜視図である。図2は、図1の積層セラミックコンデンサ1のII-II線に沿った断面図である。図3は、図2の積層セラミックコンデンサ1のIII-III線に沿った断面図である。図4は、図2の積層セラミックコンデンサ1のIV-IV線に沿った断面図である。
【0010】
なお、図面は、発明の内容を説明するため、模式的に簡略化して描画している場合があり、描画された構成要素または構成要素間の寸法の比率が、明細書に記載されたそれらの寸法の比率と一致していない場合がある。また、明細書に記載されている構成要素が、図面において省略されている場合や、個数を省略して描画されている場合などがある。例えば、図2、図3に記述される内部電極層の数は、説明の便宜上、10層となっているが、これは、実際の内部電極層30の数を示すものではない。なお、本発明において用いる、形状や幾何学的条件、および、それらの程度を特定する用語、例えば、「平行」、「直交」、「同一」等の用語や長さや角度の値等については、厳密な意味に縛られることなく、同様の機能を期待し得る程度の範囲を含めて解釈することとする。
(【0011】以降は省略されています)
この特許をJ-PlatPat(特許庁公式サイト)で参照する
関連特許
株式会社村田製作所
移相回路
17日前
株式会社村田製作所
二次電池
11日前
株式会社村田製作所
ネブライザ
17日前
株式会社村田製作所
コイル部品
17日前
株式会社村田製作所
コイル部品
17日前
株式会社村田製作所
電子聴診器
17日前
株式会社村田製作所
高周波回路
18日前
株式会社村田製作所
コイル部品
5日前
株式会社村田製作所
フィルタ装置
18日前
株式会社村田製作所
電力システム
6日前
株式会社村田製作所
電池モジュール
17日前
株式会社村田製作所
伸縮性コイル部品
4日前
株式会社村田製作所
ファブリペロー干渉計
18日前
株式会社村田製作所
コンデンサモジュール
17日前
株式会社村田製作所
濾過装置および濾過方法
18日前
株式会社村田製作所
積層セラミック電子部品
3日前
株式会社村田製作所
積層セラミックコンデンサ
18日前
株式会社村田製作所
積層セラミックコンデンサ
18日前
株式会社村田製作所
二次電池用負極および二次電池
4日前
株式会社村田製作所
積層セラミック電子部品の製造方法
18日前
株式会社村田製作所
聴診デバイスおよび聴診システムに関する。
17日前
株式会社村田製作所
二次電池
13日前
株式会社村田製作所
端末装置、判定方法、コンピュータプログラム及びシステム
17日前
株式会社村田製作所
押圧位置推定システム、押圧位置推定方法、及び押圧位置推定プログラム
17日前
東ソー株式会社
絶縁電線
5日前
APB株式会社
蓄電セル
3日前
個人
フレキシブル電気化学素子
17日前
ローム株式会社
半導体装置
19日前
ローム株式会社
半導体装置
24日前
ローム株式会社
半導体装置
4日前
株式会社ユーシン
操作装置
17日前
ローム株式会社
半導体装置
26日前
ローム株式会社
半導体装置
26日前
ローム株式会社
半導体装置
26日前
日新イオン機器株式会社
イオン源
13日前
オムロン株式会社
電磁継電器
18日前
続きを見る
他の特許を見る