TOP
|
特許
|
意匠
|
商標
特許ウォッチ
Twitter
他の特許を見る
公開番号
2025164794
公報種別
公開特許公報(A)
公開日
2025-10-30
出願番号
2025133350,2021129989
出願日
2025-08-08,2021-08-06
発明の名称
車輪用軸受装置
出願人
NTN株式会社
代理人
弁理士法人矢野内外国特許事務所
主分類
F16C
33/41 20060101AFI20251023BHJP(機械要素または単位;機械または装置の効果的機能を生じ維持するための一般的手段)
要約
【課題】保持器の射出成形における樹脂の充填性を向上させるとともに、軸受トルクの増加を抑制できる車輪用軸受装置を提供する。
【解決手段】環状に形成される円環部7aと円環部7aから周方向に一定の間隔で軸方向に延びる複数の柱部7bとを有し、隣り合う柱部7bと円環部7aとによって転動体(8)の外周面に沿う曲面7cを有するポケットPtが形成され、ポケットPtに転動体(8)を保持する樹脂製の保持器7と、を備える車輪用軸受装置1であって、柱部7bは、円環部7aから軸方向に延びる根元部7fと、根元部7fから軸方向に延びる枝部7bと、を有し、枝部7bは、根元部7fの外径側にのみ形成される、とした。
【選択図】図5
特許請求の範囲
【請求項1】
内周に複列の外側軌道面が形成された外方部材と、
前記複列の外側軌道面に対向する複列の内側軌道面が形成された内方部材と、
前記外方部材と前記内方部材との両軌道面間に転動自在に介装された複列の転動体と、
環状に形成される円環部と前記円環部から周方向に一定の間隔で軸方向に延びる複数の柱部とを有し、隣り合う前記柱部と前記円環部とによって前記転動体の外周面に沿う曲面を有するポケットが形成され、前記ポケットに前記転動体を保持する樹脂製の保持器と、を備える車輪用軸受装置であって、
前記柱部は、前記円環部から軸方向に延びる根元部と、前記根元部から軸方向に延びる枝部と、を有し、前記枝部は、前記根元部の外径側にのみ形成される、ことを特徴とする車輪用軸受装置。
続きを表示(約 990 文字)
【請求項2】
前記枝部の径方向中心線は、前記円環部の外径面よりも外径側に位置する、ことを特徴とする請求項1に記載の車輪用軸受装置。
【請求項3】
前記根元部は、前記円環部の内径面から軸方向に延びる前記根元部の内径面を有し、
前記根元部と軸方向反対側の前記円環部の端部を始点として、前記根元部の内径面における先端位置までの軸方向長さは、前記枝部の基端位置までの軸方向長さよりも短く、前記円環部の内径面における先端位置までの軸方向長さよりも長い、ことを特徴とする請求項1又は請求項2に記載の車輪用軸受装置。
【請求項4】
前記枝部の内径面は、前記転動体の中心位置よりも外径側に位置する、ことを特徴とする請求項1から請求項3のいずれか一項に記載の車輪用軸受装置。
【請求項5】
前記根元部は、当該根元部の内径側において前記枝部に繋がる傾斜面を有し、
前記根元部の傾斜面は、前記転動体の中心位置よりも前記円環部側に位置する、ことを特徴とする請求項1から請求項4のいずれか一項に記載の車輪用軸受装置。
【請求項6】
前記転動体が配された軸受内部にグリースが封入されており、
前記グリースは、動粘度が30mm
2
/s~200mm
2
/sである、ことを特徴とする請求項1から請求項5のいずれか一項に記載の車輪用軸受装置。
【請求項7】
前記転動体と前記ポケットとの間のポケットすきまは、0.05mm~0.45mmである、ことを特徴とする請求項1から請求項6のいずれか一項に記載の車輪用軸受装置。
【請求項8】
前記保持器は、ゲート部を有する射出成形体であり、前記ゲート部は、射出形成時に樹脂が注入される金型のゲートと対応して位置しており、
前記ゲート部は、前記円環部に設けられ、前記柱部の軸方向の延長上に位置する、ことを特徴とする請求項1から請求項7のいずれか一項に記載の車輪用軸受装置。
【請求項9】
前記保持器は、前記ゲート部から充填された前記樹脂が合流することにより形成されたウエルドを有し、
前記ウエルドは、前記柱部同士の中間に位置する、ことを特徴とする請求項8に記載の車輪用軸受装置。
発明の詳細な説明
【技術分野】
【0001】
本発明は、車輪用軸受装置に関する。
続きを表示(約 1,600 文字)
【背景技術】
【0002】
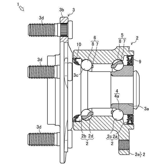
従来、自動車等の懸架装置において車輪を回転自在に支持する車輪用軸受装置が知られている。車輪用軸受装置は、複数の転動体(ここでは、ボール)を介してハブ輪を含む内方部材が外方部材に回転自在に支持されている。複数のボールは、保持器によって周方向に等配されるとともに、隣り合うボール同士の接触が防止された状態で保持されている。
【0003】
このような車輪用軸受装置において、隣り合うボール同士を仕切っている保持器の柱部の周方向の厚さを薄くするとともに、柱部に切り欠き部を形成してボールの個数を増やすことで、保持器を強度不足の問題ないものとしつつ、軸受寿命の増大を可能としたものが知られている。例えば、特許文献1及び特許文献2に記載の如くである。
【0004】
特許文献1及び特許文献2に記載の保持器には、保持器のうち柱部の周方向の厚さを薄くするとともに、隣り合うボール同士が最も近接している部分に切り欠き部が形成されている。つまり、隣り合うボール同士は、最も近接している部分に柱部が介在していない。これにより、保持器は、周方向のボール間距離を短くすることで、組み込めるボール数を増やした構造となっている。
【先行技術文献】
【特許文献】
【0005】
欧州特許出願公開第0592839号明細書
特開2005-180630号公報
【発明の概要】
【発明が解決しようとする課題】
【0006】
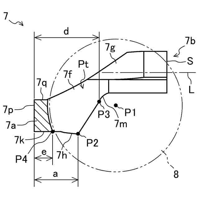
上記特許文献1及び特許文献2に記載の保持器において、柱部は、切り欠き部によって内径側と外径側の二股に分岐している。特許文献1において、図7(A)に示すように、柱部と軸方向反対側の円環部の端部を始点として、内径側の柱部の軸方向長さa1は、ボールの中心位置までの軸方向長さb1とほぼ同じである。特許文献2において、図7(B)に示すように、柱部と軸方向反対側の円環部の端部を始点として、内径側の柱部の軸方向長さa2は、ボールの中心位置までの軸方向長さb2よりも長い。このような内径側の柱部の形状は、保持器の射出形成に際して、柱部の先端まで樹脂が到達しないことによる樹脂の充填不良が懸念され、保持器の品質が安定しない可能性がある。
【0007】
また、近年の車両の低燃費化に伴い、車輪用軸受装置にも低トルク化が求められている。保持器においては、車輪用軸受装置の回転時に保持器とボールとの間でグリースのせん断抵抗が発生し、軸受トルクの増加に繋がるため、改善が求められている。
【0008】
そこで、本発明においては、保持器の射出成形における樹脂の充填性を向上させるとともに、軸受トルクの増加を抑制できる車輪用軸受装置を提供することを目的とする。
【課題を解決するための手段】
【0009】
即ち、第一の発明は、内周に複列の外側軌道面が形成された外方部材と、前記複列の外側軌道面に対向する複列の内側軌道面が形成された内方部材と、前記外方部材と前記内方部材との両軌道面間に転動自在に介装された複列の転動体と、環状に形成される円環部と前記円環部から周方向に一定の間隔で軸方向に延びる複数の柱部とを有し、隣り合う前記柱部と前記円環部とによって前記転動体の外周面に沿う曲面を有するポケットが形成され、前記ポケットに前記転動体を保持する樹脂製の保持器と、を備える車輪用軸受装置であって、前記柱部は、前記円環部から軸方向に延びる根元部と、前記根元部から軸方向に延びる枝部と、を有し、前記枝部は、前記根元部の外径側にのみ形成される、としたものである。
【発明の効果】
【0010】
本発明の効果として、以下に示すような効果を奏する。
(【0011】以降は省略されています)
この特許をJ-PlatPat(特許庁公式サイト)で参照する
関連特許
NTN株式会社
焼入れ方法
今日
NTN株式会社
ボールねじ
1日前
NTN株式会社
円すいころ軸受
1日前
NTN株式会社
ボールねじ装置
1日前
NTN株式会社
ボールねじ装置
1日前
NTN株式会社
転がり軸受の設計方法
6日前
NTN株式会社
環状部品の抜け止め構造
1日前
NTN株式会社
転がり軸受の耐電食性能評価方法
6日前
NTN株式会社
転がり軸受の耐電食性能評価方法
6日前
NTN株式会社
損傷状態診断システムおよび損傷状態診断方法
8日前
NTN株式会社
車輪用軸受装置
6日前
個人
留め具
22日前
個人
鍋虫ねじ
2か月前
個人
回転伝達機構
3か月前
個人
紛体用仕切弁
2か月前
個人
差動歯車用歯形
4か月前
個人
給排気装置
29日前
個人
ジョイント
1か月前
株式会社不二工機
電磁弁
4か月前
株式会社不二工機
電磁弁
5か月前
個人
地震の揺れ回避装置
3か月前
個人
ナット
1か月前
個人
ナット
今日
個人
吐出量監視装置
2か月前
柿沼金属精機株式会社
分岐管
2か月前
兼工業株式会社
バルブ
1日前
カヤバ株式会社
緩衝器
4か月前
カヤバ株式会社
緩衝器
4か月前
カヤバ株式会社
緩衝器
28日前
カヤバ株式会社
ダンパ
4か月前
カヤバ株式会社
ダンパ
4か月前
株式会社ニフコ
クリップ
1か月前
株式会社奥村組
制振機構
1か月前
株式会社不二工機
電動弁
29日前
個人
固着具と固着具の固定方法
5か月前
株式会社三五
ドライブシャフト
14日前
続きを見る
他の特許を見る