TOP
|
特許
|
意匠
|
商標
特許ウォッチ
Twitter
他の特許を見る
10個以上の画像は省略されています。
公開番号
2025164966
公報種別
公開特許公報(A)
公開日
2025-11-04
出願番号
2022156093
出願日
2022-09-29
発明の名称
天井走行車システム
出願人
村田機械株式会社
代理人
個人
,
個人
,
個人
,
個人
主分類
B61B
13/00 20060101AFI20251027BHJP(鉄道)
要約
【課題】天井走行車のコンパクト化が可能とする。
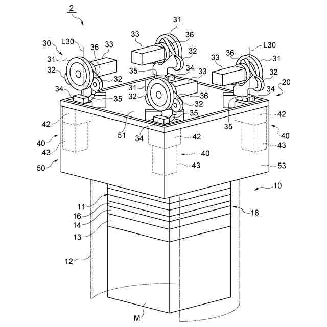
【解決手段】天井走行車システム1は、少なくとも一部が格子状に配置された軌道Rと、軌道Rに沿って走行する走行部30、走行部30を旋回させる車輪旋回機構40、及び、軌道Rよりも下方に配置されて走行部30から懸垂される本体部10を有する天井走行車2と、を備える。走行部30は、回転軸を基軸に軌道R上を転動し、旋回軸L30を基軸に旋回自在な走行車輪31を含む。車輪旋回機構40は、軌道Rの下方で且つ走行車輪31の下方に設けられ、走行車輪31を旋回させる。
【選択図】図4
特許請求の範囲
【請求項1】
少なくとも一部が格子状に配置された軌道と、
前記軌道に沿って走行する走行部、前記走行部を旋回させるステアリング駆動部、及び、前記軌道よりも下方に配置されて前記走行部から懸垂される本体部を有する天井走行車と、を備え、
前記走行部は、回転軸を基軸に前記軌道上を転動し、旋回軸を基軸に旋回自在な走行車輪を含み、
前記ステアリング駆動部は、前記軌道の下方で且つ前記走行車輪の下方に設けられ、前記走行車輪を旋回させる、天井走行車システム。
続きを表示(約 880 文字)
【請求項2】
前記走行部は、前記走行車輪の前記回転軸上に設けられた走行駆動モータを更に含む、請求項1に記載の天井走行車システム。
【請求項3】
前記軌道は、第1方向に延在する複数の第1レールと、前記第1方向と直交する第2方向に延在する第2レールと、を有し、
前記第1レール及び前記第2レールは、格子状に配置されており、
前記天井走行車は、前記第2方向に隣り合う一対の前記第1レールを前記走行部が走行することにより前記第1方向に移動し、前記第1方向に隣り合う一対の前記第2レールを前記走行部が走行することにより前記第2方向に移動し、
前記天井走行車は、
第1情報を示す第1マークから前記第1情報を取得する第1センサと、
前記第1情報と異なる情報である第2情報を示す第2マークから前記第2情報を取得する第2センサと、を有し、
前記第1レール及び前記第2レールのそれぞれは、
前記第1センサに対向し、前記第1マークが配置される第1面と、
前記第2センサに対向し、前記第2マークが配置される第2面であって、平面視において前記一対の第1レールと前記一対の第2レールとによって囲まれる空間であるセルの中心から見たときに、前記第1面の外側に配置されると共に前記第1面に対して前記天井走行車側に傾斜する前記第2面と、を有する、請求項2に記載の天井走行車システム。
【請求項4】
前記走行部は、前記走行車輪を軸支する支持部材を更に含み、
前記ステアリング駆動部は、
駆動源であるステアリングモータと、
前記ステアリングモータの出力軸に接続された第1ギヤと、
前記第1ギヤと噛み合い、前記支持部材に接続された第2ギヤと、を含む、請求項1に記載の天井走行車システム。
【請求項5】
前記ステアリングモータは、当該ステアリングモータの出力軸が前記旋回軸と平行となるように設けられている、請求項4に記載の天井走行車システム。
発明の詳細な説明
【技術分野】
【0001】
本発明は、天井走行車システムに関する。
続きを表示(約 2,100 文字)
【背景技術】
【0002】
格子状に配置された軌道と、軌道に沿って走行する走行部及び軌道よりも下方に配置されて走行部から懸垂される本体部を有する天井走行車と、を備えた天井走行車システムが知られている(例えば、特許文献1参照)。このような天井走行車システムにおいて、走行部は、走行車輪と、旋回軸を中心として走行車輪を旋回させる方向転換機構(ステアリング駆動部)とを有する。方向転換機構は、本体部の上面に設けられており、駆動源と、ピニオンギヤと、ラックとを含む。駆動源がピニオンギヤを回転駆動することにより、ピニオンギヤがラックに沿って旋回軸を中心とする円周方向に移動し、走行車輪が旋回軸を中心として旋回する。
【先行技術文献】
【特許文献】
【0003】
特許7070704号公報
【発明の概要】
【発明が解決しようとする課題】
【0004】
上述したような天井走行車システムでは、例えば本体部の上面と軌道との間にステアリング駆動部を配置する必要があり、天井走行車の高さ方向の寸法が比較的大きくなるおそれがある。そのため、上述したような天井走行車システムでは、天井走行車のコンパクト化が望まれる。
【0005】
本発明は、上記実情に鑑みてなされたものであり、天井走行車のコンパクト化が可能な天井走行車システムを提供することを目的とする。
【課題を解決するための手段】
【0006】
(1)本発明に係る天井走行車システムは、
少なくとも一部が格子状に配置された軌道と、軌道に沿って走行する走行部、走行部を旋回させるステアリング駆動部、及び、軌道よりも下方に配置されて走行部から懸垂される本体部を有する天井走行車と、を備え、走行部は、回転軸を基軸に軌道上を転動し、旋回軸を基軸に旋回自在な走行車輪を含み、ステアリング駆動部は、軌道の下方で且つ走行車輪の下方に設けられ、走行車輪を旋回させる。
【0007】
この天井走行車システムによれば、軌道の下方の空間を有効活用してステアリング駆動部を配置することができる。これにより、例えば本体部の上面と軌道との間にステアリング駆動部を配置する必要がなく、天井走行車の高さ方向の寸法を小さくすることができる。その結果、天井走行車のコンパクト化が可能となる。
【0008】
(2)上記(1)に記載の天井走行車システムでは、走行部は、走行車輪の回転軸上に設けられた走行駆動モータを含んでもよい。この場合、軌道の上方の空間を有効活用して走行駆動モータを配置することができる。これにより、例えば走行駆動モータから走行車輪までの高さ方向の寸法を小さくし、天井走行車のコンパクト化が可能となる。
【0009】
(3)上記(2)に記載の天井走行車システムでは、軌道は、第1方向に延在する複数の第1レールと、第1方向と直交する第2方向に延在する第2レールと、を有し、第1レール及び第2レールは、格子状に配置されており、天井走行車は、第2方向に隣り合う一対の第1レールを走行部が走行することにより第1方向に移動し、第1方向に隣り合う一対の第2レールを走行部が走行することにより第2方向に移動し、天井走行車は、第1情報を示す第1マークから第1情報を取得する第1センサと、第1情報と異なる情報である第2情報を示す第2マークから第2情報を取得する第2センサと、を有し、第1レール及び第2レールのそれぞれは、第1センサに対向し、第1マークが配置される第1面と、第2センサに対向し、第2マークが配置される第2面であって、平面視において一対の第1レールと一対の第2レールとによって囲まれる空間であるセルの中心から見たときに、第1面の外側に配置されると共に第1面に対して天井走行車側に傾斜する第2面と、を有してもよい。この場合、軌道を形成する第1レール及び第2レールのそれぞれに、第1面と第1面とは別の第2面とを設けたので、種類の異なる2種類のマークをそれぞれの面に1種類ずつマークを配置することで、互いに異なる2種類のマークを軌道に配置できる。また、この構成の天井走行車システムでは、平面視においてセルの中心から見たときに第1面の外側に配置される第2面が、第1面に対して天井走行車側に傾斜するように配置される。これにより、第2センサを第2面に対向させるために、第2センサを天井走行車から張り出すように設ける必要がなく、天井走行車の大型化を抑制できる。
【0010】
(4)上記(1)~(3)のいずれかに記載の天井走行車システムでは、走行部は、走行車輪を軸支する支持部材を更に含み、ステアリング駆動部は、駆動源であるステアリングモータと、ステアリングモータの出力軸に接続された第1ギヤと、第1ギヤと噛み合い、支持部材に接続された第2ギヤと、を含んでもよい。この場合、支持部材、第1ギヤ、第2ギヤ及びステアリングモータをユニット化することが可能となる。その結果、走行部のコンパクト化が可能となる。
(【0011】以降は省略されています)
この特許をJ-PlatPat(特許庁公式サイト)で参照する
関連特許
村田機械株式会社
自動倉庫
28日前
村田機械株式会社
自動ワインダ
7日前
村田機械株式会社
紙管分離装置
9日前
村田機械株式会社
走行車システム
1日前
村田機械株式会社
ボビン解舒装置
16日前
村田機械株式会社
搬送車システム
28日前
村田機械株式会社
スタッカクレーン
今日
村田機械株式会社
天井走行車システム
2日前
村田機械株式会社
有軌道台車システム
15日前
村田機械株式会社
玉揚装置及び自動ワインダ
今日
個人
車両及び走行システム
6か月前
日本信号株式会社
ホーム柵
2か月前
日本信号株式会社
検査装置
10か月前
日本信号株式会社
検査装置
7日前
日本信号株式会社
ホーム柵
2か月前
近畿車輌株式会社
耐火床構造
1か月前
日本車輌製造株式会社
鉄道車両
1か月前
日本信号株式会社
ホーム柵装置
7か月前
近畿車輌株式会社
鉄道車両の床構造
11か月前
川崎車両株式会社
鉄道車両用パネル
8か月前
近畿車輌株式会社
鉄道車両の床構造
11か月前
日本信号株式会社
列車接近警報装置
3か月前
近畿車輌株式会社
鉄道車両の床構造
11か月前
保線機器整備株式会社
保線用カート
9か月前
カヤバ株式会社
鉄道車両用制振装置
10か月前
日本車輌製造株式会社
台車組立装置
5か月前
ナブテスコ株式会社
ホームドア装置
3か月前
日本ケーブル株式会社
索道の支索引留め装置
3か月前
株式会社東芝
台車搬送装置
1か月前
日本信号株式会社
踏切道監視システム
11か月前
株式会社ダイフク
搬送車
5か月前
日本信号株式会社
ホームドア制御装置
3か月前
日本信号株式会社
ホーム安全システム
7か月前
日本信号株式会社
物体検知装置
7か月前
株式会社日立製作所
鉄道車両
1か月前
シャープ株式会社
表示装置
12か月前
続きを見る
他の特許を見る