TOP
|
特許
|
意匠
|
商標
特許ウォッチ
Twitter
他の特許を見る
10個以上の画像は省略されています。
公開番号
2025152348
公報種別
公開特許公報(A)
公開日
2025-10-09
出願番号
2024054198
出願日
2024-03-28
発明の名称
自動倉庫
出願人
村田機械株式会社
代理人
個人
,
個人
,
個人
,
個人
,
個人
,
個人
主分類
B65G
1/133 20060101AFI20251002BHJP(運搬;包装;貯蔵;薄板状または線条材料の取扱い)
要約
【課題】簡易な制御で棚内の全荷物の荷位置ずれを修正することができる自動倉庫を提供する。
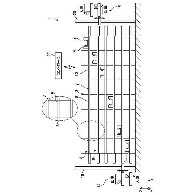
【解決手段】本発明の自動倉庫1は、奥行方向に複数個の荷物を格納可能なラック2と、ラックの棚6との間で荷物の受け渡しを行なう移載装置12を備えた入出庫台車4とを備え、コントローラ22(50)は、棚6の奥側L1に格納された荷物A1の格納経過時間を算出し(格納時間算出部104)、その算出した経過時間が所定のしきい値を超えたか否かを判定し(置き直しタイミング決定部108)、経過時間が所定のしきい値を超えたとき、奥側の荷物の置き直し動作を実行させる(置き直し動作実行部112)。置き直し動作実行部112は、奥側の荷物の手前側に荷物が存在する場合、別の棚(L4の棚6)に移動させ、奥側の荷物A1を入出庫台車4上に積み込んだ後に、その積み込んだ荷物を同じ棚6の同じ奥側の載置位置L1に戻す。
【選択図】図7
特許請求の範囲
【請求項1】
奥行方向に複数個の荷物を格納可能なラックであって、複数段を有し、各段毎に複数の棚を備えるラックと、上記ラックの棚に対して荷物を搬送すると共に上記棚との間で荷物の受け渡しを行なう移載装置を備えた入出庫台車と、上記移載装置を含む上記入出庫台車の動作を制御するコントローラと、を備えた自動倉庫であって、
上記コントローラは、
上記ラックの棚の奥側の載置位置に格納された荷物に対して、その格納されてからの経過時間を算出し、その算出した経過時間が所定のしきい値を超えたか否かを判定する格納時間判定手段と、
上記算出した経過時間が上記所定のしきい値を超えたとき、上記奥側の載置位置に格納された荷物の置き直し動作を上記移載装置に実行させる置き直し動作実行手段であって、
上記奥側の載置位置に格納された荷物の手前側の載置位置に荷物が存在する場合、その手前側の荷物を別の棚に移動させる別棚移動制御と、
上記奥側の載置位置に格納された荷物を上記入出庫台車上に積み込んだ後に、その積み込んだ荷物を同じ棚の同じ奥側の載置位置に戻す置き直し動作制御と、を実行する置き直し動作実行手段と、を備える、ことを特徴とする自動倉庫。
続きを表示(約 1,700 文字)
【請求項2】
上記コントローラは、
上記入出庫台車の稼働状況を把握する稼働状況検出手段と、
上記算出した経過時間が上記所定のしきい値を超えたときを上記荷物の置き直しの基準タイミングとしたとき、その基準タイミングを補正する置き直しタイミング補正手段と、備え、
上記稼働状況検出手段は、上記入出庫台車が稼働していない時間を算出し、
上記置き直しタイミング補正手段は、上記入出庫台車が稼働していない時間に基づいて、上記置き直し動作の基準タイミングを補正する、請求項1に記載の自動倉庫。
【請求項3】
上記コントローラは、
上記入出庫台車の稼働状況を把握する稼働状況検出手段と、
上記算出した経過時間が上記所定のしきい値を超えたときを上記荷物の置き直しの基準タイミングとしたとき、その基準タイミングを補正する置き直しタイミング補正手段と、備え、
上記稼働状況検出手段は、上記奥側の載置位置に格納された荷物の段と同じ段において上記入出庫台車が稼働している時間を算出し、
上記置き直しタイミング補正手段は、上記入出庫台車が稼働している時間に基づいて、上記置き直し動作の基準タイミングを補正する、請求項1または請求項2に記載の自動倉庫。
【請求項4】
上記ラックの棚は、上記入出庫台車の走行方向に所定の幅領域を有し、その幅領域に複数の荷物を格納可能な棚であり、
上記コントローラは、
上記入出庫台車の稼働状況を把握する稼働状況検出手段と、
上記算出した経過時間が上記所定のしきい値を超えたときを上記荷物の置き直しの基準タイミングとしたとき、その基準タイミングを補正する置き直しタイミング補正手段と、備え、
上記稼働状況検出手段は、上記奥側の載置位置に格納された荷物の棚の上記所定の幅領域内で上記入出庫台車が稼働している時間を算出し、
上記置き直しタイミング補正手段は、上記所定の幅領域内で上記入出庫台車が稼働している時間に基づいて、上記置き直し動作の基準タイミングを補正する、請求項1または請求項2に記載の自動倉庫。
【請求項5】
上記コントローラは、
上記入出庫台車の稼働状況を把握する稼働状況検出手段と、
上記算出した経過時間が上記所定のしきい値を超えたときを上記荷物の置き直しの基準タイミングとしたとき、その基準タイミングを補正する置き直しタイミング補正手段と、備え、
上記稼働状況検出手段は、上記奥側の載置位置に格納された荷物の手前側の載置位置に上記入出庫台車が荷物を移載した回数を算出し、
上記置き直しタイミング補正手段は、上記手前側の載置位置に上記入出庫台車が荷物を移載した回数に基づいて、上記置き直し動作の基準タイミングを補正する、請求項1または請求項2に記載の自動倉庫。
【請求項6】
上記ラックの棚は、上記入出庫台車の走行方向に所定の幅領域を有し、その幅領域に複数の荷物を格納可能な棚であり、
上記コントローラは、
上記入出庫台車の稼働状況を把握する稼働状況検出手段と、
上記算出した経過時間が上記所定のしきい値を超えたときを上記荷物の置き直しの基準タイミングとしたとき、その基準タイミングを補正する置き直しタイミング補正手段と、備え、
上記稼働状況検出手段は、上記奥側の載置位置に格納された荷物の棚と同じ棚に上記入出庫台車が荷物を移載した回数を算出し、
上記置き直しタイミング補正手段は、上記同じ棚に上記入出庫台車が荷物を移載した回数に基づいて、上記置き直し動作の基準タイミングを補正する、請求項1または請求項2に記載の自動倉庫。
【請求項7】
上記置き直し動作実行手段は、上記別棚移動制御において、上記移動先の別の棚として、奥側の載置位置に既に格納されている荷物が出庫予定となっている場合、その手前側の載置位置を除いた他の手前側の載置位置に荷物を移動させる、請求項1または請求項2に記載の自動倉庫。
発明の詳細な説明
【技術分野】
【0001】
本発明は、自動倉庫に係わり、特に、奥行方向に複数個の荷物を格納可能なラックであって、複数段を有し、各段毎に複数の棚を備えるラックと、ラックの棚に対して荷物を搬送すると共に棚との間で荷物の受け渡しを行なう移載装置を備えた入出庫台車と、移載装置を含む上記入出庫台車の動作を制御するコントローラと、を備えた自動倉庫に関する。
続きを表示(約 3,300 文字)
【背景技術】
【0002】
従来、ラックの棚の奥行き方向の奥側と手前側に荷物を格納可能であり、サイドアームおよびフックを備えたリヤフック式移載装置により、それぞれ、荷つみを行なうと共に荷おろしを行なうようにした自動倉庫が開示されている(たとえば特許文献1)。
【先行技術文献】
【特許文献】
【0003】
特開2023-107024号公報
【発明の概要】
【発明が解決しようとする課題】
【0004】
ここで、自動倉庫において、ラックの棚に荷物が格納されている場合、ラックへの他の荷物の移載動作や、入出庫台車(搬送車)の走行動作等により、荷物の格納棚に振動が伝達されること等に起因して、格納されている荷物が所定の格納位置からずれてしまう、という問題がある。特に、たとえば、ラックを構成する複数のラック柱の間にそれぞれ設けられる各棚板において、格納されている荷物以外の荷物を移載する際の移載動作や、入出庫台車がレールの継ぎ目等を通過する際の振動が伝達されること等に起因して、荷物のずれが生じ易くなる。このような荷物のずれが大きくなると、荷物の移載時、移載装置のサイドアームが、既に格納されている荷物に干渉する等の問題が生じる。
【0005】
そこで、本発明は、上述した問題を解決するためになされたものであり、簡易な制御で棚内の全荷物の荷位置ずれを修正することができる自動倉庫を提供することを目的とする。
【課題を解決するための手段】
【0006】
上記の目的を達成するために、本発明は、奥行方向に複数個の荷物を格納可能なラックであって、複数段を有し、各段毎に複数の棚を備えるラックと、ラックの棚に対して荷物を搬送すると共に棚との間で荷物の受け渡しを行なう移載装置を備えた入出庫台車と、移載装置を含む入出庫台車の動作を制御するコントローラと、を備えた自動倉庫であって、コントローラは、ラックの棚の奥側の載置位置に格納された荷物に対して、その格納されてからの経過時間を算出し、その算出した経過時間が所定のしきい値を超えたか否かを判定する格納時間判定手段と、算出した経過時間が所定のしきい値を超えたとき、奥側の載置位置に格納された荷物の置き直し動作を移載装置に実行させる置き直し動作実行手段であって、奥側の載置位置に格納された荷物の手前側の載置位置に荷物が存在する場合、その手前側の荷物を別の棚に移動させる別棚移動制御と、奥側の載置位置に格納された荷物を入出庫台車上に積み込んだ後に、その積み込んだ荷物を同じ棚の同じ奥側の載置位置に戻す置き直し動作制御と、を実行する置き直し動作実行手段と、を備える、ことを特徴としている。
【0007】
このように構成された本発明によれば、棚の奥側に格納された荷物の格納時間のみを検出して、所定のタイミングで荷物の置き直しを実行することで、棚に載置された全ての荷物の位置ずれを効果的に修正することができる。
ここで、奥行き方向に複数の荷物を載置可能なラック棚においては、通常、奥側に荷物が格納された後、手前側に荷物が格納され、それ故、奥側の荷物の格納時間は、手前側の荷物の格納時間より長くなる。したがって、奥側の荷物の格納時間を検出すれば、奥側も手前側も含む全ての荷物の位置ずれを適切なタイミングで効果的に修正することができるのである。その結果、簡易な制御で棚内の全荷物の荷位置ずれを修正することができる。
【0008】
また、本発明において、好ましくは、コントローラは、入出庫台車の稼働状況を把握する稼働状況検出手段と、算出した経過時間が所定のしきい値を超えたときを荷物の置き直しの基準タイミングとしたとき、その基準タイミングを補正する置き直しタイミング補正手段と、備え、稼働状況検出手段は、入出庫台車が稼働していない時間を算出し、置き直しタイミング補正手段は、入出庫台車が稼働していない時間に基づいて、置き直し動作の基準タイミングを補正する。
このように構成された本発明によれば、適切なタイミングで荷物の置き直しを実行して、位置ずれを修正することができる。
ここで、入出庫台車が稼働していない時間は、その稼働に起因して棚に伝わる振動等が発生せず、それに伴い、荷物の位置ずれが発生しないと考えられる時間である。したがって、入出庫台車が稼働していない時間に応じて、たとえば、算出した経過時間を減算し、あるいは、所定のしきい値の数値を増大させることにより、置き直しの基準タイミングを遅くするよう補正することができる。その結果、より適切なタイミングで位置ずれの修正を行うことができる。
【0009】
また、本発明において、好ましくは、コントローラは、入出庫台車の稼働状況を把握する稼働状況検出手段と、算出した経過時間が所定のしきい値を超えたときを荷物の置き直しの基準タイミングとしたとき、その基準タイミングを補正する置き直しタイミング補正手段と、備え、稼働状況検出手段は、奥側の載置位置に格納された荷物の段と同じ段において入出庫台車が稼働している時間を算出し、置き直しタイミング補正手段は、入出庫台車が稼働している時間に基づいて、置き直し動作の基準タイミングを補正する。
このように構成された本発明によれば、適切なタイミングで荷物の置き直しを実行して、位置ずれを修正することができる。
ここで、入出庫台車が稼働している時間は、その稼働に起因して棚に伝わる振動等が発生し、特に、その入出庫台車と同じ段の荷物の位置ずれが発生し易いと考えられる時間である。したがって、入出庫台車が稼働している時間に応じて、たとえば、経過時間を加算し、あるいは、所定のしきい値の数値を減少させることにより、置き直しの基準タイミングを早くするよう補正することができる。その結果、本発明によれば、経過時間に応じたずれ量以上に位置ずれしていると思われる荷物に対して、より適切なタイミングで位置ずれの修正を行うことができる。
【0010】
また、本発明において、好ましくは、ラックの棚は、入出庫台車の走行方向に所定の幅領域を有し、その幅領域に複数の荷物を格納可能な棚であり、コントローラは、入出庫台車の稼働状況を把握する稼働状況検出手段と、算出した経過時間が所定のしきい値を超えたときを荷物の置き直しの基準タイミングとしたとき、その基準タイミングを補正する置き直しタイミング補正手段と、備え、稼働状況検出手段は、奥側の載置位置に格納された荷物の棚の所定の幅領域内で入出庫台車が稼働している時間を算出し、置き直しタイミング補正手段は、所定の幅領域内で入出庫台車が稼働している時間に基づいて、置き直し動作の基準タイミングを補正する。
このように構成された本発明によれば、適切なタイミングで荷物の置き直しを実行して、位置ずれを修正することができる。
ここで、ラックの棚は、一般に、ラック支柱間に入出庫台車の走行方向に沿って梁をわたすと共に、その梁に支持されるように荷物の載置場所を形成する(たとえば入出庫台車の走行方向と直交する奥行き方向に複数の桟を並べる)ことにより形成され、そのような棚の幅領域内では、入出庫台車の稼働による振動等が伝達されやすく、荷物の位置ずれが発生し易いと考えられる。したがって、棚の幅領域内で入出庫台車が稼働している時間に応じて、たとえば、経過時間を加算し、あるいは、所定のしきい値の数値を減少させることにより、置き直しの基準タイミングを早くするよう補正することができる。その結果、本発明によれば、経過時間に応じたずれ量以上に位置ずれしていると思われる荷物に対して、より適切なタイミングで位置ずれの修正を行うことができる。
(【0011】以降は省略されています)
この特許をJ-PlatPat(特許庁公式サイト)で参照する
関連特許
村田機械株式会社
紡績機
7日前
村田機械株式会社
自動倉庫
5日前
村田機械株式会社
自動倉庫
11日前
村田機械株式会社
天井搬送車
25日前
村田機械株式会社
搬送システム
25日前
村田機械株式会社
搬送車システム
5日前
村田機械株式会社
走行車システム
5日前
村田機械株式会社
ピッキングシステム
1か月前
村田機械株式会社
繊維束の合流方法及び繊維束合流装置
13日前
住友理工株式会社
制振ストッパー及び自動倉庫のラック
1か月前
個人
収容箱
3か月前
個人
ゴミ箱
12か月前
個人
コンベア
4か月前
個人
ゴミ収集器
6か月前
個人
容器
9か月前
個人
段ボール箱
6か月前
個人
段ボール箱
6か月前
個人
角筒状構造体
5か月前
個人
楽ちんハンド
4か月前
個人
バンド
1か月前
個人
宅配システム
6か月前
個人
土嚢運搬器具
8か月前
個人
パウチ補助具
11か月前
個人
閉塞装置
9か月前
個人
廃棄物収容容器
2か月前
個人
お薬の締結装置
5か月前
個人
コード類収納具
7か月前
個人
包装容器
25日前
株式会社バンダイ
物品
6日前
個人
把手付米袋
4か月前
株式会社和気
包装用箱
8か月前
個人
積み重ね用補助具
2か月前
個人
貯蔵サイロ
6か月前
株式会社コロナ
梱包材
5か月前
個人
蓋閉止構造
3か月前
個人
蓋閉止構造
3か月前
続きを見る
他の特許を見る