TOP
|
特許
|
意匠
|
商標
特許ウォッチ
Twitter
他の特許を見る
10個以上の画像は省略されています。
公開番号
2025167289
公報種別
公開特許公報(A)
公開日
2025-11-07
出願番号
2024071765
出願日
2024-04-25
発明の名称
インダクタ部品
出願人
株式会社村田製作所
代理人
個人
,
個人
,
個人
主分類
H01F
17/00 20060101AFI20251030BHJP(基本的電気素子)
要約
【課題】隣接する第1、第2インダクタ配線間のショート耐性を高める。
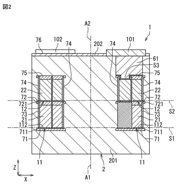
【解決手段】インダクタ部品1は、第1導体層、第2導体層12、第1導体層上に設けられ、第1方向において第1、第2導体層の間に位置すると共に、第1方向に沿った第1旋回軸周りに延在する第1インダクタ配線及び第2導体層上に設けられ、第1方向において第1インダクタ配線との間に第2導体層が位置すると共に、第1方向に沿った第2旋回軸A2周りに延在する第2インダクタ配線22を備える。第1導体層は、第1旋回軸周りに延在する第1本体部及び第1本体部から第2方向Xに沿って第1旋回軸から離れる方向に延びる第1突出部112を含む。第2導体層は、第2旋回軸周りに延在する第2本体部121及び第2本体部から第3方向Yに沿って第2旋回軸から離れる方向に延びると共に、第1方向に沿って見たときに第1突出部と重ならない位置にある第2突出部122を含む。
【選択図】図4
特許請求の範囲
【請求項1】
第1仮想平面に位置する第1導体層と、
前記第1仮想平面に対して平行に隣接する第2仮想平面に位置する第2導体層と、
前記第1導体層上に設けられ、前記第1仮想平面および前記第2仮想平面に対して交差する第1方向において前記第1導体層および前記第2導体層の間に位置すると共に、前記第1方向に沿った第1旋回軸まわりに延在する第1インダクタ配線と、
前記第2導体層上に設けられ、前記第1方向において前記第1インダクタ配線との間に前記第2導体層が位置すると共に、前記第1方向に沿った第2旋回軸まわりに延在する第2インダクタ配線と
を備え、
前記第1導体層は、
前記第1旋回軸まわりに延在する第1本体部と、
前記第1本体部から前記第1方向に交差する第2方向に沿って前記第1旋回軸から離れる方向に延びる第1突出部と
を含み、
前記第2導体層は、
前記第2旋回軸まわりに延在する第2本体部と、
前記第2本体部から前記第1方向に交差する第3方向に沿って前記第2旋回軸から離れる方向に延びると共に、前記第1方向に沿って見たときに前記第1突出部と重ならない位置にある第2突出部と
を含む、インダクタ部品。
続きを表示(約 1,700 文字)
【請求項2】
前記第1方向に沿って見たとき、
前記第1旋回軸と前記第2方向に交差する方向における前記第1突出部の中心とを結ぶ仮想直線を第1仮想直線とし、前記第2旋回軸と前記第3方向に交差する方向における前記第2突出部の中心とを結ぶ仮想直線を第2仮想直線とすると、
前記第1仮想直線と前記第2仮想直線とが、80度から110度の角度を成している、請求項1に記載のインダクタ部品。
【請求項3】
前記第1導体層、前記第2導体層、前記第1インダクタ配線および前記第2インダクタ配線が内部に位置する素体と、
前記第1導体層上に設けられ、前記第1方向において前記第1導体層に対して前記第1インダクタ配線の反対側に位置する第1絶縁層と、
前記第2導体層上に設けられ、前記第1方向において前記第2導体層に対して前記第2インダクタ配線の反対側に位置する第2絶縁層と
を備え、
前記第1突出部は、前記第1方向に沿って見たときに、前記第1絶縁層の前記第2方向の端部よりも前記第1旋回軸の近くに位置し、
前記第2突出部は、前記第1方向に沿って見たときに、前記第2絶縁層の前記第3方向の端部よりも前記第2旋回軸の近くに位置する、請求項1または2に記載のインダクタ部品。
【請求項4】
前記素体が、前記第2方向に交差する側面を有し、
前記第2導体層が、前記側面に対向する部分に設けられた複数の突出部を有する、請求項3に記載のインダクタ部品。
【請求項5】
前記第1導体層は、1.0μm未満の前記第1方向の寸法である厚みを有し、
前記第1導体層の前記厚みは、前記第1インダクタ配線の前記厚みの1/100よりも小さい、請求項1または2に記載のインダクタ部品。
【請求項6】
前記第1導体層および前記第2導体層の各々が、前記第1方向に沿って積層された複数の層を含む、請求項1または2に記載のインダクタ部品。
【請求項7】
前記第1突出部から前記第1方向に沿って前記第2仮想平面に向かって延びると共に、前記第1方向の寸法である厚みが前記第1インダクタ配線の前記厚みよりも大きい第3絶縁層を備える、請求項1または2に記載のインダクタ部品。
【請求項8】
磁性材料を含み、前記第1インダクタ配線および前記第2インダクタ配線が内部に位置する素体と、
前記素体の前記第1方向に交差する外面に設けられた外部端子と、
前記素体の内部に位置する垂直配線および第4絶縁層と
を備え、
前記第1インダクタ配線および前記第2インダクタ配線を含む全てのインダクタ配線のうち、前記第2インダクタ配線が、前記第1方向において最も前記外部端子の近くに位置しており、
前記垂直配線が、前記第1方向に延びて、前記第2方向において前記素体の磁性材料と接触した状態で、前記第2インダクタ配線と前記外部端子とを接続し、
前記第4絶縁層が、前記第2インダクタ配線と前記素体の磁性材料との間に位置する、請求項1または2に記載のインダクタ部品。
【請求項9】
磁性材料を含み、前記第1導体層、前記第2導体層、前記第1インダクタ配線および前記第2インダクタ配線が内部に位置する素体を備え、
前記第1突出部の前記第2方向の両端のうち、前記第1本体部から遠い方の先端部が、前記磁性材料と接している、請求項1または2に記載のインダクタ部品。
【請求項10】
前記第1導体層、前記第2導体層、前記第1インダクタ配線および前記第2インダクタ配線が内部に位置する素体を備え、
前記素体が、前記第2方向に交差する側面を有し、
前記第1突出部の前記第2方向の両端のうち、前記第1本体部から遠い方の先端部が、前記側面から露出し、少なくとも1つの絶縁層に接している、請求項1または2に記載のインダクタ部品。
(【請求項11】以降は省略されています)
発明の詳細な説明
【技術分野】
【0001】
本開示は、インダクタ部品に関する。
続きを表示(約 2,400 文字)
【背景技術】
【0002】
特許文献1は、スパイラル配線を備えるインダクタ部品を開示する。特許文献1のインダクタ部品では、スパイラル配線は、第1方向に沿って積層された第1磁性層および第2磁性層の間に配置されている。
【先行技術文献】
【特許文献】
【0003】
特許6922871号公報
【発明の概要】
【発明が解決しようとする課題】
【0004】
複数の特許文献1のインダクタ部品を第1方向に積層させる場合、特許文献1のインダクタ部品には、第1方向に隣接するインダクタ部品のスパイラル配線間のショート耐性を高める点において、改善の余地がある。
【0005】
本開示は、第1仮想平面に位置する第1インダクタ配線と、第1仮想平面に平行に隣接する第2仮想平面に位置する第2インダクタ配線との間のショート耐性を高めることが可能なインダクタ部品を提供することを目的とする。
【課題を解決するための手段】
【0006】
本開示の一態様のインダクタ部品は、
第1仮想平面に位置する第1導体層と、
前記第1仮想平面に対して平行に隣接する第2仮想平面に位置する第2導体層と、
前記第1導体層上に設けられ、前記第1仮想平面および前記第2仮想平面に対して交差する第1方向において前記第1導体層および前記第2導体層の間に位置すると共に、前記第1方向に沿った第1旋回軸まわりに延在する第1インダクタ配線と、
前記第2導体層上に設けられ、前記第1方向において前記第1インダクタ配線との間に前記第2導体層が位置すると共に、前記第1方向に沿った第2旋回軸まわりに延在する第2インダクタ配線と
を備え、
前記第1導体層は、
前記第1旋回軸まわりに延在する第1本体部と、
前記第1本体部から前記第1方向に交差する第2方向に沿って前記第1旋回軸から離れる方向に延びる第1突出部と
を含み、
前記第2導体層は、
前記第2旋回軸まわりに延在する第2本体部と、
前記第2本体部から前記第1方向に交差する第3方向に沿って前記第2旋回軸から離れる方向に延びると共に、前記第1方向に沿って見たときに前記第1突出部と重ならない位置にある第2突出部と
を含む。
【発明の効果】
【0007】
前記態様のインダクタ部品によれば、第1仮想平面に位置する第1インダクタ配線と、第1仮想平面に平行に隣接する第2仮想平面に位置する第2インダクタ配線との間のショート耐性を高めることができる。
【図面の簡単な説明】
【0008】
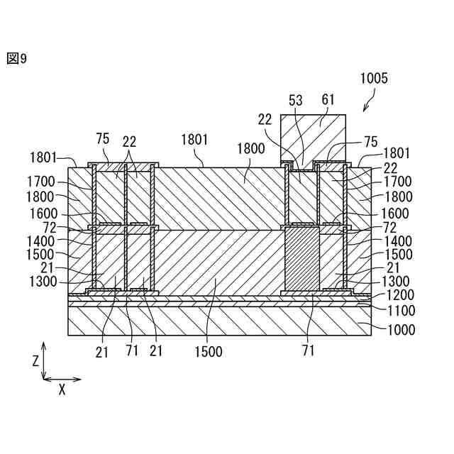
本開示の一態様のインダクタ部品を示す平面図。
図1のII-II線に沿った断面図。
図1のインダクタ部品の第1インダクタ配線および第3インダクタ配線の層を説明するための平面模式図。
図1のインダクタ部品の第2インダクタ配線および第4インダクタ配線の層を説明するための平面模式図。
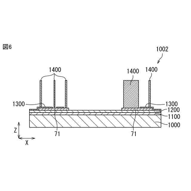
図1のインダクタ部品の製造方法の一例を説明するための第1の図。
図1のインダクタ部品の製造方法の一例を説明するための第2の図。
図1のインダクタ部品の製造方法の一例を説明するための第3の図。
図1のインダクタ部品の製造方法の一例を説明するための第4の図。
図1のインダクタ部品の製造方法の一例を説明するための第5の図。
図1のインダクタ部品の製造方法の一例を説明するための第6の図。
図1のインダクタ部品の製造方法の一例を説明するための第7の図。
図1のインダクタ部品の製造方法の一例を説明するための第8の図。
図1のインダクタ部品の製造方法の一例を説明するための第9の図。
図1のインダクタ部品の製造方法の一例を説明するための第10の図。
図1のインダクタ部品の第1の変形例を示す第1の平面模式図。
図1のインダクタ部品の第1の変形例を示す第2の平面模式図。
図1のインダクタ部品の第2の変形例を示す拡大側面図。
図1のインダクタ部品の第3の変形例を示す斜視図。
【発明を実施するための形態】
【0009】
本開示の種々の態様について説明する。
【0010】
第1態様のインダクタ部品は、
第1仮想平面に位置する第1導体層と、
前記第1仮想平面に対して平行に隣接する第2仮想平面に位置する第2導体層と、
前記第1導体層上に設けられ、前記第1仮想平面および前記第2仮想平面に対して交差する第1方向において前記第1導体層および前記第2導体層の間に位置すると共に、前記第1方向に沿った第1旋回軸まわりに延在する第1インダクタ配線と、
前記第2導体層上に設けられ、前記第1方向において前記第1インダクタ配線との間に前記第2導体層が位置すると共に、前記第1方向に沿った第2旋回軸まわりに延在する第2インダクタ配線と
を備え、
前記第1導体層は、
前記第1旋回軸まわりに延在する第1本体部と、
前記第1本体部から前記第1方向に交差する第2方向に沿って前記第1旋回軸から離れる方向に延びる第1突出部と
を含み、
前記第2導体層は、
前記第2旋回軸まわりに延在する第2本体部と、
前記第2本体部から前記第1方向に交差する第3方向に沿って前記第2旋回軸から離れる方向に延びると共に、前記第1方向に沿って見たときに前記第1突出部と重ならない位置にある第2突出部と
を含む。
(【0011】以降は省略されています)
この特許をJ-PlatPat(特許庁公式サイト)で参照する
関連特許
株式会社村田製作所
二次電池
23日前
株式会社村田製作所
移相回路
29日前
株式会社村田製作所
測定装置
1か月前
株式会社村田製作所
コイル部品
29日前
株式会社村田製作所
コイル部品
29日前
株式会社村田製作所
電子聴診器
29日前
株式会社村田製作所
ネブライザ
29日前
株式会社村田製作所
コイル部品
17日前
株式会社村田製作所
高周波回路
1か月前
株式会社村田製作所
電池パック
1日前
株式会社村田製作所
電池パック
1か月前
株式会社村田製作所
フィルタ装置
3日前
株式会社村田製作所
電力システム
18日前
株式会社村田製作所
外観検査装置
9日前
株式会社村田製作所
フィルタ装置
1か月前
株式会社村田製作所
電力増幅回路
9日前
株式会社村田製作所
インダクタ部品
11日前
株式会社村田製作所
電池モジュール
29日前
株式会社村田製作所
インダクタ部品
1日前
株式会社村田製作所
インダクタ部品
1日前
株式会社村田製作所
インダクタ部品
1日前
株式会社村田製作所
インダクタ部品
1日前
株式会社村田製作所
圧力センサ装置
1か月前
株式会社村田製作所
インダクタ部品
1日前
株式会社村田製作所
電子部品包装装置
1か月前
株式会社村田製作所
積層体の切断装置
3日前
株式会社村田製作所
伸縮性コイル部品
16日前
株式会社村田製作所
正極及び二次電池
1日前
株式会社村田製作所
高周波モジュール
9日前
株式会社村田製作所
積層体の切断装置
3日前
株式会社村田製作所
コンデンサモジュール
29日前
株式会社村田製作所
造粒粉及びインダクタ
1か月前
株式会社村田製作所
ファブリペロー干渉計
1か月前
株式会社村田製作所
積層セラミック電子部品
1か月前
株式会社村田製作所
積層セラミック電子部品
1か月前
株式会社村田製作所
濾過装置および濾過方法
1か月前
続きを見る
他の特許を見る