TOP
|
特許
|
意匠
|
商標
特許ウォッチ
Twitter
他の特許を見る
公開番号
2025161092
公報種別
公開特許公報(A)
公開日
2025-10-24
出願番号
2024064003
出願日
2024-04-11
発明の名称
容器
出願人
三甲株式会社
代理人
個人
主分類
B65D
25/10 20060101AFI20251017BHJP(運搬;包装;貯蔵;薄板状または線条材料の取扱い)
要約
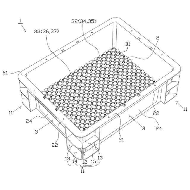
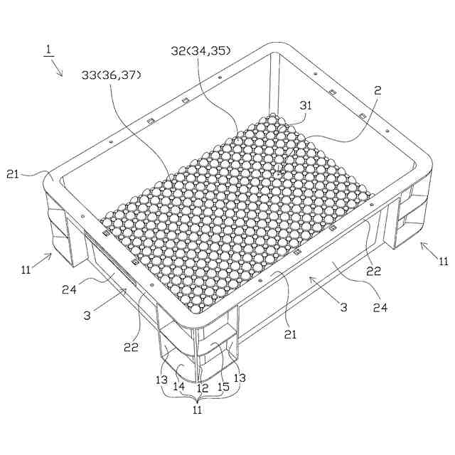
【課題】運搬に際して、収容された物品の移動を規制するとともに、容器及び物品の破損等を極力防止することができる容器を提供する。
【解決手段】容器1は、底壁部2と、側壁部3とを備え、上方に開口する箱状をなしている。底壁部2は、平板状且つ無孔状の一般部31と、一般部31の上面全域に設けられる大突起32及び小突起33とを備える。大突起32は、小突起33よりも、一般部31から頂点までの高さと、平面視での最大径とが大きい。各突起32、33は、平面視略丸形状且つ断面湾曲形状をなしており、大突起32と、小突起33とが交互に配設されている。各突起32、33は、丸みを帯びているため、運搬時において、容器1に収容された物品と、各突起とが破損するといった事態を極力防止することができる。また、物品は、大突起32のみならず、小突起33によっても支持されうるため、動きが効果的に規制される。
【選択図】 図1
特許請求の範囲
【請求項1】
板状の底壁部と、前記底壁部の側辺部から上方に延出する側壁部とを具備し、上方に開口する箱状の容器において、
前記底壁部は、平板状、且つ、無孔状の一般部と、
前記一般部の上面全域に亘って設けられる複数の大突起、及び、小突起とを備え、
前記大突起は、前記小突起よりも、前記一般部から頂点までの高さと、平面視での最大径とが大きく、
前記大突起、及び、前記小突起は、平面視略丸形状、且つ、断面湾曲形状をなしているとともに、
平面視所定方向において、前記大突起と、前記小突起とが交互に配設されていることを特徴とする容器。
続きを表示(約 370 文字)
【請求項2】
矩形状をなす前記底壁部の一方の側辺と平行な平面視左右方向、及び、前記一方の側辺に直交する他方の側辺と平行な平面視上下方向において、前記大突起と、前記小突起とが交互に配設されているとともに、
平面視斜め方向において、前記大突起同士と、前記小突起同士とが、それぞれ並んで配設されていることを特徴とする請求項1に記載の容器。
【請求項3】
前記平面視所定方向において、前記大突起と、前記小突起とが、互いに接触していることを特徴とする請求項1に記載の容器。
【請求項4】
前記大突起同士は、それぞれ離隔していることを特徴とする請求項1に記載の容器。
【請求項5】
前記大突起、及び、前記小突起は、いずれも球面状をなしていることを特徴とする請求項1乃至4のいずれかに記載の容器。
発明の詳細な説明
【技術分野】
【0001】
本発明は、物品の運搬等に使用される容器に関するものである。
続きを表示(約 1,500 文字)
【背景技術】
【0002】
従来、物品の運搬等に使用される容器は、略矩形状の底板部と、該底板部の側辺部から上方に延出する側壁部とを備えており、上方の開口部から物品を出し入れする構成となっている。また、容器の運搬に際して、該容器に収容された物品が、振動や衝撃等によって移動してしまうといった事態を防止するべく、前記底板部に対して、複数の突出部を具備する格子リブを設けるといった技術がある(例えば、特許文献1等参照。)。さらには、物品の前記移動を防止するべく、前記底板部に対して、凸部及び穿孔を設けるといった技術もある(例えば、特許文献2等参照。)。
【先行技術文献】
【特許文献】
【0003】
実開昭52-76415号公報
実開昭56-175319号公報
【発明の概要】
【発明が解決しようとする課題】
【0004】
しかしながら、特許文献1に記載の容器は、運搬に際して、収容された物品と、格子リブのエッジ、及び、突出部とが接触するおそれがあり、該接触によって、例えば、物品が削れてしまったり、格子リブのエッジや突出部が破損してしまうことが懸念される。
【0005】
また、特許文献2に記載の容器についても、特許文献1の容器と同様に、運搬に際して、物品と、凸部とが接触することによって、物品が削れてしまったり、凸部が破損してしまうことが懸念される。
【0006】
さらに、特許文献1、2に記載の容器は、前記削れや前記破損に加え、複数の物品を収容した場合に、該物品同士が接触することによって、破片が生じてしまうといったおそれもある。特に、特許文献2に記載の容器では、例えば、当該容器が複数段積みされた場合において、穿孔から物品やエッジ等の破片が落下してしまい、下方の容器に入り込んでしまうといったことが懸念される。
【0007】
本発明は、上記例示した問題点等を解決するためになされたものであって、その目的は運搬に際して、収容された物品の移動を規制するとともに、容器及び物品の破損等を極力防止することができる容器を提供することにある。
【課題を解決するための手段】
【0008】
以下、上記目的等を解決するのに適した各手段につき項分けして説明する。なお、必要に応じて対応する手段に特有の作用効果等を付記する。
【0009】
手段1.板状の底壁部と、前記底壁部の側辺部から上方に延出する側壁部とを具備し、上方に開口する箱状の容器において、
前記底壁部は、平板状、且つ、無孔状の一般部と、
前記一般部の上面全域に亘って設けられる複数の大突起、及び、小突起とを備え、
前記大突起は、前記小突起よりも、前記一般部から頂点までの高さと、平面視での最大径とが大きく、
前記大突起、及び、前記小突起は、平面視略丸形状、且つ、断面湾曲形状をなしているとともに、
平面視所定方向において、前記大突起と、前記小突起とが交互に配設されていることを特徴とする容器。
【0010】
手段1によれば、大突起、及び、小突起が、平面視略丸形状、且つ、断面湾曲形状をなしている。すなわち、全ての突起は、エッジ(角部)が無く、丸みを帯びている。そのため、運搬時において、容器に収容された物品と、各突起とが接触することによって、物品が削れてしまったり、各突起が破損してしまうといった事態を極力防止することができる。
(【0011】以降は省略されています)
この特許をJ-PlatPat(特許庁公式サイト)で参照する
関連特許
三甲株式会社
容器
1日前
三甲株式会社
容器
29日前
三甲株式会社
容器
1か月前
三甲株式会社
容器
1か月前
三甲株式会社
容器
1か月前
三甲株式会社
容器
4日前
三甲株式会社
容器
3か月前
三甲株式会社
パレット
2か月前
三甲株式会社
パレット
2か月前
三甲株式会社
蓋付き容器
27日前
三甲株式会社
物品支持部材
18日前
三甲株式会社
仕切り付き容器
2か月前
三甲株式会社
仕切り付き容器
2か月前
三甲株式会社
容器
4日前
三甲株式会社
パレット
4日前
三甲株式会社
パレット
2か月前
三甲株式会社
買い物カゴ
1か月前
三甲株式会社
蓋付きゴミ箱
2か月前
三甲株式会社
蓋付き容器、連動部材及び容器の積み重ね構造
2か月前
個人
収容箱
3か月前
個人
コンベア
5か月前
個人
バンド
2か月前
個人
楽ちんハンド
5か月前
個人
廃棄物収容容器
2か月前
個人
包装容器
1か月前
個人
積み重ね用補助具
2か月前
個人
蓋閉止構造
3か月前
個人
蓋閉止構造
3か月前
個人
把手付米袋
4か月前
株式会社バンダイ
物品
20日前
三甲株式会社
容器
4日前
三甲株式会社
容器
1か月前
株式会社新弘
容器
2か月前
個人
介護用コップ
2か月前
個人
コード折り畳み器具
4か月前
株式会社KY7
封止装置
3か月前
続きを見る
他の特許を見る