TOP
|
特許
|
意匠
|
商標
特許ウォッチ
Twitter
他の特許を見る
公開番号
2025030737
公報種別
公開特許公報(A)
公開日
2025-03-07
出願番号
2023136287
出願日
2023-08-24
発明の名称
ヘアカット用レザー
出願人
株式会社DIC
代理人
個人
,
個人
主分類
B26B
21/12 20060101AFI20250228BHJP(切断手工具;切断;切断機)
要約
【課題】ナチュラルで見栄えの良い仕上がりにできるヘアカット用レザーを提供する。
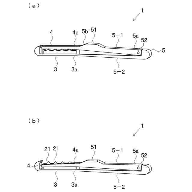
【解決手段】本開示のヘアカット用レザー1は、複数の櫛刃21を有する刃体2と、刃体2を保持するホルダ3とを備える。各々の櫛刃21は、相互に離間して形成され、櫛刃21は、紡錘体の縦断面形状をなしている。櫛刃21の縁部に刃先22を形成する。また、ヘアカット用レザー1は、刃体2を収容するカバー4と、カバー4をホルダ3に向けて開閉する開閉機構とを備える。カバー4は、櫛刃21と対向するスリット41を有し、カバー4をホルダ3に向けて閉じると、櫛刃21がスリット41から露出する。
【選択図】図2
特許請求の範囲
【請求項1】
複数の櫛刃を有する刃体と、前記刃体を保持するホルダと、を備え、
各々の前記櫛刃は、相互に離間して形成され、
前記櫛刃は、紡錘体の縦断面形状をなし、
前記櫛刃の縁部に刃先を形成したことを特徴とするヘアカット用レザー。
続きを表示(約 280 文字)
【請求項2】
前記刃体を収容するカバーと、前記カバーを前記ホルダに向けて開閉する開閉機構と、を備え、
前記カバーが、前記櫛刃と対向するスリットを含み、
前記カバーを前記ホルダに向けて閉じると、前記櫛刃が前記スリットから露出する請求項1に記載のヘアカット用レザー。
【請求項3】
前記開閉機構を設けたハンドルを備え、
前記ハンドルは、前記刃体と非平行に設けられた、請求項1又は2に記載のヘアカット用レザー。
【請求項4】
前記櫛刃の頂上部に前記刃先を形成しない、請求項1又は2に記載のヘアカット用レザー。
発明の詳細な説明
【技術分野】
【0001】
本開示は、頭髪をカットするヘアカット用レザーに関する。
続きを表示(約 1,000 文字)
【背景技術】
【0002】
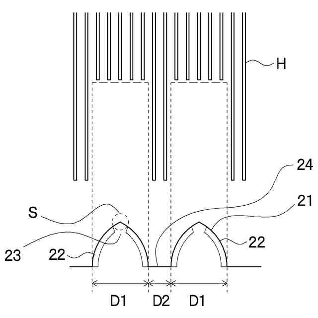
従来、頭髪をカットするヘアカット用レザーが知られている。例えば、図7(a)に示すように、刃先22を頭髪Hに対して垂直に移動させ、頭髪Hをカットするヘアカット用レザー1が一般に使用されている。
【先行技術文献】
【特許文献】
【0003】
特開2006-346181号公報
【発明の概要】
【発明が解決しようとする課題】
【0004】
ところが、従来のヘアカット用レザー1によると、刃先22が直線状に形成されているため、頭髪Hが真っ直ぐにカットされ、また、切り口Cが水平面を形成する。このため、全体的に硬い印象のヘアスタイルになってしまうという問題があった。
【0005】
そこで、本開示の目的は、素人が使用した場合でも、ナチュラルで見栄えの良い仕上がりにできるヘアカット用レザーを提供することにある。
【課題を解決するための手段】
【0006】
上記課題を解決するために、本開示のヘアカット用レザーは、以下の特徴を備える。
(1)複数の櫛刃を有する刃体と、刃体を保持するホルダと、を備え、各々の櫛刃は、相互に離間して形成され、櫛刃は、紡錘体の縦断面形状をなし、櫛刃の縁部に刃先を形成したこと。
【0007】
(2)(1)において、刃体を収容するカバーと、カバーをホルダに向けて開閉する開閉機構と、を備え、カバーが、櫛刃と対向するスリットを含み、カバーをホルダに向けて閉じると、櫛刃がスリットから露出すること。
【0008】
(3)(1)又は(2)において、開閉機構を設けたハンドルを備え、ハンドルは、刃体と非平行に設けられたこと。
【0009】
(4)(1)~(3)の何れか一つにおいて、櫛刃の頂上部に刃先を形成しないこと。
【発明の効果】
【0010】
本開示のヘアカット用レザーによれば、櫛刃を相互に離間して形成したため、頭髪を間引くようにカットすることができる。また、櫛刃が紡錘体の縦断面形状をなし、該櫛刃の縁部に刃先を形成したため、刃先の頭髪への当たりが徐々に変化して、切り口が傾斜面となる。このため、ナチュラルで見栄えの良い仕上がりにできるという効果を奏する。
【図面の簡単な説明】
(【0011】以降は省略されています)
この特許をJ-PlatPat(特許庁公式サイト)で参照する
関連特許
個人
ハサミ
3か月前
個人
曲線カッター
1日前
個人
円弧状刃の包丁
6か月前
個人
理美容はさみ
3か月前
株式会社サボテン
鋏
5か月前
個人
2wayコーナーパンチ
7か月前
株式会社和田機械
栗切り機の刃物
1か月前
やおき工業株式会社
鋏
3か月前
個人
自動曲機とそれに使用する刃物
9日前
株式会社フタミ
表面処理装置
5か月前
デュプロ精工株式会社
加工装置
2か月前
トヨタ自動車株式会社
切断装置
8か月前
独立行政法人 国立印刷局
打ち抜き装置
1か月前
株式会社日本キャリア工業
食料切断装置
3か月前
船井電機株式会社
電動器具
2か月前
株式会社日本キャリア工業
食料切断装置
3か月前
株式会社日本キャリア工業
食料切断装置
4か月前
株式会社日本キャリア工業
食料切断装置
3か月前
株式会社日本キャリア工業
食料切断装置
3か月前
株式会社日本キャリア工業
食料切断装置
8か月前
株式会社日本キャリア工業
食料切断装置
3か月前
デュプロ精工株式会社
用紙積載装置
7か月前
鈴茂器工株式会社
棒状食材切断装置
7か月前
本田技研工業株式会社
切断装置
5日前
近畿刃物工業株式会社
切断加工用刃物
4か月前
近畿刃物工業株式会社
切断加工用刃物
4か月前
THESTANDBYME合同会社
鋏
3か月前
近畿刃物工業株式会社
切断加工用刃物
3か月前
株式会社ホリゾン
断裁装置
6か月前
有限会社 武藤設計
板状ワークの切断装置
1日前
株式会社シーダース
プラスチック製ナイフ
8か月前
株式会社DIC
ヘアカット用レザー
7か月前
株式会社カネシゲ刃物
抜け止め防止付き刃物の鞘
6か月前
株式会社 ベアック
切断装置
9日前
小峯セロファン株式会社
シート材加工装置
8か月前
日本協同企画株式会社
葉柄切断装置
7か月前
続きを見る
他の特許を見る