TOP
|
特許
|
意匠
|
商標
特許ウォッチ
Twitter
他の特許を見る
10個以上の画像は省略されています。
公開番号
2025036223
公報種別
公開特許公報(A)
公開日
2025-03-14
出願番号
2024140780
出願日
2024-08-22
発明の名称
搬送装置
出願人
日特建設株式会社
代理人
個人
主分類
B65G
47/18 20060101AFI20250306BHJP(運搬;包装;貯蔵;薄板状または線条材料の取扱い)
要約
【課題】第1の被搬送物及び第2の被搬送物を、第1の被搬送物と第2の被搬送物との比率を均一にした状態で搬送できるようにする。
【解決手段】粉体状の第1の被搬送物(S)を搬送するベルトコンベア(12)と、ベルトコンベア(12)上の第1の被搬送物(S)の上面を均すゲート(25)と、搬送経路においてゲート(25)の下流に設けられ、ベルトコンベア(12)上の第1の被搬送物(S)上に粉体状の第2の被搬送物を供給する粉体供給部とを備え、ゲート(25)に対し下方に突出する凸部(38)が設けられ、凸部(38)によって第1の被搬送物(S)の幅方向の中央部に凹部(S1)が形成され、前記粉体供給部は、凹部(S1)に前記第2の被搬送物を供給する。
【選択図】図6
特許請求の範囲
【請求項1】
粉体状の第1の被搬送物を搬送するベルトコンベアと、前記ベルトコンベア上の前記第1の被搬送物の上面を均すゲートと、搬送経路において前記ゲートの下流に設けられ、前記ベルトコンベア上の前記第1の被搬送物上に粉体状の第2の被搬送物を供給する粉体供給部とを備え、
前記ゲートに対し下方に突出する凸部が設けられ、前記凸部によって前記第1の被搬送物の幅方向の中央部に凹部が形成され、
前記粉体供給部は、前記凹部に前記第2の被搬送物を供給する搬送装置。
続きを表示(約 1,000 文字)
【請求項2】
前記第2の被搬送物の上面を所定の高さに均す第2のゲートが設けられる請求項1に記載の搬送装置。
【請求項3】
前記凸部は、上下方向に位置を変更可能に設けられる請求項1に記載の搬送装置。
【請求項4】
前記第1の被搬送物を受けて前記ベルトコンベア上に供給するホッパーが設けられ、
前記ゲートは前記ホッパーに設けられ、前記凸部は、上下方向に位置を変更可能に前記ホッパーによって支持される請求項3に記載の搬送装置。
【請求項5】
前記凸部の幅は、下方に向かうに従って小さくなる請求項1から4のいずれかに記載の搬送装置。
【請求項6】
前記粉体供給部は、前記第2の被搬送物を受ける第2のホッパーであり、前記第2のホッパーは、前記第2の被搬送物を前記凹部に落とす供給口と、前記供給口の下流で上下に延びる下流側壁部とを備え、
前記第2のゲートは、前記下流側壁部を切り欠いた開口部である請求項2に記載の搬送装置。
【請求項7】
前記第2のホッパーは、前記供給口の上流で上下に延びる上流側壁部を備え、
前記凸部は、前記上流側壁部の下端部に形成される請求項6に記載の搬送装置。
【請求項8】
前記第1の被搬送物を受けて前記ベルトコンベア上に供給するホッパーが設けられ、
前記ゲートは前記ホッパーに設けられ、
前記第2のホッパーは、上下方向に位置を変更可能に前記ホッパーに取り付けられ、前記凸部は、前記第2のホッパーの位置が上下に変更されることで、前記ゲートに対する突出量が変更される請求項7に記載の搬送装置。
【請求項9】
前記第1の被搬送物を受けるとともに下面の開口から前記ベルトコンベア上に前記第1の被搬送物を供給するホッパーと、前記粉体供給部とを備えるホッパー装置を備え、
前記ゲート及び前記凸部は前記ホッパー装置に設けられ、
前記ベルトコンベアの上面から前記開口までの高さを変更可能に前記ホッパー装置を支持する高さ調整機構を備える請求項1に記載の搬送装置。
【請求項10】
前記第2の被搬送物の上面を所定の高さに均す第2のゲートが前記粉体供給部に設けられる請求項9に記載の搬送装置。
(【請求項11】以降は省略されています)
発明の詳細な説明
【技術分野】
【0001】
本発明は、搬送装置に関する。
続きを表示(約 1,500 文字)
【背景技術】
【0002】
従来、ホッパーからベルトコンベア上に供給される土等の粉体状の被搬送物の上面を、ベルトコンベアの搬送経路上に設けたゲートで平らに均し、被搬送物の高さを均一化する搬送装置が知られている(例えば、特許文献1参照)。
【先行技術文献】
【特許文献】
【0003】
特開2007-314269号公報
【発明の概要】
【発明が解決しようとする課題】
【0004】
ところで、ベルトコンベア上の第1の被搬送物に対し、粉体状の第2の被搬送物を上方から供給し、第1の被搬送物及び第2の被搬送物を一緒に搬送する場合がある。この場合、第1の被搬送物と第2の被搬送物との比率を一定にした状態で搬送することが望まれる。しかし、第1の被搬送物及び第2の被搬送物は、粉体状であるため、水分等の影響によって塊ができ易く、ベルトコンベア上にムラ無く供給することが難しい。このため、第1の被搬送物及び第2の被搬送物を、第1の被搬送物と第2の被搬送物との比率を均一にした状態でベルトコンベアによって搬送することは困難であった。
【0005】
このような点に鑑み、本発明は、第1の被搬送物及び第2の被搬送物を、第1の被搬送物と第2の被搬送物との比率を均一にした状態で搬送できるようにすることを目的とする。
【課題を解決するための手段】
【0006】
本発明は、粉体状の第1の被搬送物を搬送するベルトコンベアと、前記ベルトコンベア上の前記第1の被搬送物の上面を均すゲートと、搬送経路において前記ゲートの下流に設けられ、前記ベルトコンベア上の前記第1の被搬送物上に粉体状の第2の被搬送物を供給する粉体供給部とを備え、前記ゲートに対し下方に突出する凸部が設けられ、前記凸部によって前記第1の被搬送物の幅方向の中央部に凹部が形成され、前記粉体供給部は、前記凹部に前記第2の被搬送物を供給する搬送装置である。
【発明の効果】
【0007】
本発明の搬送装置によれば、第1の被搬送物及び第2の被搬送物を、第1の被搬送物と第2の被搬送物との比率を均一にした状態で搬送できる。
【図面の簡単な説明】
【0008】
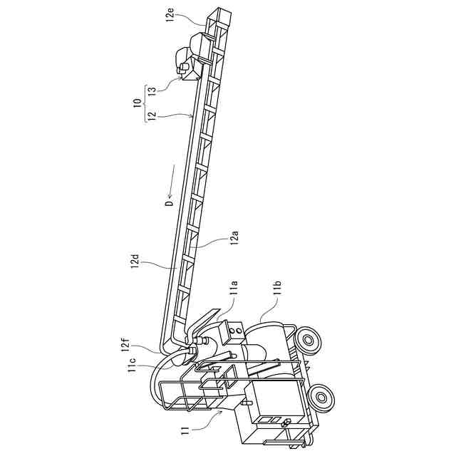
本発明の第1の実施の形態に係る搬送装置、及び吹付機を示す斜視図である。
搬送装置の斜視図である。
ホッパー装置の斜視図である。
ホッパー装置を搬送方向の下流側から見た図である。
搬送装置による搬送状態を模式的に示す側面図である。
図5のVI-VI断面図である。
図5のVII-VII断面図である。
第2の実施の形態におけるホッパー装置を上方側から見た斜視図である。
ホッパー装置を下方側から見た斜視図である。
図8のX-X断面図である。
ホッパー装置を下流側から見た図である。
【発明を実施するための形態】
【0009】
以下、添付の図面を参照しながら、本発明に従う搬送装置の実施形態について説明する。
【0010】
[第1の実施の形態]
図1は、本発明の第1の実施の形態に係る搬送装置10、及び吹付機11を示す斜視図である。
吹付機11は、搬送装置10から供給される吹付材を、吹付対象に吹き付ける。吹付機11は、例えば、法面の保護を目的として、法面にモルタルを吹き付ける吹付工事に使用される。
(【0011】以降は省略されています)
この特許をJ-PlatPat(特許庁公式サイト)で参照する
関連特許
日特建設株式会社
ボーリング装置
6か月前
日特建設株式会社
立坑壁面の安定化構造及びその施工方法
21日前
日特建設株式会社
高圧噴射撹拌工法で用いられるモニタリング方法
5日前
株式会社安藤・間
曲がり計測装置、曲がり計測方法
20日前
株式会社安藤・間
データ通信システム、及びデータ通信方法
20日前
鹿島建設株式会社
グラウチングシステム
20日前
鹿島建設株式会社
グラウチングシステム
20日前
株式会社安藤・間
ボーリング孔監視システム、及びボーリング孔監視方法
20日前
個人
箱
12か月前
個人
収容箱
2か月前
個人
ゴミ箱
11か月前
個人
コンベア
4か月前
個人
段ボール箱
6か月前
個人
容器
8か月前
個人
ゴミ収集器
6か月前
個人
段ボール箱
6か月前
個人
バンド
1か月前
個人
宅配システム
6か月前
個人
角筒状構造体
4か月前
個人
楽ちんハンド
4か月前
個人
土嚢運搬器具
7か月前
個人
パウチ補助具
11か月前
個人
お薬の締結装置
5か月前
個人
廃棄物収容容器
2か月前
個人
包装容器
19日前
個人
コード類収納具
7か月前
個人
閉塞装置
9か月前
個人
把手付米袋
4か月前
株式会社バンダイ
物品
今日
株式会社コロナ
梱包材
4か月前
個人
積み重ね用補助具
2か月前
個人
貯蔵サイロ
6か月前
株式会社和気
包装用箱
8か月前
個人
蓋閉止構造
3か月前
個人
蓋閉止構造
3か月前
個人
ゴミ処理機
8か月前
続きを見る
他の特許を見る