TOP
|
特許
|
意匠
|
商標
特許ウォッチ
Twitter
他の特許を見る
公開番号
2025044557
公報種別
公開特許公報(A)
公開日
2025-04-02
出願番号
2023152192
出願日
2023-09-20
発明の名称
自動循環式索道の搬器間隔規制装置
出願人
日本ケーブル株式会社
代理人
主分類
B61B
11/00 20060101AFI20250326BHJP(鉄道)
要約
【課題】自動循環式索道において各搬器間の間隔を適正に保つための基準となる搬器を正確に設定して運用することを課題とする。
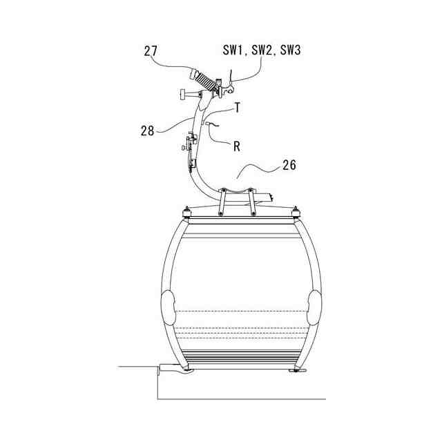
【解決手段】搬器間の間隔の基準となる基準搬器26aには搬器情報を記録したIDタグTを備え、停留場内には、索条18の移動によりパルス信号を発信する索条移動量検出器50と、IDタグTの情報を読み取るIDリーダーRと、搬器26の通過を検出する搬器検出スイッチSW1と、を備え、基準搬器26aを搬器検出スイッチSW1が検出するとパルスのカウントを開始し、パルスのカウント数を判定することにより基準搬器26aの後続の搬器26を可変速で移送して搬器間隔を調整する。
【選択図】図4
特許請求の範囲
【請求項1】
複数の搬器を線路中に等間隔で配置して運行を行う自動循環式索道において、前記搬器間の間隔の基準となる基準搬器には搬器情報を記録したIDタグを備え、停留場内には、索条の移動によりパルス信号を発信する索条移動量検出器と、前記IDタグの情報を読み取るIDリーダーと、前記搬器の通過を検出する搬器検出スイッチと、を備え、前記基準搬器を前期搬器検出スイッチが検出するとパルスのカウントを開始し、該パルスのカウント数を判定することにより前記基準搬器の後続の前記搬器を可変速で移送して搬器間隔を調整することを特徴とする自動循環式索道の搬器間隔規制装置。
続きを表示(約 92 文字)
【請求項2】
前記搬器間隔を調整する区間には、所定の間隔をあけて複数の前記搬器検出スイッチを配置したことを特徴とする請求項1に記載の自動循環式索道の搬器間隔規制装置。
発明の詳細な説明
【技術分野】
【0001】
本発明は、自動循環式索道において、搬器間の間隔を一定の間隔に制御する搬器間隔規制装置に関する。
続きを表示(約 1,900 文字)
【背景技術】
【0002】
自動循環式索道設備は、両端の停留場に配設された各滑車間に索条を無端状に張架し、この索条に搬器を懸垂して停留場間を循環させ運行を行うものであって、山岳地の観光用輸送設備やスキー場における輸送設備として多く用いられており、一般に良く知られている。また近時には、博覧会等の会場内の輸送設備としても利用されており、都市あるいは地域交通手段としての用途にも注目されている。
【0003】
自動循環式索道設備における運行は、概略次のように行われる。まず、索道線路中には、複数の搬器が所定の間隔で配置されており、これら搬器に具えた握索機が索条を握索し、索条の移動とともに搬器が移動する。搬器が停留場に到着すると、停留場内に高架した本線レールに搬器の握索機が乗り移り、次いで握索機が索条を放索して本線レール上を走行する。本線レールに沿っては搬器の移送装置が配設されており、到着した搬器はこの移送装置により減速され、減速が完了した後に微速で移送されながら乗客の降車が行われる。この後搬器は、本線レールに沿ってU字状に出発側へ回送され、搬器が微速で移動しながら乗客の乗車が行われる。そして、乗車が完了すると搬器は移送装置により再び加速させられ、索条の速度と同一になると索条を握索し、索条に懸垂されて索道線路中へと出発する。以上の動作は、所定間隔で配置された搬器が次々に停留場に到着するごとに順次行なわれる。
【0004】
このような自動循環式索道においては、搬器間の間隔が常に一定の間隔に保たれることが重要である。例えば、搬器間隔が所定間隔を保持できない場合には、この状態が積み重なることにより索条に負荷する荷重が局部的に大きくなったり、上り線側と下り線側の負荷荷重が不均衡となり運転制御上の問題を生じてしまう。また、搬器間隔が所定より短くなった場合には、停留場内で搬器同士の接触や衝突が生じ、いわゆるダンゴ状態となって運行が不可能になってしまう。
【0005】
このような状態となるのを防止するために、次のような技術が従来から知られている。この従来の技術においては、停留場内の受索輪や滑車の回転からパルス信号を発生させ、このパルス信号により停留場に到着した搬器間の間隔を検出し、間隔が所定間隔でない場合には搬器の移動速度を変化させて所定の間隔となるようにしている(例えば、特許文献1参照)。そして、このような従来技術においては、一の搬器を基準となる搬器と定めて、この搬器が停留場内の所定位置を通過した時点から後続の搬器が所定位置を通過する間のパルス数を計数して、このパルス数と正規の搬器間隔のパルス数を比較することにより、上記のように搬器の速度調節を行って搬器間隔を調整するようにしている。
【0006】
そして上記基準搬器の設定は、次のようにして設定される。まず、基準搬器が索道線路を一循環する移動距離に対応するパルス数を算出し、これを全周パルスとする。基準搬器が停留場内の所定位置を通過するとパルス数のカウントを開始する。パルスのカウント数が全周パルスに達したときに、前期所定位置を通過した搬器を基準搬器として判定する。以降、全周パルスがカウントされる毎に上記のように基準搬器が設定される。
【先行技術文献】
【特許文献】
【0007】
特開平9-123905号公報
【発明の概要】
【発明が解決しようとする課題】
【0008】
上記の従来技術においては、固定値の全周パルスにより基準搬器を判定していたが、実際の搬器が一循環するパルス数は、乗車人員、気温等、索道運行の諸条件や、パルス信号を取得する受索輪や滑車の外径の摩耗状況や索条の巻き掛け状態等の状況により常に一定の数値ではなく、このために基準搬器を誤認識したり特定できない場合があった。
【0009】
また、索道の運行を行う係員は、基準搬器の番号とパルスのカウント値の関係を理解し、運行中にこれらの関係にずれが生じてないことを確認する必要があった。
【0010】
本発明は、このような事情に鑑みてなされたものであって、自動循環式索道において各搬器間の間隔を適正に保つための基準となる搬器を正確に設定して運用することのできる搬器間隔制御装置を提供することを目的としている。
【課題を解決するための手段】
(【0011】以降は省略されています)
この特許をJ-PlatPat(特許庁公式サイト)で参照する
関連特許
個人
車両及び走行システム
6か月前
日本信号株式会社
ホーム柵
2か月前
日本信号株式会社
検査装置
10か月前
日本信号株式会社
ホーム柵
1か月前
近畿車輌株式会社
耐火床構造
26日前
日本信号株式会社
ホーム柵装置
6か月前
日本車輌製造株式会社
鉄道車両
18日前
保線機器整備株式会社
保線用カート
8か月前
近畿車輌株式会社
鉄道車両の床構造
10か月前
ナブテスコ株式会社
ホームドア装置
2か月前
カヤバ株式会社
鉄道車両用制振装置
10か月前
日本信号株式会社
列車接近警報装置
2か月前
近畿車輌株式会社
鉄道車両の床構造
10か月前
川崎車両株式会社
鉄道車両用パネル
8か月前
日本車輌製造株式会社
台車組立装置
4か月前
近畿車輌株式会社
鉄道車両の床構造
10か月前
日本信号株式会社
物体検知装置
6か月前
株式会社東芝
台車搬送装置
22日前
日本信号株式会社
ホーム安全システム
6か月前
日本信号株式会社
ホームドア制御装置
3か月前
日本信号株式会社
踏切道監視システム
10か月前
日本ケーブル株式会社
索道の支索引留め装置
2か月前
株式会社ダイフク
搬送車
5か月前
前川鉄工株式会社
ロープ駆動装置
11か月前
ヤマハ発動機株式会社
無人搬送車
6か月前
ヤマハ発動機株式会社
無人搬送車
6か月前
株式会社日立製作所
鉄道車両
1か月前
日本信号株式会社
列車接近警報システム
2日前
シャープ株式会社
表示装置
11か月前
ヤマハ発動機株式会社
無人搬送車
4か月前
ヤマハ発動機株式会社
無人搬送車
6か月前
株式会社ダイフク
搬送設備
6か月前
株式会社京三製作所
車上装置
7か月前
オークラ輸送機株式会社
無人搬送車
26日前
日本製鉄株式会社
鉄道車両
8か月前
株式会社 空スペース
跨座式モノレールシステム
9か月前
続きを見る
他の特許を見る