TOP
|
特許
|
意匠
|
商標
特許ウォッチ
Twitter
他の特許を見る
10個以上の画像は省略されています。
公開番号
2025140577
公報種別
公開特許公報(A)
公開日
2025-09-29
出願番号
2024040065
出願日
2024-03-14
発明の名称
無人搬送車
出願人
オークラ輸送機株式会社
代理人
個人
,
個人
主分類
B61B
13/00 20060101AFI20250919BHJP(鉄道)
要約
【課題】アームの動きを任意に制限できる無人搬送車を提供する。
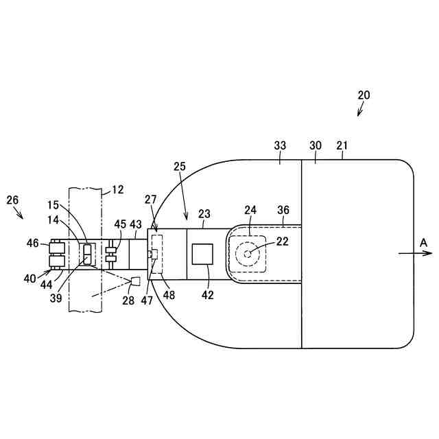
【解決手段】牽引物を牽引する無人搬送車20である。無人搬送車20は、搬送車本体21と、旋回軸22と、アーム23と、連結機構26と、ブレーキ装置24とを備える。搬送車本体21は、駆動車輪31を有する。旋回軸は、搬送車本体21に、搬送車本体21の進行方向Aに対して交差する上下方向に設けられる。アームは、旋回軸22を中心に旋回自在に設けられる。連結機構26は、アーム23に設けられ、牽引物10と連結する。ブレーキ装置24は、搬送車本体21に対してアーム23を任意の旋回位置に保持する。
【選択図】図2
特許請求の範囲
【請求項1】
牽引物を牽引する無人搬送車であって、
駆動車輪を有する搬送車本体と、
前記搬送車本体に設けられ、前記搬送車本体の進行方向に対して交差する上下方向の旋回軸と、
前記旋回軸を中心に旋回自在に設けられたアームと、
前記アームに設けられ、前記牽引物と連結する連結機構と、
前記搬送車本体に対して前記アームを任意の旋回位置に保持する保持装置と
を備えることを特徴とする無人搬送車。
続きを表示(約 1,300 文字)
【請求項2】
前記連結機構は、前記牽引物に設けられた連結孔に進入して連結する挿入体を有し、
前記保持装置は、前記連結機構が動作して前記挿入体を前記連結孔へ向けて連結移動させる際に、前記挿入体に所定以上の負荷が掛かると前記アームの旋回を可能とする保持力で前記アームを保持する
ことを特徴とする請求項1に記載の無人搬送車。
【請求項3】
前記連結機構は、前記牽引物に設けられた連結孔に進入して連結する挿入体を有し、
前記保持装置は、前記連結機構が動作して前記挿入体を前記連結孔へ向けて移動させる際には、前記連結孔へ向けて移動する前記挿入体の先端側が前記牽引物の前記連結孔に進入する中間位置まで前記アームを保持し、前記挿入体が前記中間位置からさらに進入移動する際に前記アームの保持を解除する
ことを特徴とする請求項1に記載の無人搬送車。
【請求項4】
前記搬送車本体および前記連結機構のいずれか一方に設けられた位置決め部材と、他方に設けられ、溝の先端部へ向けて傾斜するガイド溝を有するガイド部材とを有し、前記位置決め部材が前記ガイド部材の前記ガイド溝に嵌ることで、前記搬送車本体に対して前記アームの旋回位置を位置決め保持する位置決め保持機構を備え、
前記保持装置は、前記連結機構が動作して前記位置決め部材を前記溝の前記先端部に移動させる際に、前記位置決め部材の少なくとも一部が前記ガイド溝に進入する中間位置まで前記保持装置により前記アームを保持し、前記位置決め部材が前記中間位置から前記溝の前記先端部に向けて移動する際には前記アームの保持を解除する
ことを特徴とする請求項1に記載の無人搬送車。
【請求項5】
前記保持装置の保持力は、前記アームが自重で旋回方向に動くのを制限する範囲にある
ことを特徴とする請求項1ないし4のいずれか一項に記載の無人搬送車。
【請求項6】
前記搬送車本体と連結された前記牽引物を旋回させて牽引する方向を変更する際、前記搬送車本体の進行方向が前記牽引物の旋回中心を中心とする円弧の接線方向に向くように前記旋回軸を中心として前記搬送車本体がスピン回転した状態で、前記保持装置が前記アームを保持し、前記アームが保持された状態で、前記搬送車本体が前記牽引物の前記旋回中心を中心とした円弧軌道を走行する
ことを特徴とする請求項1に記載の無人搬送車。
【請求項7】
前記牽引物が有する複数の車輪のうち、前記搬送車本体が移動旋回する側に位置する前記車輪を前記旋回中心とする
ことを特徴とする請求項6に記載の無人搬送車。
【請求項8】
前記保持装置は、保持力を可変制御可能とし、
前記牽引物に前記連結機構を連結する際または前記牽引物から前記連結機構の連結を解除する際には前記保持装置による保持力を第1のトルク値として前記アームを保持し、前記牽引物に前記連結機構を連結した状態で前記保持装置が動作して前記アームを保持する際には前記保持装置による保持力を前記第1のトルク値よりも大きい第2のトルク値として前記アームを保持する
ことを特徴とする請求項1に記載の無人搬送車。
発明の詳細な説明
【技術分野】
【0001】
本発明は、牽引物を牽引する無人搬送車に関する。
続きを表示(約 1,400 文字)
【背景技術】
【0002】
従来、例えば下記の特許文献1に記載されているように、牽引物を牽引する無人搬送車が知られている。この無人搬送車は、搬送車本体に設けられた上下方向の旋回軸にアームが旋回自在に設けられ、このアームを牽引物に連結して牽引するようにしている。無人搬送車は連結した牽引物を牽引しながらカーブすることがあるため、アームは旋回軸を中心に自由に旋回可能としている。
【先行技術文献】
【特許文献】
【0003】
特開2023-125625号公報
【発明の概要】
【発明が解決しようとする課題】
【0004】
上記無人搬送車は、アームを自由に旋回可能としているが、アームの旋回を自由状態と制限状態とに切り換えられれば、アームをより多様な状況に対応させることが可能となる。
【0005】
本発明が解決しようとする課題は、アームの動きを任意に制限できる無人搬送車を提供することにある。
【課題を解決するための手段】
【0006】
本発明の無人搬送車は、牽引物を牽引する無人搬送車であって、駆動車輪を有する搬送車本体と、前記搬送車本体に設けられ、前記搬送車本体の進行方向に対して交差する上下方向の旋回軸と、前記旋回軸を中心に旋回自在に設けられたアームと、前記アームに設けられ、前記牽引物と連結する連結機構と、前記搬送車本体に対して前記アームを任意の旋回位置に保持する保持装置とを備える。
【発明の効果】
【0007】
本発明によれば、アームの動きを任意に制限可能な無人搬送車を提供できる。
【図面の簡単な説明】
【0008】
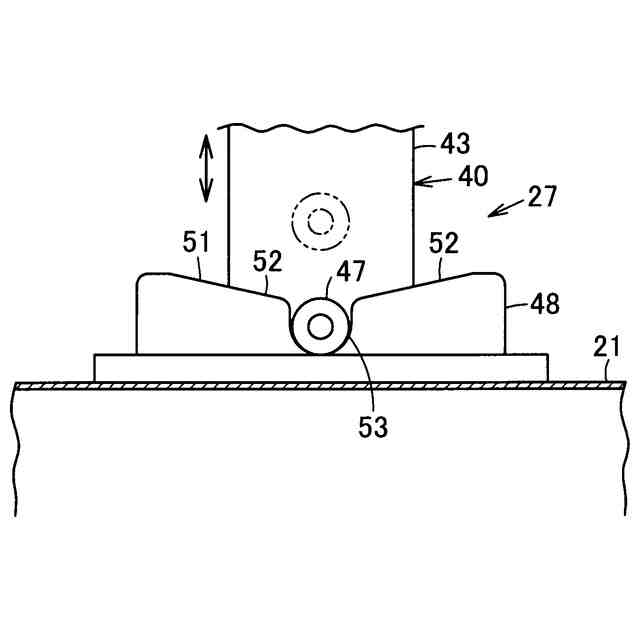
本発明の一実施の形態を示す無人搬送車が牽引する牽引物の斜視図である。
同上無人搬送車の側面図である。
同上無人搬送車の平面図である。
同上無人搬送車の位置決め保持機構の正面図である。
同上無人搬送車を備えた搬送システムのブロック図である。
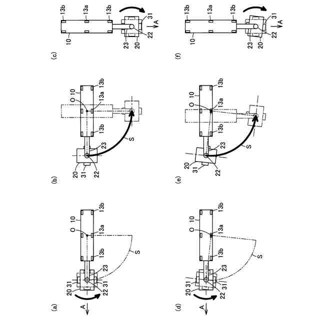
同上無人搬送車と牽引物との連結動作を(a)~(c)と(d)~(f)に示す説明図である。
同上無人搬送車の位置決め保持機構の位置決め保持動作を(a)~(c)と(d)~(f)に示す説明図である。
同上無人搬送車の牽引動作を(a)~(c)、(d)~(f)に示す説明図である。
同上無人搬送車の牽引動作を(a)~(b)、(c)~(d)、(e)~(f)に示す説明図である。
【発明を実施するための形態】
【0009】
以下、本発明の一実施の形態を、図面を参照して説明する。
【0010】
図1に無人搬送車が牽引対象とする牽引物10の一例を示す。牽引物10は、床面等の走行面上を走行可能とする例えば台車であり、詳しくはカートラックを例に説明する。牽引物10は、長尺状の荷台部11と、この荷台部11の下面側で長手方向の両端および中央の各位置に配設された複数の枠部12と、これら枠部12の下面側に配設された複数の車輪13とを備えている。牽引物10は、荷台部11の長手方向(前後方向)の一方または他方に向けた方向に走行可能とする。
(【0011】以降は省略されています)
この特許をJ-PlatPat(特許庁公式サイト)で参照する
関連特許
日本信号株式会社
ホーム柵
1か月前
個人
車両及び走行システム
5か月前
日本信号株式会社
検査装置
9か月前
日本信号株式会社
ホーム柵
1か月前
近畿車輌株式会社
耐火床構造
9日前
日本信号株式会社
ホーム柵装置
6か月前
日本車輌製造株式会社
鉄道車両
1日前
近畿車輌株式会社
鉄道車両の床構造
10か月前
日本車輌製造株式会社
台車組立装置
4か月前
日本信号株式会社
列車接近警報装置
2か月前
ナブテスコ株式会社
ホームドア装置
2か月前
保線機器整備株式会社
保線用カート
8か月前
カヤバ株式会社
鉄道車両用制振装置
9か月前
近畿車輌株式会社
鉄道車両の床構造
10か月前
近畿車輌株式会社
鉄道車両の床構造
10か月前
川崎車両株式会社
鉄道車両用パネル
7か月前
日本信号株式会社
ホーム安全システム
6か月前
株式会社東芝
台車搬送装置
5日前
日本信号株式会社
物体検知装置
6か月前
日本ケーブル株式会社
索道の支索引留め装置
2か月前
日本信号株式会社
踏切道監視システム
10か月前
日本信号株式会社
ホームドア制御装置
3か月前
株式会社ダイフク
搬送車
4か月前
ヤマハ発動機株式会社
無人搬送車
6か月前
株式会社日立製作所
鉄道車両
13日前
株式会社ダイフク
搬送設備
5か月前
シャープ株式会社
表示装置
11か月前
ヤマハ発動機株式会社
無人搬送車
6か月前
ヤマハ発動機株式会社
無人搬送車
6か月前
ヤマハ発動機株式会社
無人搬送車
4か月前
前川鉄工株式会社
ロープ駆動装置
11か月前
オークラ輸送機株式会社
無人搬送車
9日前
株式会社京三製作所
車上装置
6か月前
日本製鉄株式会社
鉄道車両
7か月前
日本信号株式会社
自動列車運転装置
2か月前
ナブテスコ株式会社
ホームドア装置
12か月前
続きを見る
他の特許を見る