TOP
|
特許
|
意匠
|
商標
特許ウォッチ
Twitter
他の特許を見る
公開番号
2025046024
公報種別
公開特許公報(A)
公開日
2025-04-02
出願番号
2023154158
出願日
2023-09-21
発明の名称
嚥下能力評価装置及びプログラム
出願人
国立大学法人広島大学
代理人
個人
主分類
A61B
5/11 20060101AFI20250326BHJP(医学または獣医学;衛生学)
要約
【課題】嚥下障害を有する被検者について、嚥下能力の回復可能性を評価可能な嚥下能力評価装置及びプログラムを提供する。
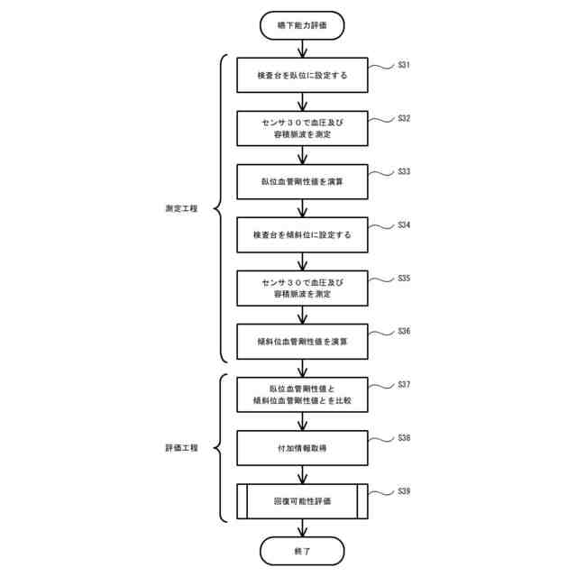
【解決手段】嚥下能力評価装置1は、ヘッドアップティルト試験における臥位で測定された血管剛性を表す臥位血管剛性値及び傾斜位で測定された血管剛性を表す傾斜位血管剛性値を取得する血管剛性値取得部113と、臥位血管剛性値と傾斜位血管剛性値との大小関係を比較し、比較結果に基づいて、嚥下障害を有する被検者の嚥下能力の回復可能性を評価する評価部114と、を備える。また、評価部114は、傾斜位血管剛性値が臥位血管剛性値以下である場合に、回復可能性が低いと評価する。
【選択図】図1
特許請求の範囲
【請求項1】
ヘッドアップティルト試験における臥位で測定された血管剛性を表す臥位血管剛性値及び傾斜位で測定された血管剛性を表す傾斜位血管剛性値を取得する血管剛性値取得部と、
前記臥位血管剛性値と前記傾斜位血管剛性値との大小関係を比較し、比較結果に基づいて、嚥下障害を有する被検者の嚥下能力の回復可能性を評価する評価部と、を備え、
前記評価部は、前記傾斜位血管剛性値が前記臥位血管剛性値以下である場合に、前記回復可能性が低いと評価する、
ことを特徴とする嚥下能力評価装置。
続きを表示(約 1,000 文字)
【請求項2】
前記被検者の遷延性意識障害、認知機能及び栄養状態のうち少なくともいずれかに関する情報を取得する付加情報取得部を備え、
前記評価部は、前記傾斜位血管剛性値が前記臥位血管剛性値より大きい場合であって、
前記被検者が遷延性意識障害を有する場合には、前記回復可能性が低いと評価し、
前記被検者が遷延性意識障害を有せず、前記被検者の認知機能が低下している場合及び栄養状態が不良である場合には、前記回復可能性が中程度であると評価し、
前記被検者が遷延性意識障害を有せず、前記被検者の認知機能が低下しておらず且つ栄養状態が良好である場合には、前記回復可能性が高いと評価する、
ことを特徴とする請求項1に記載の嚥下能力評価装置。
【請求項3】
前記傾斜位血管剛性値は、前記ヘッドアップティルト試験におけるティルト完了から経過時間2分以上5分以下までの平均値である、
ことを特徴とする請求項1に記載の嚥下能力評価装置。
【請求項4】
前記傾斜位における傾斜角度は、10°以上30°以下である、
ことを特徴とする請求項1に記載の嚥下能力評価装置。
【請求項5】
前記被検者の血圧及び容積脈波を取得する生体信号取得部と、
前記血圧及び前記容積脈波と前記血管剛性との関係を表す血管剛性モデルを記憶する記憶部と、
前記血管剛性を演算する演算部と、を備え、
前記演算部は、前記生体信号取得部で取得された前記血圧及び前記容積脈波と、前記記憶部に記憶されている血管剛性モデルとに基づいて、前記臥位血管剛性値及び前記傾斜位血管剛性値を演算し、
前記血管剛性値取得部は、前記演算部で演算された前記臥位血管剛性値及び前記傾斜位血管剛性値を取得する、
ことを特徴とする請求項1に記載の嚥下能力評価装置。
【請求項6】
コンピュータを、
ヘッドアップティルト試験における臥位で測定された血管剛性を表す臥位血管剛性値及び傾斜位で測定された血管剛性を表す傾斜位血管剛性値を取得する血管剛性値取得部、
前記臥位血管剛性値と前記傾斜位血管剛性値との大小関係を比較し、前記傾斜位血管剛性値が前記臥位血管剛性値以下である場合に、嚥下障害を有する被検者の嚥下能力の回復可能性が低いと評価する評価部、
として機能させるプログラム。
発明の詳細な説明
【技術分野】
【0001】
本発明は、嚥下能力評価装置及びプログラムに関し、より詳細には、嚥下障害を有する被検者の嚥下能力の回復可能性を評価する嚥下能力評価装置及びプログラムに関する。
続きを表示(約 1,500 文字)
【背景技術】
【0002】
従来、被検者の嚥下能力を評価する方法が、種々開発されている。例えば、特許文献1では、被験者の嚥下音及び/又は嚥下動作に伴う呼吸音に係る嚥下振動測定により取得された嚥下振動データの周波数解析を行い、高周波数領域に係る指標と低周波数領域に係る指標とに基づいて被験者の嚥下能力評価を行う方法が開示されている。
【0003】
また、特許文献2では、超音波によって撮影された頸部の内部の動画である超音波動画に基づいて、頸部の内部に存在する管状器官の管壁の移動速度及び管状器官内を通過する食物の移動速度を取得する嚥下能力測定システムが開示されている。
【先行技術文献】
【特許文献】
【0004】
特開2021-74257号公報
特開2020-89613号公報
【発明の概要】
【発明が解決しようとする課題】
【0005】
嚥下能力の評価には、被検者の現在の嚥下能力を把握するために行う評価の他、何らかの理由で嚥下障害を有する被検者が将来嚥下能力を回復する見込みに関する評価等がある。特許文献1、2に係る方法は、いずれも被検者が嚥下を行う際に得られる情報を用いて被検者の現在の嚥下能力を評価するものである。したがって、被検者が嚥下することが難しい状態であって、将来嚥下能力を回復できるか否かを評価する場合には、これらの嚥下能力評価方法を用いることは難しい。
【0006】
本発明は、上述の事情に鑑みてなされたものであり、嚥下障害を有する被検者について、嚥下能力の回復可能性を評価可能な嚥下能力評価装置及びプログラムを提供することを目的とする。
【課題を解決するための手段】
【0007】
上記目的を達成するために、この発明の第1の観点に係る嚥下能力評価装置は、
ヘッドアップティルト試験における臥位で測定された血管剛性を表す臥位血管剛性値及び傾斜位で測定された血管剛性を表す傾斜位血管剛性値を取得する血管剛性値取得部と、
前記臥位血管剛性値と前記傾斜位血管剛性値との大小関係を比較し、比較結果に基づいて、嚥下障害を有する被検者の嚥下能力の回復可能性を評価する評価部と、を備え、
前記評価部は、前記傾斜位血管剛性値が前記臥位血管剛性値以下である場合に、前記回復可能性が低いと評価する。
【0008】
また、嚥下能力評価装置は、
前記被検者の遷延性意識障害、認知機能及び栄養状態のうち少なくともいずれかに関する情報を取得する付加情報取得部を備え、
前記評価部は、前記傾斜位血管剛性値が前記臥位血管剛性値より大きい場合であって、
前記被検者が遷延性意識障害を有する場合には、前記回復可能性が低いと評価し、
前記被検者が遷延性意識障害を有せず、前記被検者の認知機能が低下している場合及び栄養状態が不良である場合には、前記回復可能性が中程度であると評価し、
前記被検者が遷延性意識障害を有せず、前記被検者の認知機能が低下しておらず且つ栄養状態が良好である場合には、前記回復可能性が高いと評価する、
こととしてもよい。
【0009】
また、前記傾斜位血管剛性値は、前記ヘッドアップティルト試験におけるティルト完了から経過時間2分以上5分以下までの平均値である、
こととしてもよい。
【0010】
また、前記傾斜位における傾斜角度は、10°以上30°以下である、
こととしてもよい。
(【0011】以降は省略されています)
特許ウォッチbot のツイートを見る
この特許をJ-PlatPat(特許庁公式サイト)で参照する
関連特許
国立大学法人広島大学
直腸生検補助具
2か月前
国立大学法人広島大学
二酸化炭素吸着材の製造方法
2日前
株式会社大林組
土壌改良方法
2か月前
株式会社大林組
CO2固定量測定方法
1か月前
国立大学法人秋田大学
癌細胞増殖抑制剤
17日前
株式会社大林組
セメント組成物の製造方法
1か月前
三建産業株式会社
工業炉
2か月前
JFEスチール株式会社
情報処理装置及び方法
16日前
国立大学法人広島大学
入出力予測方法、制御器の設計方法及び制御方法
2か月前
国立大学法人広島大学
二酸化炭素分離膜の製造方法及び二酸化炭素分離膜
2か月前
国立大学法人広島大学
雌の抗老化剤
2日前
国立大学法人広島大学
ライトフィールド三次元トラッキング制御装置、方法およびプログラムならびにライトフィールド顕微鏡システム
1か月前
マツダ株式会社
発泡樹脂成形品の気泡成長予測方法、気泡成長予測装置、気泡成長予測プログラム、及び記録媒体
16日前
マツダ株式会社
発泡樹脂成形品の気泡成長予測方法、気泡成長予測装置、気泡成長予測プログラム、及び記録媒体
16日前
マツダ株式会社
発泡樹脂成形品の気泡成長予測方法、気泡成長予測装置、気泡成長予測プログラム、及び記録媒体
16日前
マツダ株式会社
発泡樹脂成形品の気泡成長予測方法、気泡成長予測装置、気泡成長予測プログラム、及び記録媒体
16日前
国立大学法人広島大学
フルエンスマップの推定方法および推定モデルの生成方法、学習済モデル、フルエンスマップの推定システム、制御プログラムおよび記録媒体
1か月前
個人
短下肢装具
2か月前
個人
前腕誘導装置
2か月前
個人
嚥下鍛錬装置
3か月前
個人
ホバーアイロン
5か月前
個人
汚れ防止シート
6日前
個人
アイマスク装置
1か月前
個人
胸骨圧迫補助具
1か月前
個人
矯正椅子
4か月前
個人
バッグ式オムツ
3か月前
個人
歯の修復用材料
3か月前
個人
陣痛緩和具
3か月前
個人
哺乳瓶冷まし容器
2か月前
個人
シャンプー
5か月前
個人
湿布連続貼り機。
1か月前
個人
歯の保護用シール
4か月前
株式会社八光
剥離吸引管
4か月前
個人
性行為補助具
2か月前
個人
治療用酸化防御装置
24日前
個人
エア誘導コルセット
1か月前
続きを見る
他の特許を見る