TOP
|
特許
|
意匠
|
商標
特許ウォッチ
Twitter
他の特許を見る
公開番号
2025103858
公報種別
公開特許公報(A)
公開日
2025-07-09
出願番号
2023221541
出願日
2023-12-27
発明の名称
工業炉
出願人
三建産業株式会社
,
ロザイ工業株式会社
,
国立大学法人広島大学
,
個人
代理人
個人
,
個人
主分類
F23C
7/02 20060101AFI20250702BHJP(燃焼装置;燃焼方法)
要約
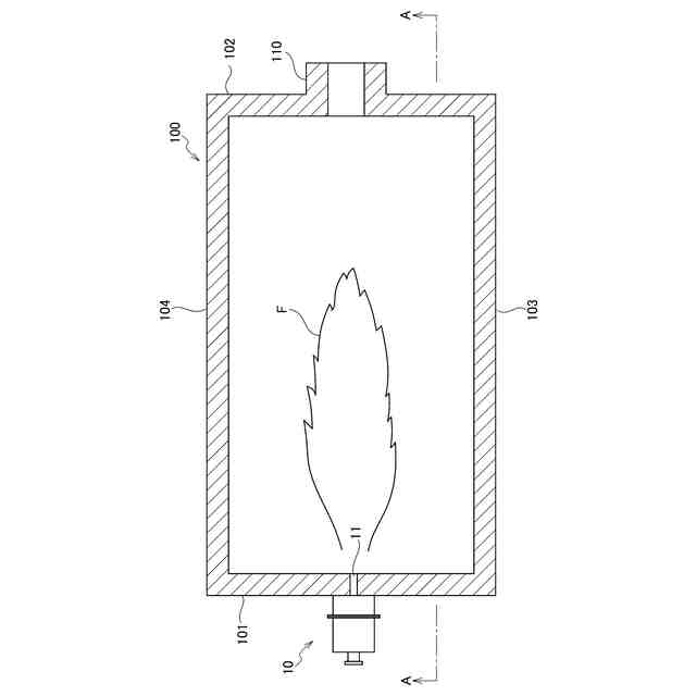
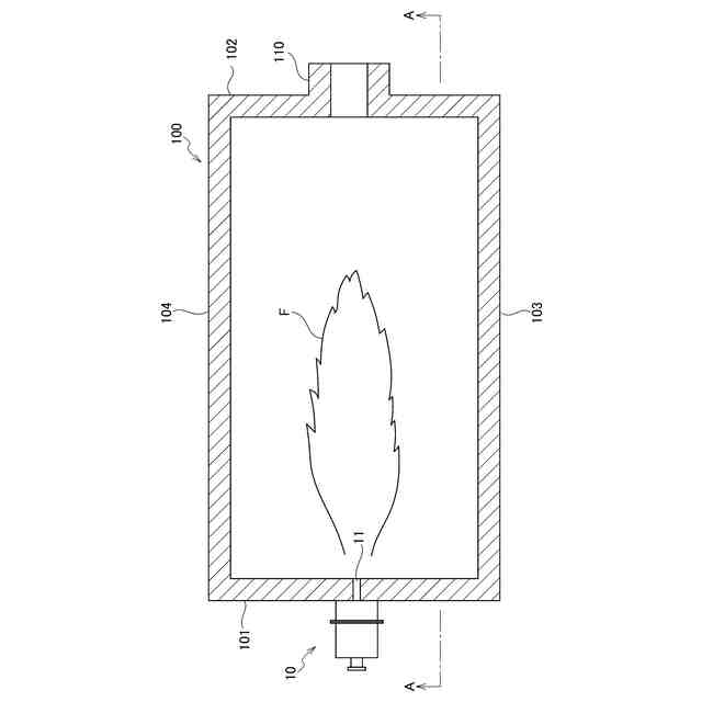
【課題】特にコスト高になることなく、窒素酸化物の低減を図りつつアンモニアを効果的に燃焼させる工業炉を提供する。
【解決手段】炉壁101に設けられたバーナ10の中央に配置され燃焼空気を炉内に吐出させるエアノズル11と、アンモニアを炉内に吐出させるアンモニアノズル12が設けられた金属または非鉄金属の工業炉100であって、エアノズル11とアンモニアノズル12を炉の側壁101に、エアノズル11に対してアンモニアノズル12を、エアノズル11の鉛直下側に一定の距離をとって配置し、エアノズル11に対してアンモニアノズル12を前記一定の距離分、水平方向にした設けた場合よりも、窒素酸化物(NO
X
)の発生を抑えた。
【選択図】図1
特許請求の範囲
【請求項1】
炉壁に設けられたバーナの中央に配置され燃焼空気を炉内に吐出させるエアノズルと、アンモニアを前記炉内に吐出させるアンモニアノズルが設けられた金属または非鉄金属の工業炉であって、
前記エアノズルと前記アンモニアノズルを前記炉の側壁に、前記エアノズルに対して前記アンモニアノズルを、前記エアノズルの鉛直下側に一定の距離をとって配置し、
前記エアノズルに対して前記アンモニアノズルを前記一定の距離分、水平方向にした設けた場合よりも、窒素酸化物(NO
X
)の発生を抑えたことを特徴とする工業炉。
続きを表示(約 420 文字)
【請求項2】
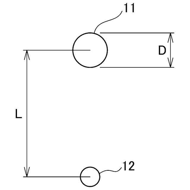
前記エアノズルの直径をDとし、前記エアノズルと前記アンモニアノズルの中心間の距離をLとした場合、L/Dの値が、1.50以上となるように前記エアノズルの位置に対して前記アンモニアノズルを配置したことを特徴とする請求項1に記載の工業炉。
【請求項3】
前記エアノズルの直径をDとし、前記エアノズルと前記アンモニアノズルの中心間の距離をLとした場合、L/Dの値が、2.00以上4.00以下となるように前記エアノズルの位置に対して前記アンモニアノズルを配置したことを特徴とする請求項1に記載の工業炉。
【請求項4】
前記アンモニアノズルから、アンモニアだけが吐出されることを特徴とする請求項1乃至3のうちいずれか一つに記載の工業炉。
【請求項5】
前記アンモニアノズルから、アンモニアと化石燃料が混合されたものが吐出されることを特徴とする請求項1乃至3のうちいずれか一つに記載の工業炉。
発明の詳細な説明
【技術分野】
【0001】
本発明は、アンモニアを燃料として燃焼させる工業炉に関するものである。
続きを表示(約 1,600 文字)
【背景技術】
【0002】
近年、地球温暖化抑制の観点から、燃焼しても二酸化炭素を発生しないアンモニアが新たな燃料として注目を集めているが、アンモニアを化石燃料と混合したりアンモニアだけで燃焼させると窒素酸化物(NO
X
)の排出量が増大することが知られている(例えば、特許文献1参照)。
【0003】
特許文献1に記載の燃焼装置は、石炭にアンモニアを加えて燃焼する場合の窒素酸化物増大の課題を解決するものである。
【0004】
アンモニアが新たな燃料として注目を集めているものの、これまでアンモニアを燃料として有効に使用する工業炉は存在せず、現状、研究開発段階にある。
それはすなわち、一般に、アンモニアの燃焼速度は天然ガスの25%程度で、燃焼させると窒素酸化物(NO
X
)の排出量が増大して規制値(180ppm、O
2
=11%換算)より高くなり、燃料として使えないことに起因する。
アンモニアを燃料とし、これまでの機器で燃焼させると、窒素酸化物(NO
X
)の排出量が規制値の3倍以上になることもある。また、脱炭素のきっかけとなる温暖化係数が二酸化炭素の250~300倍といわれる一酸化二窒素(N
2
O)を発生させることもある。
【先行技術文献】
【特許文献】
【0005】
特許第7020759号公報
【発明の概要】
【発明が解決しようとする課題】
【0006】
これに対して、本発明者らは、窒素酸化物(NO
X
)の排出量を少しでも抑えるため、燃焼空気を炉内に吐出させるエアノズルと、アンモニアを炉内に吐出させるアンモニアノズルの配置位置に着目して実験を行ったところ、エアノズルとアンモニアノズルを水平に配置したときより、エアノズルに対してその下側にアンモニアノズルを配置したときの方が、窒素酸化物(NO
X
)の排出量を抑えることができることがわかった。
【0007】
そこで、本発明の目的とするところは、特にコスト高になることなく、簡易な方法で窒素酸化物の排出を抑制しつつアンモニアを効果的に燃焼させる工業炉を提供することにある。
【課題を解決するための手段】
【0008】
上記の目的を達成するために、本発明は、炉壁(101)に設けられたバーナ(10)の中央に配置され燃焼空気を炉内に吐出させるエアノズル(11)と、アンモニアを前記炉内に吐出させるアンモニアノズル(12)が設けられた金属または非鉄金属の工業炉(100)であって、
前記エアノズル(11)と前記アンモニアノズル(12)を前記炉の側壁(101)に、前記エアノズル(11)に対して前記アンモニアノズル(12)を、前記エアノズル(11)の鉛直下側に一定の距離をとって配置し、
前記エアノズル(11)に対して前記アンモニアノズル(12)を前記一定の距離分、水平方向にした設けた場合よりも、窒素酸化物(NO
X
)の発生を抑えたことを特徴とする。
【0009】
また本発明は、前記エアノズル(11)の直径をDとし、前記エアノズル(11)と前記アンモニアノズル(12)の中心間の距離をLとした場合、L/Dの値が、1.50以上となるように前記エアノズル(11)の位置に対して前記アンモニアノズル(12)を配置したことを特徴とする。
【0010】
また本発明は、前記エアノズル(11)の直径をDとし、前記エアノズル(11)と前記アンモニアノズル(12)の中心間の距離をLとした場合、L/Dの値が、2.00以上4.00以下となるように前記エアノズル(11)の位置に対して前記アンモニアノズル(12)を配置したことを特徴とする。
(【0011】以降は省略されています)
この特許をJ-PlatPat(特許庁公式サイト)で参照する
関連特許
トヨタ自動車株式会社
インゴットの搬送装置
1か月前
個人
燃焼炉の操業方法
1か月前
個人
煙突煤払い掃除機
2か月前
個人
ウッドガスストーブ
10日前
個人
形見の製造方法
16日前
コーキ株式会社
煙突
1か月前
株式会社トヨトミ
石油燃焼器
4日前
株式会社パロマ
燃焼装置
3か月前
株式会社豊田自動織機
耐熱部材
1か月前
株式会社トヨトミ
固体燃料燃焼器
4か月前
株式会社オメガ
熱風発生装置
4か月前
三浦工業株式会社
ボイラ
6か月前
株式会社サイトウ工研
焚き火台
1日前
三浦工業株式会社
ボイラ
4か月前
個人
回転キルンを利用した燻炭製造方法
3か月前
株式会社フクハラ
充填物処理方法
3か月前
株式会社タクマ
付着物除去システム
3か月前
東京パイプ株式会社
着火器具
2か月前
リンナイ株式会社
燃焼装置
3か月前
大陽日酸株式会社
バーナ
4か月前
大陽日酸株式会社
バーナ
4か月前
三浦工業株式会社
燃焼システム
1日前
大陽日酸株式会社
バーナ
5か月前
株式会社アドバンテック
燃焼装置
22日前
株式会社アドバンテック
燃焼装置
22日前
三浦工業株式会社
水素燃焼ボイラ
23日前
リンナイ株式会社
予混合装置
6か月前
山形化成工業株式会社
手持ち式着火用具
1か月前
株式会社アドバンテック
燃焼装置
22日前
大阪瓦斯株式会社
燃焼装置
3日前
大陽日酸株式会社
燃焼バーナ
1か月前
三菱重工業株式会社
清掃装置
9日前
株式会社日本サーモエナー
ガスバーナ
3か月前
個人
可燃性ガス燃焼装置
3か月前
極東開発工業株式会社
バイオマス燃焼システム
1日前
極東開発工業株式会社
バイオマス燃焼システム
1日前
続きを見る
他の特許を見る