TOP
|
特許
|
意匠
|
商標
特許ウォッチ
Twitter
他の特許を見る
10個以上の画像は省略されています。
公開番号
2025049677
公報種別
公開特許公報(A)
公開日
2025-04-04
出願番号
2023158000
出願日
2023-09-22
発明の名称
安全装置
出願人
ミドリ安全株式会社
代理人
個人
,
個人
,
個人
,
個人
主分類
A62B
35/00 20060101AFI20250327BHJP(人命救助;消防)
要約
【課題】高所作業者に安全な状態で作業をさせるとともに、アラームの発生頻度を極力少なくすることができる安全装置を提供することを目的とする。
【解決手段】安全帯3に設置するための安全帯設置部7と、綱状体17が設置される綱状体設置部9と、綱状体設置部7に綱状体17が設置されていることを検出する綱状体検出部11と、安全帯設置部9に設置されている安全帯3を着用している着用者5の高度を検出する着用者高度検出部87、着用者高度検出部87で検出された高度の値が所定の閾値を超えているにもかかわらず、綱状体検出部11が綱状体17を検出していない場合に、アラームを発するアラーム発生部15とを有する安全装置1aである。
【選択図】図2
特許請求の範囲
【請求項1】
安全帯に設置するための安全帯設置部と、
綱状体が設置される綱状体設置部と、
前記綱状体設置部に綱状体が設置されていることを検出する綱状体検出部と、
前記安全帯設置部に設置されている安全帯を着用している着用者の高度を検出する着用者高度検出部と、
前記着用者高度検出部で検出された高度の値が所定の閾値を超えているにもかかわらず、前記綱状体検出部が綱状体を検出していない場合に、アラームを発するアラーム発生部と、
を有する安全装置。
続きを表示(約 1,300 文字)
【請求項2】
安全帯に設置するための安全帯設置部と、
綱状体が設置される綱状体設置部と、
前記綱状体設置部に綱状体が設置されていることを検出する綱状体検出部と、
前記安全帯設置部に設置されている安全帯を着用している着用者の高度を検出する着用者高度検出部と、
基準高度を検出する基準高度検出装置が発する基準高度を示す信号を受信する信号受信部と、
前記着用者高度検出部で検出された高度と、前記信号受信部で受信した基準高度との差の値が所定の閾値を超えているにもかかわらず、前記綱状体検出部が綱状体を検出していない場合に、アラームを発するアラーム発生部と、
を有する安全装置。
【請求項3】
安全帯に設置するための安全帯設置部と、
綱状体が設置される綱状体設置部と、
前記綱状体設置部に綱状体が設置されていることを検出する綱状体検出部と、
前記安全帯設置部に設置されている安全帯を着用している着用者の高度を検出する着用者高度検出部と、
所定の位置に設置されているビーコンが発する電波を受信する電波検出部と、
前記着用者高度検出部が検出している高度と、前記ビーコンが発する電波を受信し始めた直後に前記着用者高度検出部が検出した高度との差の値をもとめ、この高度の差の値が所定の閾値を超えているにもかかわらず、前記電波検出部で前記ビーコンが発する電波を受信しておりしかも前記綱状体検出部が綱状体を検出していない場合に、アラームを発するアラーム発生部と、
を有する安全装置。
【請求項4】
安全帯に設置するための安全帯設置部と、
綱状体が設置される綱状体設置部と、
前記綱状体設置部に綱状体が設置されていることを検出する綱状体検出部と、
前記安全帯設置部に設置されている安全帯を着用している着用者の高度を検出する着用者高度検出部と、
着用者高度検出部が検出している高度の、所定時間あたりの変化量の値が所定の閾値を超えたにもかかわらず、前記綱状体検出部が綱状体を検出していない場合に、アラームを発するアラーム発生部と、
を有する安全装置。
【請求項5】
前記アラーム発生部は、前記アラームを発生している状態で、前記綱状体検出部が綱状体を検出すると、前記アラームの発生を停止するように構成されている請求項1から請求項4のいずれか1項に記載の安全装置。
【請求項6】
金属材料もしくは金属材料と同等の強度を持つ材料で構成されているベース体を備えて構成されており、
前記安全帯設置部は前記ベース体の一方の側に設けられており、綱状体設置部は前記ベース体の一方の側に設けられている請求項1から請求項4のいずれか1項に記載の安全装置。
【請求項7】
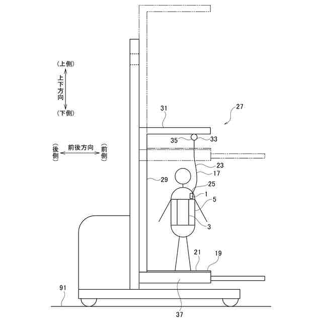
前記綱状体は、ピッキングフォークリフトに設置されている安全ブロックのロープに設けられているフックである請求項1から請求項4のいずれか1項に記載の安全装置。
発明の詳細な説明
【技術分野】
【0001】
本発明は、安全装置に係り、特に、フック等が設置され安全帯に設置されて使用されるものに関する。
続きを表示(約 1,300 文字)
【背景技術】
【0002】
ピッキングフォークリフトに搭乗して作業をする等、高所で作業する場合、高所作業者が装着している安全帯をフックへ掛け忘れることを防止することが重要である。
【0003】
そこで、安全ベルトを繋ぐセフティバと、安全ベルトがセフティバに繋がれているか否かを検出する光センサと、安全ベルトがセフティバに繋がれていないことを警報する赤色パトライトを備えた落下防止装置が、従来より知られている(特許文献1参照)。
【0004】
これにより、作業者に安全ベルトの装着を喚起させ、安全ベルトを装着した安全な状態で作業させるようにしている。
【先行技術文献】
【特許文献】
【0005】
特開2004-18212号公報
【発明の概要】
【発明が解決しようとする課題】
【0006】
ところで、従来の落下防止装置では、ピッキングフォークリフトのキースイッチがオンにされピッキングフォークリフトが稼働可能状態になったときに、安全ベルトがセフティバに繋がれていなければ、警報(アラーム)が発せられるようになっている。
【0007】
しかし、これでは、アラームの発生頻度が高まり、ピッキングフォークリフトの操作者およびピッキングフォークリフトの近くにいる作業者が、鬱陶しく感じるおそれがある。さらに、頻繁にアラームが発せられると、ピッキングフォークリフトの操作者等に慣れが生じてしまい、注意散漫状態に陥るおそれがある。
【0008】
本発明は、ピッキングフォークリフトの操作者等の高所作業者に安全な状態で作業をさせる安全装置を提供することを目的とする。また、アラームの発生頻度を極力少なくすることができる安全装置を提供することを目的とする。
【課題を解決するための手段】
【0009】
本発明の態様に係る安全装置は、安全帯に設置するための安全帯設置部と、綱状体が設置される綱状体設置部と、前記綱状体設置部に綱状体が設置されていることを検出する綱状体検出部と、前記安全帯設置部に設置されている安全帯を着用している着用者の高度を検出する着用者高度検出部と、前記着用者高度検出部で検出された高度の値が所定の閾値を超えているにもかかわらず、前記綱状体検出部が綱状体を検出していない場合に、アラームを発するアラーム発生部とを有する安全装置である。
【0010】
本発明の態様に係る安全装置は、安全帯に設置するための安全帯設置部と、綱状体が設置される綱状体設置部と、前記綱状体設置部に綱状体が設置されていることを検出する綱状体検出部と、前記安全帯設置部に設置されている安全帯を着用している着用者の高度を検出する着用者高度検出部と、基準高度を検出する基準高度検出装置が発する基準高度を示す信号を受信する信号受信部と、前記着用者高度検出部で検出された高度と、前記信号受信部で受信した基準高度との差の値が所定の閾値を超えているにもかかわらず、前記綱状体検出部が綱状体を検出していない場合に、アラームを発するアラーム発生部とを有する安全装置である。
(【0011】以降は省略されています)
この特許をJ-PlatPat(特許庁公式サイト)で参照する
関連特許
個人
階段避難用滑り板
10か月前
個人
階段上り下り滑り板
8か月前
藤井電工株式会社
連結フック
6か月前
個人
ビル内部による救出装置
1日前
個人
高層ビルからの救助装置
20日前
個人
大地震の火災消火システム
1か月前
藤井電工株式会社
安全帯取付具
1か月前
能美防災株式会社
消火装置
10か月前
株式会社高儀
胴当てベルト
2か月前
能美防災株式会社
消火栓装置
10か月前
深田工業株式会社
発泡ノズル
10か月前
個人
高層階の降下型避難装置
6か月前
株式会社キッツ
流水検知装置
4か月前
帝国繊維株式会社
防災用車両
3か月前
ホーチキ株式会社
防災システム
10か月前
中国電力株式会社
長尺工具保持具
10か月前
ホーチキ株式会社
消火栓装置
5か月前
ホーチキ株式会社
消火栓装置
1か月前
ホーチキ株式会社
消火栓装置
10か月前
藤井電工株式会社
ストラップの保護カバー
8か月前
ホーチキ株式会社
消火栓装置
10か月前
ホーチキ株式会社
消火栓装置
4か月前
株式会社立売堀製作所
流水検知装置
3か月前
ホーチキ株式会社
消火栓装置
4か月前
ホーチキ株式会社
消火栓装置
12日前
ホーチキ株式会社
消火栓装置
3か月前
沖電気工業株式会社
筐体
7か月前
帝国繊維株式会社
保形ホース点検装置
5か月前
能美防災株式会社
消火設備
14日前
日本ドライケミカル株式会社
消火薬剤
4か月前
沖電気工業株式会社
筐体
1か月前
能美防災株式会社
放水ヘッド用キャップ
4か月前
能美防災株式会社
混合消火剤
4か月前
株式会社大林組
ドレンチャー設備
7か月前
セコム株式会社
火災監視システム
12日前
株式会社初田製作所
消火栓ボックス
5か月前
続きを見る
他の特許を見る