TOP
|
特許
|
意匠
|
商標
特許ウォッチ
Twitter
他の特許を見る
10個以上の画像は省略されています。
公開番号
2025057064
公報種別
公開特許公報(A)
公開日
2025-04-09
出願番号
2023166701
出願日
2023-09-28
発明の名称
薄膜製造方法
出願人
大陽日酸株式会社
代理人
弁理士法人志賀国際特許事務所
主分類
C23C
16/455 20060101AFI20250402BHJP(金属質材料への被覆;金属質材料による材料への被覆;化学的表面処理;金属質材料の拡散処理;真空蒸着,スパッタリング,イオン注入法,または化学蒸着による被覆一般;金属質材料の防食または鉱皮の抑制一般)
要約
【課題】インキュベーションタイムが短く全体の処理時間を短縮しやすく、基材の表面の材質に依存しにくく、さらには、平滑性に優れる薄膜が得られる原子層堆積法による薄膜製造方法を提供できる。
【解決手段】基材を収容する処理室内に、複数種類の原料ガスを順次供給して基材の表面に薄膜を形成する薄膜製造方法であって、処理室内にヒドラジンを含有する第1の原料ガスを供給する第1工程と、処理室内に金属含有化合物を含有する第2の原料ガスを供給する第2工程と、処理室内に金属含有化合物と反応する反応剤を含有する第3の原料ガスを供給する第3工程とを備え、第1工程を1回行った後に、第2工程と第3工程とを交互に複数回行うことを特徴とする薄膜製造方法。
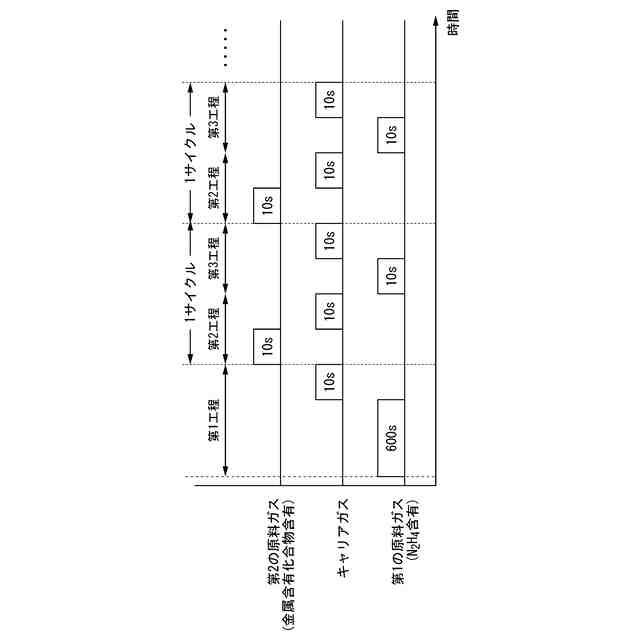
【選択図】図4
特許請求の範囲
【請求項1】
基材を収容する処理室内に、複数種類の原料ガスを順次供給して前記基材の表面に薄膜を形成する薄膜製造方法であって、
前記処理室内にヒドラジンを含有する第1の原料ガスを供給する第1工程と、
前記処理室内に金属含有化合物を含有する第2の原料ガスを供給する第2工程と、
前記処理室内に前記金属含有化合物と反応する反応剤を含有する第3の原料ガスを供給する第3工程とを備え、
前記第1工程を1回行った後に、前記第2工程と前記第3工程とを交互に複数回行うことを特徴とする薄膜製造方法。
続きを表示(約 760 文字)
【請求項2】
前記第1工程において前記第1の原料ガスを供給する供給時間が、前記第3工程において前記第3の原料ガスを供給する供給時間の2倍以上である、請求項1に記載の薄膜製造方法。
【請求項3】
前記第1工程における前記処理室内の温度が600℃以下である、請求項1に記載の薄膜製造方法。
【請求項4】
前記第3の原料ガスが反応剤としてヒドラジンを含有する、請求項1に記載の薄膜製造方法。
【請求項5】
前記第3工程における前記処理室内の温度が600℃以下である、請求項4に記載の薄膜製造方法。
【請求項6】
基材を収容する処理室内に、複数種類の原料ガスを順次供給して前記基材の表面に薄膜を形成する薄膜製造方法であって、
前記処理室内にヒドラジンを含有する第1の原料ガスを供給する第1工程と、
前記処理室内に金属含有化合物を含有する第2の原料ガスを供給する第2工程と、
前記処理室内に前記金属含有化合物と反応するヒドラジン以外の反応剤を含有し、ヒドラジンを含まない第4の原料ガスを供給する第3工程と、
前記処理室内に前記金属含有化合物を含有する第2の原料ガスを供給する第4工程とを備え、
前記第1工程と前記第2工程とを交互に複数回行い、前記基材表面に膜厚が0.1~1nmの薄膜を形成した後、前記第3工程と前記第4工程とを交互に複数回行うことを特徴とする薄膜製造方法。
【請求項7】
前記第1工程における前記処理室内の温度が600℃以下である、請求項6に記載の薄膜製造方法。
【請求項8】
前記基材が、前記基材の表面に複数種類の材質を備える請求項1~7のいずれか一項に記載の薄膜製造方法。
発明の詳細な説明
【技術分野】
【0001】
本発明は、薄膜製造方法、特に、原子層堆積法(ALD:Atomic layer deposition)による薄膜製造方法に関する。
続きを表示(約 2,600 文字)
【背景技術】
【0002】
原子層堆積法(ALD法)は、複数種類の原料ガスを交互に基材表面に供給することで膜を生成する薄膜形成方法である。原子層堆積法は、Åオーダー(0.1nmオーダー)で膜厚制御可能な成膜プロセスとして注目されている。
【0003】
原子層堆積法では、高品質の膜を形成するために、原料ガスを切り替える際に、窒素パージや真空排気の工程を挟むことが通常である。そのため、全体の処理時間が長くなりやすいという問題がある。
そこで特許文献1では、第1のプロセスガスを流したあと、窒素に代えて、第2のプロセスガスを用いて反応室内のパージを行うことにより、全体の処理時間を短縮することが提出されている。
【先行技術文献】
【特許文献】
【0004】
特開2004-281853号公報
【発明の概要】
【発明が解決しようとする課題】
【0005】
原子層堆積法においても、化学気相成長法(CVD:Chemical Vapor Deposition)と同様に、膜の形成が始まるまで、何も成膜されない時間(インキュベーションタイム)が存在する。
原子層堆積法では、このインキュベーションタイムの間においても、原料ガスを切り替える際に窒素パージ等を行い、充分なガスの置換を行うことが通常である。そのため、インキュベーションタイムが長いことは、化学気相成長法以上に、全体の処理時間に影響を与える。
特許文献1では、原料ガス切り替えの1回あたりの時間を短縮するものであるが、インキュベーションタイムにおける原料ガス切り替えの回数削減をもたらすものではなく、全体の処理時間を短縮する効果には限界があった。
【0006】
また、近年、Fin-FETなどの3次元トランジスタ構造や3D-NANDといった3次元構造の集積回路が主流となっている。
これらの半導体製造プロセスに対応するためには,異種膜を積層した積層膜に形成されたトレンチやホールなど、処理対象となる基材の表面に複数の材質が存在する場合にも均一な薄膜形成がなされることが必要である。
【0007】
ところが,処理対象となる基材の表面に複数の材質が存在すると、材質ごとにインキュベーションタイムに差が生じ、ひいては、材質ごとに、その上に形成される薄膜の厚さに差が生じてしまうという問題がある。膜厚差は平坦性を損ない、ボイドの発生要因ともなる。
そのため、膜厚が基材の表面の材質に依存しにくい成膜方法とすることが求められる。
さらに、高集積化が一段と進み、積回路の水平寸法、垂直寸法が縮小し続けていることから、形成される薄膜には優れた平滑性も求められる。
【0008】
本発明は上記事情に鑑みて、インキュベーションタイムが短い、原子層堆積法による薄膜製造方法を提供することを課題とする。また、膜厚が基材の表面の材質に依存しにくい原子層堆積法による薄膜製造方法を提供することを課題とする。また、平滑性に優れる薄膜が得られる原子層堆積法による薄膜製造方法を提供することを課題とする。
【課題を解決するための手段】
【0009】
上記の課題を達成するために、本発明は以下の構成を採用した。
[1]基材を収容する処理室内に、複数種類の原料ガスを順次供給して前記基材の表面に薄膜を形成する薄膜製造方法であって、
前記処理室内にヒドラジンを含有する第1の原料ガスを供給する第1工程と、
前記処理室内に金属含有化合物を含有する第2の原料ガスを供給する第2工程と、
前記処理室内に前記金属含有化合物と反応する反応剤を含有する第3の原料ガスを供給する第3工程とを備え、
前記第1工程を1回行った後に、前記第2工程と前記第3工程とを交互に複数回行うことを特徴とする薄膜製造方法。
[2]前記第1工程において前記第1の原料ガスを供給する供給時間が、前記第3工程において前記第3の原料ガスを供給する供給時間の2倍以上である、[1]に記載の薄膜製造方法。
[3]前記第1工程における前記処理室内の温度が600℃以下である、[1]または[2]に記載の薄膜製造方法。
[4]前記第3の原料ガスが反応剤としてヒドラジンを含有する、[1]~[3]に記載の薄膜製造方法。
[5]前記第3工程における前記処理室内の温度が600℃以下である、[4]に記載の薄膜製造方法。
[6]基材を収容する処理室内に、複数種類の原料ガスを順次供給して前記基材の表面に薄膜を形成する薄膜製造方法であって、
前記処理室内にヒドラジンを含有する第1の原料ガスを供給する第1工程と、
前記処理室内に金属含有化合物を含有する第2の原料ガスを供給する第2工程と、
前記処理室内に前記金属含有化合物と反応するヒドラジン以外の反応剤を含有し、ヒドラジンを含まない第4の原料ガスを供給する第3工程と、
前記処理室内に前記金属含有化合物を含有する第2の原料ガスを供給する第4工程とを備え、
前記第1工程と前記第2工程とを交互に複数回行い、前記基材表面に膜厚が0.1~1nmの薄膜を形成した後、前記第3工程と前記第4工程とを交互に複数回行うことを特徴とする薄膜製造方法。
[7]前記第1工程における前記処理室内の温度が600℃以下である、[6]に記載の薄膜製造方法。
[8]前記基材が、前記基材の表面に複数種類の材質を備える[1]~[7]に記載の薄膜製造方法。
【発明の効果】
【0010】
本発明によれば、インキュベーションタイムが短く全体の処理時間を短縮しやすい原子層堆積法による薄膜製造方法を提供できる。
また、基材の表面の材質に依存しにくいインキュベーションタイムを有する原子層堆積法による薄膜製造方法を提供できる。
また、平滑性に優れる薄膜が得られる原子層堆積法による薄膜製造方法を提供できる。
【図面の簡単な説明】
(【0011】以降は省略されています)
この特許をJ-PlatPat(特許庁公式サイト)で参照する
関連特許
大陽日酸株式会社
改質方法
1か月前
大陽日酸株式会社
凍結容器
2か月前
大陽日酸株式会社
培養装置
1か月前
大陽日酸株式会社
培養装置
1か月前
大陽日酸株式会社
液面センサ
1か月前
大陽日酸株式会社
燃焼バーナ
1か月前
大陽日酸株式会社
熱処理装置
1か月前
大陽日酸株式会社
気相成長装置
1か月前
大陽日酸株式会社
気相成長装置
28日前
大陽日酸株式会社
インジェクター
19日前
大陽日酸株式会社
インジェクター
19日前
大陽日酸株式会社
金属積層造形方法
7日前
大陽日酸株式会社
回転体および回転体の制御方法
17日前
大陽日酸株式会社
溶接トーチ装置および溶接方法
28日前
大陽日酸株式会社
空気分離装置及び空気分離方法
1か月前
大陽日酸株式会社
液分配器、充填塔及び空気分離装置
7日前
大陽日酸株式会社
酸素安定同位体濃縮装置およびその運転方法
1か月前
大陽日酸株式会社
混焼専焼バーナの燃焼方法および混焼専焼バーナ
7日前
大陽日酸株式会社
ヘリウム液化装置及びヘリウム液化装置の制御方法
3か月前
個人
フッ素樹脂塗装鋼板の保管方法
2か月前
株式会社京都マテリアルズ
めっき部材
7日前
株式会社カネカ
製膜装置
3日前
株式会社カネカ
製膜装置
3日前
株式会社KSマテリアル
防錆組成物
2か月前
日本化学産業株式会社
複合めっき皮膜
2か月前
台灣晶技股ふん有限公司
無電解めっき法
1か月前
東京エレクトロン株式会社
成膜方法
25日前
日東電工株式会社
積層体の製造方法
4か月前
JFEスチール株式会社
鋼部品
2か月前
東京エレクトロン株式会社
基板処理装置
4か月前
住友重機械工業株式会社
成膜装置
2か月前
住友重機械工業株式会社
成膜装置
3か月前
株式会社内村
防食具、防食具の設置方法
27日前
黒崎播磨株式会社
溶射装置
11日前
株式会社アルバック
基板ステージ装置
4日前
国立大学法人千葉大学
成膜装置及び成膜方法
1か月前
続きを見る
他の特許を見る