TOP
|
特許
|
意匠
|
商標
特許ウォッチ
Twitter
他の特許を見る
公開番号
2025123898
公報種別
公開特許公報(A)
公開日
2025-08-25
出願番号
2024019671
出願日
2024-02-13
発明の名称
燃焼バーナ
出願人
大陽日酸株式会社
代理人
個人
,
個人
,
個人
主分類
F23D
14/78 20060101AFI20250818BHJP(燃焼装置;燃焼方法)
要約
【課題】燃焼による燃焼バーナの前面の過熱を抑制できる燃焼バーナを提供する。
【解決手段】第1流体噴出口の下流端及び第2流体噴出口の下流端が位置する面を前面とし、前記第1流体噴出口から第1流体を前後方向に垂直な振動方向に振動させながら前側に噴出し、前記第2流体噴出口から第2流体を前記前側に噴出し、前記第1流体及び前記第2流体を燃焼させバーナ火炎を形成する燃焼バーナであって、前記第2流体噴出口を有する第2流体流路を内部に有し、前記第2流体流路は、前記前面に沿って延びる部分で後側に折り返す第1折返し部と、前記第1折返し部よりも下流側で前記前側に折り返す第2折返し部とを有する、燃焼バーナ。
【選択図】図2
特許請求の範囲
【請求項1】
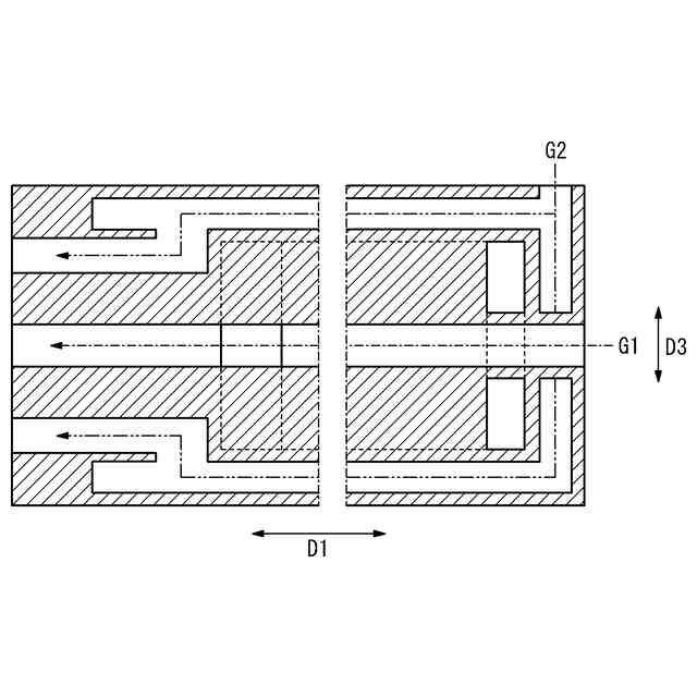
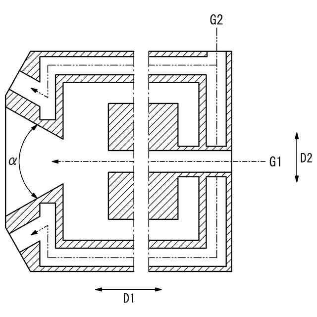
第1流体噴出口の下流端及び第2流体噴出口の下流端が位置する面を前面とし、前記第1流体噴出口から第1流体を前後方向に垂直な振動方向に振動させながら前側に噴出し、前記第2流体噴出口から第2流体を前記前側に噴出し、前記第1流体及び前記第2流体を燃焼させバーナ火炎を形成する燃焼バーナであって、
前記第2流体噴出口を有する第2流体流路を内部に有し、
前記第2流体流路は、前記前面に沿って延びる部分で後側に折り返す第1折返し部と、前記第1折返し部よりも下流側で前記前側に折り返す第2折返し部とを有する、燃焼バーナ。
続きを表示(約 490 文字)
【請求項2】
前記前後方向に垂直な垂直方向の外面である垂直方向外面を有し、
前記第2流体流路は、前記第1折返し部まで前記垂直方向外面に沿って前記前側に延びる外面冷却流路部を有する、請求項1に記載の燃焼バーナ。
【請求項3】
前記第1流体噴出口の内面は、前記振動方向において前記第1流体噴出口の幅を上流側から下流側に向けて拡大させる末広がり状部分を有し、
前記第2流体流路は、前記第1折返し部から前記第2折返し部にかけて前記第1流体噴出口の前記下流側から前記上流側に向けて前記第1流体噴出口の前記内面に沿って延びる第1流体噴出口冷却流路部を有する、請求項1に記載の燃焼バーナ。
【請求項4】
前記第1流体噴出口冷却流路部は、前記第1流体噴出口の前記内面の前記末広がり状部分に沿って延びる、請求項3に記載の燃焼バーナ。
【請求項5】
前記第1流体は燃料であり、前記第2流体は酸化剤である、請求項1に記載の燃焼バーナ。
【請求項6】
前記燃料は水素ガスである、請求項5に記載の燃焼バーナ。
発明の詳細な説明
【技術分野】
【0001】
本発明は燃焼バーナに関する。
続きを表示(約 1,100 文字)
【背景技術】
【0002】
第1流体噴出口の下流端が位置する面を前面とし、第1流体噴出口から第1流体を前後方向に垂直な振動方向に振動させながら前側に噴出し、第1流体及び第2流体を燃焼させバーナ火炎を形成する燃焼バーナが知られている(例えば特許文献1~2参照)。
【先行技術文献】
【特許文献】
【0003】
特開2005-113200号公報
特開2013-79753号公報
【発明の概要】
【発明が解決しようとする課題】
【0004】
本発明の目的は、燃焼による燃焼バーナの前面の過熱を抑制できる燃焼バーナを提供することにある。
【課題を解決するための手段】
【0005】
本発明の一態様は以下のとおりである。
【0006】
[1]
第1流体噴出口の下流端及び第2流体噴出口の下流端が位置する面を前面とし、前記第1流体噴出口から第1流体を前後方向に垂直な振動方向に振動させながら前側に噴出し、前記第2流体噴出口から第2流体を前記前側に噴出し、前記第1流体及び前記第2流体を燃焼させバーナ火炎を形成する燃焼バーナであって、
前記第2流体噴出口を有する第2流体流路を内部に有し、
前記第2流体流路は、前記前面に沿って延びる部分で後側に折り返す第1折返し部と、前記第1折返し部よりも下流側で前記前側に折り返す第2折返し部とを有する、燃焼バーナ。
【0007】
[2]
前記前後方向に垂直な垂直方向の外面である垂直方向外面を有し、
前記第2流体流路は、前記第1折返し部まで前記垂直方向外面に沿って前記前側に延びる外面冷却流路部を有する、[1]に記載の燃焼バーナ。
【0008】
[3]
前記第1流体噴出口の内面は、前記振動方向において前記第1流体噴出口の幅を上流側から下流側に向けて拡大させる末広がり状部分を有し、
前記第2流体流路は、前記第1折返し部から前記第2折返し部にかけて前記第1流体噴出口の前記下流側から前記上流側に向けて前記第1流体噴出口の前記内面に沿って延びる第1流体噴出口冷却流路部を有する、[1]又は[2]に記載の燃焼バーナ。
【0009】
[4]
前記第1流体噴出口冷却流路部は、前記第1流体噴出口の前記内面の前記末広がり状部分に沿って延びる、[3]に記載の燃焼バーナ。
【0010】
[5]
前記第1流体は燃料であり、前記第2流体は酸化剤である、[1]~[4]の何れか1項に記載の燃焼バーナ。
(【0011】以降は省略されています)
この特許をJ-PlatPat(特許庁公式サイト)で参照する
関連特許
個人
たき火台
7か月前
個人
煙突煤払い掃除機
2か月前
個人
燃焼炉の操業方法
1か月前
個人
ウッドガスストーブ
10日前
コーキ株式会社
煙突
1か月前
個人
形見の製造方法
16日前
株式会社トヨトミ
石油燃焼器
4日前
株式会社パロマ
燃焼装置
3か月前
株式会社豊田自動織機
耐熱部材
1か月前
三浦工業株式会社
ボイラ
7か月前
株式会社ノーリツ
燃焼装置
7か月前
株式会社トヨトミ
固体燃料燃焼器
4か月前
株式会社オメガ
熱風発生装置
4か月前
株式会社サイトウ工研
焚き火台
1日前
三浦工業株式会社
ボイラ
6か月前
株式会社カトー
火葬設備
7か月前
三浦工業株式会社
ボイラ
4か月前
株式会社フクハラ
充填物処理方法
3か月前
個人
回転キルンを利用した燻炭製造方法
3か月前
株式会社タクマ
付着物除去システム
3か月前
東京パイプ株式会社
着火器具
2か月前
大陽日酸株式会社
バーナ
4か月前
三浦工業株式会社
燃焼システム
1日前
リンナイ株式会社
燃焼装置
3か月前
大陽日酸株式会社
バーナ
4か月前
大陽日酸株式会社
バーナ
5か月前
株式会社アドバンテック
燃焼装置
22日前
三浦工業株式会社
水素燃焼ボイラ
23日前
中外炉工業株式会社
アンモニア燃焼設備
6か月前
山形化成工業株式会社
手持ち式着火用具
1か月前
株式会社アドバンテック
燃焼装置
22日前
株式会社アドバンテック
燃焼装置
22日前
大阪瓦斯株式会社
燃焼装置
3日前
リンナイ株式会社
予混合装置
6か月前
三菱重工業株式会社
清掃装置
9日前
大陽日酸株式会社
燃焼バーナ
1か月前
続きを見る
他の特許を見る