TOP
|
特許
|
意匠
|
商標
特許ウォッチ
Twitter
他の特許を見る
10個以上の画像は省略されています。
公開番号
2025058781
公報種別
公開特許公報(A)
公開日
2025-04-09
出願番号
2023168925
出願日
2023-09-28
発明の名称
工作機械
出願人
ブラザー工業株式会社
代理人
個人
主分類
B23Q
3/155 20060101AFI20250402BHJP(工作機械;他に分類されない金属加工)
要約
【課題】本発明は、工具交換効率が良い工作機械を提供する。
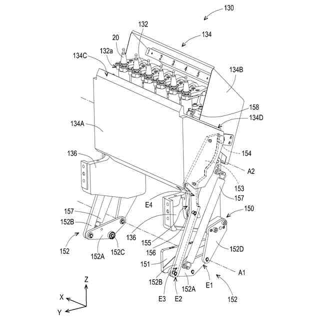
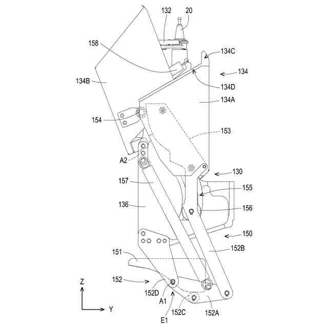
【解決手段】工作機械は、工具を取り付けるのに用いられる主軸と、主軸に取り付けられた工具によって加工されるワークを支持するためのワーク支持部と、ワーク支持部に設けられ、複数の工具を支持する工具ホルダ、及び工具ホルダの周囲を覆う開閉可能なマガジンカバー134を有する工具マガジン130と、ワーク支持部を第1方向に移動させる移動機構と、マガジンカバーを開閉させる開閉機構と、を備える。開閉機構は、第1カムと、マガジンカバーと接続され、移動機構がワーク支持部120を移動させることによって、第1カム151と当接することで、マガジンカバーを閉状態から開状態に変位させるリンク部材152と、を有する。
【選択図】図2
特許請求の範囲
【請求項1】
工具を取り付けるのに用いられる主軸と、
前記主軸に取り付けられた前記工具によって加工されるワークを支持するためのワーク支持部と、
前記ワーク支持部に設けられ、複数の工具を支持する工具ホルダ、及び前記工具ホルダの周囲を覆う開閉可能なマガジンカバーを有する工具マガジンと、
前記ワーク支持部を第1方向に移動させる移動機構と、
前記マガジンカバーを開閉させる開閉機構と、を備え、
前記開閉機構は、
第1カムと、
前記マガジンカバーと接続され、前記移動機構が前記ワーク支持部を移動させることによって、前記第1カムと当接することで、前記マガジンカバーを閉状態から開状態に変位させるリンク部材と、
を有することを特徴とする工作機械。
続きを表示(約 1,100 文字)
【請求項2】
前記第1カムは、前記第1方向における位置が、前記ワーク支持部の移動範囲と重なることを特徴とする請求項1に記載の工作機械。
【請求項3】
前記ワーク支持部を支持するベース部をさらに備え、
前記第1カムは前記ベース部に位置していることを特徴とする請求項2に記載の工作機械。
【請求項4】
前記第1方向は前後方向であり、
前記工具マガジンは、前記ワーク支持部の後方に配置されていることを特徴とする請求項1に記載の工作機械。
【請求項5】
前記マガジンカバーは、第1カバーを有し、
前記リンク部材は、
前記第1カムと当接する第1当接部を有し、前記第1カムと前記第1当接部との当接によって回動する回動リンクと、
前記回動リンク及び前記第1カバーに接続され、前記回動リンクの回動により前記第1カバーを開状態に変位されるリンクアームと、
を備えることを特徴とする請求項1乃至4のいずれかに記載の工作機械。
【請求項6】
前記第1カバーの上端部は、前記ワーク支持部に近づく方向に向かって下方に傾斜する傾斜面を有することを特徴とする請求項5に記載の工作機械。
【請求項7】
前記マガジンカバーはさらに、前記第1カバーと対向する第2カバーを有し、
前記開閉機構はさらに、
前記第1カバーに位置する第2カムと、
前記第2カムと当接し、前記第2カバーに位置する、第2当接部と、
を備え、
前記リンクアームによって前記第1カバーが前記開状態に変位される際に、前記第2カムは前記第2当接部と当接した状態で移動することで前記第2カバーが開状態に変位する
ことを特徴とする請求項5に記載の工作機械。
【請求項8】
前記開閉機構は、さらに
前記リンク部材に接続され、前記第1カバーを閉状態になるように付勢する第1付勢部材と、
前記第2カバーに接続され、前記第2カバーを閉状態になるように付勢する第2付勢部材と、
を有することを特徴とする請求項7に記載の工作機械。
【請求項9】
前記マガジンカバーの前記閉状態において、前記第1カバーの上端は前記第2カバーよりも上方に位置することを特徴とする請求項7に記載の工作機械。
【請求項10】
前記第2カバーの上端部は、前記第1カバーから離れる方向に向かって下方に傾斜する傾斜面を有することを特徴とする請求項7に記載の工作機械。
(【請求項11】以降は省略されています)
発明の詳細な説明
【技術分野】
【0001】
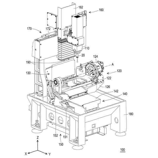
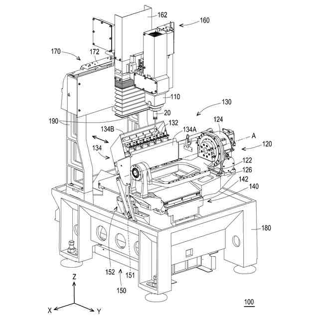
本発明は工作機械に関する。
続きを表示(約 1,600 文字)
【背景技術】
【0002】
従来、工具を使用してワークを加工する工作機械について、複数の工具を収納する工具マガジンが設けられ、加工条件に応じて必要な工具を交換することで、効率的に加工を行っている。また、このような工作機械の工具マガジンにマガジンカバーを装着することで、工具マガジンに収納された工具を保護して、加工時に供給される加工液や発生する切粉の影響(例えば、工具の交換や加工精度の低下などの影響)を避けることができる。
【0003】
一例として、特許文献1では、ワークを保持するテーブルに工具マガジンと、工具マガジンを覆うためのマガジンカバーが設けられ、加工工程でマガジンカバーを閉じることで工具マガジンに加工液や切粉が進入するのを防ぎ、工具交換工程ではマガジンカバーを開ける。特許文献1に開示された技術では、マガジンカバーの開閉動作を前後方向上のテーブルによる工具マガジンの移動に連動させている。具体的には、マガジンカバーに設けられた第1係合部材と主軸を支持する支柱に設けられた第2係合部材をテーブルによる工具マガジンの移動過程において互いに係合させ、これによりマガジンカバーの開閉状態を切り換えている。
【先行技術文献】
【特許文献】
【0004】
特開第2015-123575号公報
【発明の概要】
【発明が解決しようとする課題】
【0005】
しかしながら、特許文献1においては、マガジンカバーの開閉時にテーブルによる工具マガジンの移動速度を抑えない場合、マガジンカバーの跳ね返りや係合部材の破損などの問題が発生する可能性がある。このため、このような工作機械の工具交換効率は低い。
【課題を解決するための手段】
【0006】
本発明は、上記課題を解決する工作機械を提供するものであり、マガジンカバーの開閉動作をワーク支持部による工具マガジンの移動に相互に連動させるが、工具マガジンの移動速度を過度に下げる必要がないことから、工作機械における工具交換効率が良い。
【0007】
本発明の技術案1の実施形態による工作機械では、工具を取り付けるのに用いられる主軸と、前記主軸に取り付けられた前記工具によって加工されるワークを支持するためのワーク支持部と、前記ワーク支持部に設けられ、複数の工具を支持する工具ホルダ、及び前記工具ホルダの周囲を覆う開閉可能なマガジンカバーを有する工具マガジンと、前記ワーク支持部を第1方向に移動させる移動機構と、前記マガジンカバーを開閉させる開閉機構と、を備える工作機械を提供する。ここで、前記開閉機構は、第1カムと、前記マガジンカバーと接続され、前記移動機構が前記ワーク支持部を移動させることによって、前記第1カムと当接することで、前記マガジンカバーを閉状態から開状態に変位させるリンク部材と、を有する。
【0008】
上記実施形態によれば、マガジンカバーの開閉動作をワーク支持部による工具マガジンの移動に連動させており、工具マガジンの移動過程において、マガジンカバーと接続するリンク部材が第1カムと当接することで、マガジンカバーを第1カムのリンク部材の案内により閉状態から開状態に変位させる。これにより、第1カムの形状や位置などに応じて工具マガジンの移動速度、移動範囲などを設計できることから、工具マガジンの移動速度を過度に下げる必要がない。これにより、上記実施形態における工作機械の工具交換効率を良くできる。
【0009】
本発明の技術案2の実施形態による工作機械では、前記第1カムは、前記第1方向における位置が、前記ワーク支持部の移動範囲と重なる。
【0010】
上記実施形態によれば、工具マガジンの移動範囲に応じて第1カムの位置を設定することができる。
(【0011】以降は省略されています)
この特許をJ-PlatPat(特許庁公式サイト)で参照する
関連特許
ブラザー工業株式会社
空調機
13日前
ブラザー工業株式会社
空調機
13日前
ブラザー工業株式会社
空調機
13日前
ブラザー工業株式会社
空調機
13日前
ブラザー工業株式会社
空調機
13日前
ブラザー工業株式会社
カセット
13日前
ブラザー工業株式会社
搬送装置
1日前
ブラザー工業株式会社
カセット
13日前
ブラザー工業株式会社
工作機械
22日前
ブラザー工業株式会社
カセット
13日前
ブラザー工業株式会社
カセット
13日前
ブラザー工業株式会社
定着装置
15日前
ブラザー工業株式会社
制御装置
3日前
ブラザー工業株式会社
画像形成装置
13日前
ブラザー工業株式会社
画像形成装置
13日前
ブラザー工業株式会社
画像形成装置
7日前
ブラザー工業株式会社
画像形成装置
13日前
ブラザー工業株式会社
画像形成装置
15日前
ブラザー工業株式会社
画像形成装置
3日前
ブラザー工業株式会社
液体吐出装置
7日前
ブラザー工業株式会社
液体吐出装置
7日前
ブラザー工業株式会社
画像形成装置
21日前
ブラザー工業株式会社
画像形成装置
22日前
ブラザー工業株式会社
画像形成装置
今日
ブラザー工業株式会社
液体吐出ヘッド
3日前
ブラザー工業株式会社
液体吐出ヘッド
14日前
ブラザー工業株式会社
液体吐出ヘッド
15日前
ブラザー工業株式会社
液体吐出ヘッド
14日前
ブラザー工業株式会社
サポートプログラム
6日前
ブラザー工業株式会社
圧電アクチュエータ
14日前
ブラザー工業株式会社
システム及び管理装置
1日前
ブラザー工業株式会社
システム及びプログラム
1日前
ブラザー工業株式会社
システム及びプログラム
1日前
ブラザー工業株式会社
ミシン及びミシン制御方法
21日前
ブラザー工業株式会社
システムおよび画像形成装置
7日前
ブラザー工業株式会社
プログラム及び情報処理装置
3日前
続きを見る
他の特許を見る